|
方向控制阀的工作原理 |
|||||
|
直动式电磁阀 |
结构图 |
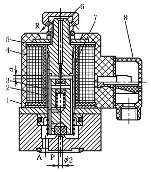
(a)二位二通直动式电磁阀 1—静铁芯;2—线圈;3—动铁芯; 4,8—弹簧;5—密封垫; 6—阀座;7—手动装置 |
(b)二位三通直动式电磁阀 1—下导磁板;2—动铁芯;3—隔磁套管; 4—线圈;5—上导磁板;6—静铁芯; 7—分磁环;8—接线盒 |
图a所示为二位二通直动式电磁阀,动铁芯为螺管式(I型),在动铁芯端部带有密封橡胶垫,可直接封住阀座孔口。这种阀的换向行程短,公称通径为0.5~2.5mm,功率低,是一种小流量阀 图b所示为二位三通直动式电磁阀,图示位置为阀处于断电关闭状态,动铁芯在弹簧力的作用下,使铁芯上的密封垫与阀座保持良好的密封。此时,P、A不通,A、R相通,阀没有输出。当通电时,动铁芯受电磁力作用被吸向上,P、A相通,排气口封闭,阀有输出 使用直动式的双电控电磁阀应特别注意的是,两侧的电磁铁不能同时通电,否则将使电磁线圈烧坏。为此,在电气控制回路上,通常设有防止同时通电的联锁回路 |
|
|
工作原理 |
1—电磁铁;2—阀芯 直动式电磁阀是利用电磁力直接推动阀杆(阀芯)换向。根据阀芯复位的控制方式,有单电控和双电控两种,图c所示为单电控直动式电磁阀工作原理图。图c1所示电磁线圈未通电时,P、A断开,阀没有输出。图c2所示电磁线圈通电时,电磁铁推动阀芯向下移动,使P→A接通,阀有输出 图d所示为双电控直动式电磁阀工作原理图,图d1所示电磁铁1通电,电磁铁2为断电状态,阀芯3被推至右侧,A口有输出,B口排气。若电磁铁1断电,阀芯位置不变,仍为A口有输出,B口排气,即阀具有记忆功能,图d2所示为电磁铁1断电、电磁铁2通电状态,阀芯被推至左侧,B口有输出,A口排气。同样,电磁铁2断电时,阀的输出状态保持不变 直动式电磁阀特点是结构简单、紧凑、换向频率高。但用于交流电磁铁时,如果阀杆卡死就有烧坏线圈的可能。阀杆的换向行程受电磁铁吸合行程的限制,因此只适用于小型阀。通常将直动式电磁阀称为电磁先导阀 |
||||
|
先导式电磁阀 |
结构及工作原理 |
先导式电磁阀是由小型直动式电磁阀和大型气控换向阀构成,又称作电控换向阀 按先导式电磁阀气控信号的来源可分为自控式(内部先导)和他控式(外部先导)两种。直接利用主阀的气源作为先导级气源来控制阀换向被称为自控式电磁阀,通常称为内先导。内先导电磁阀使用方便,但在换向的瞬间会出现压力降低的现象,特别是在输出流量过大时,有可能造成阀换向失灵。为了保证阀的换向性能或降低阀的最低工作压力,由外部供给气压作为主阀控制信号的阀称为他控式电磁阀 由先导式电磁阀的构成原理可知,有单电控、双电控、三位五通。电控换向阀的结构形式和规格极其繁多 |
|||
|
|
|||||
|
1,5—供气口;2—排气口; 3,4—输出口;14—电磁线圈 |
1—阀芯;2—线圈;3—线圈;4—弹簧 |
||||
|
图e所示为一种单电控二位五通先导电磁阀。采用了同轴截止式柔性密封结构,具有截止式和滑柱式特点,换向行程小,结构简单,摩擦力低,密封可靠,对气源净化要求较低。手动按钮可用来检查阀的工作状态及回路调试时用。它的工作原理如图h所示:在供气口1分出一条分支气路通往电磁线圈14的先导气口处(由电磁线圈中动铁芯端面橡胶封死),当电磁线圈通电时,动铁芯被吸往上移动,电磁线圈14的先导气口被打开,压缩空气通过前端盖进入阀体活塞腔室内,推动活塞向下移动,即活塞带动阀芯向下移动(阀芯切换),1与4相通,4有输出:与此同时3与2接通,2排气。断电时,阀杆在弹簧力作用下复位,输出状态如图所示 通常,单电控阀在控制电信号消失后复位方式有弹簧复位、气压复位及弹簧加气压的混合复位三种。采用气压复位比弹簧复位可靠,但工作压力较低或波动时,则复位力小,阀芯动作不稳定。为弥补不足,可加一个复位弹簧,形成复合复位,同时可以减小复位活塞直径 图f为一种双线圈三位五通先导电磁阀。当电磁线圈2或3都断电时,阀杆在弹簧力作用下处于中间平衡位置,此时,阀的4口、2口都没有输出,即该阀为中封式。当电磁线圈2或3都通电时,阀换向。电磁先导阀控制气路气体经4和2口排入大气,也可去掉端盖密封直接排入大气
1,2—电磁先导阀 图g所示为单电控先导式换向阀的工作原理,它是利用直动式电磁阀输出的先导气压来操纵大型气控换向阀(主阀)换向的,该阀的电控部又称电磁先导阀。图h所示为双电控先导式换向阀的工作原理图 |
|||||





