|
力士乐(REXROTH)三位四通高频响4WRSE,3X系列比例方向阀 |
||||
|
表1 |
||||
|
型
号
意
义 |
|
|||
|
技
术
性
能 |
型 号 |
NG6 |
NG10 |
|
|
质量/kg |
3.0 |
7.3 |
||
|
工作压力 /MPa |
P,A,B口 |
31.5 |
31.5 |
|
|
T口 |
31.5 |
31.5 |
||
|
额定流量Qvnom(1±10%)/L·min-1 (Δp=1MPa时,Δp为阀的压差) |
4 |
25 |
||
|
10 |
50 |
|||
|
20 |
75 |
|||
|
35 |
— |
|||
|
允许最大流量 |
80 |
180 |
||
|
工作介质 |
符合DIN 51524标准的矿物油 |
|||
|
液压油温度范围/℃ |
20~80(优先选择40~50) |
|||
|
黏度范围/mm2·s-1 |
20~380(优先选择20~46) |
|||
|
污染度 |
最高油液允许污染度:MAS16389级 推荐使用过滤器的过滤比:βx≥75,x=10 |
|||
|
滞环/% |
≤0.05 |
|||
|
反向误差/% |
≤0.03 |
|||
|
灵敏度/% |
≤0.03 |
|||
|
电压的型式 |
直流电压 |
|||
|
信号的方式 |
模拟 |
|||
|
每个电磁铁的最大电流/A |
2.5 |
2.5 |
||
|
零点补偿/% |
≤1 |
|
||
|
零点漂移 |
介质温度/%/10K |
<0.1 |
<0.1 |
|
|
工作压力/%/10MPa |
<0.5 |
<0.3 |
||
|
电气接线 单独订货 |
带符合EDIN43563AM6的标准插头 插座符合标准EDIN43563-BF6-3/PN11 |
|||
|
放大器 |
已集成入阀内 |
|||
|
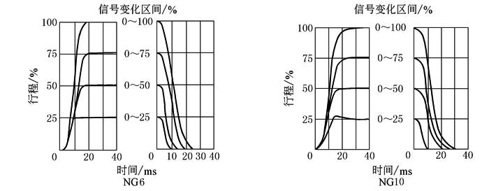
表2 |
||
|
特性 曲线 |
|
|
|
阀的压 差为 0.1MPa 或阀的 单边压 差为 0.5MPa 时典型 流量 曲线 |
|
|
|
阶跃响 应曲线 |
|
|
|
频率响 应曲线 |
|
|
|
流量- 负载 曲线 |
|
|







