|
力士乐(REXROTH)DBET和DBETE型/5X系列比例溢流阀 |
||||||||||||
|
表1 |
||||||||||||
|
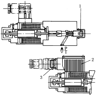
结
构
图 |
DBETE(带内置式放大器): 其功能和结构与DBET类似,只是在比例电磁铁上多了控制放大器的外壳2,电源电压及给定值电压通过插头3接入 出厂前每个阀的给定值-压力-特性曲线都经过精确调节[阀座1处的零点以及放大器中Imax-电位计(R30)的调节精度],其差别很小 利用其中的两个电位计可以单独调节建立起压力以及卸掉压力所需的斜坡时间
|
|||||||||||
|
型 号 意 义 |
|
|||||||||||
|
技 术 性 能 |
最高工作压力(P口)/MPa |
35.0 |
流量/L·min-1 |
最大2 |
||||||||
|
最高调定 压力/MPa |
压力等级5.0MPa |
5.0 |
给定值为零时的最低调定压力 |
见特性曲线 |
||||||||
|
压力等级10.0MPa |
10.0 |
|||||||||||
|
压力等级20.0MPa |
20.0 |
回油压力(油口T) |
单独无背压地回油箱 |
|||||||||
|
压力等级31.5MPa |
31.5 |
|
|
|||||||||
|
压力等级35.0MPa |
35.0 |
|
|
|||||||||
|
油液污染度 |
NAS1638-9级 |
|||||||||||
|
油液温度范围/℃ |
-20~80 |
|||||||||||
|
黏度范围/mm2·s-1 |
15~380 |
|||||||||||
|
滞环(见压力特性曲线)/% |
最高调定压力的±1.5 |
考虑滞环特性曲线;在压力递增的情况下,同型号元件的给定值-压力特性曲线的误差 |
DBET |
最高调定 压力的 ±2.5% |
||||||||
|
重复精度/% |
<最高调定压力的±2 |
|||||||||||
|
线性度/% |
最高调定压力的±3.5 |
DBETE |
最高调定 压力的 ±1.5% |
|||||||||
|
动作时间/ms |
30~150(与具体设备有关) |
|||||||||||
|
电源电压 |
24VDC |
电 气 接 线 |
单 独 订 货 |
DBET |
带符合DIN43650-AM2标准的插头 |
|||||||
|
最小控制电流 |
DBET和DBETE |
100mA |
插座符合标准DIN43650-AF2/PN11 |
|||||||||
|
最大控制电流 |
DBET |
800mA |
DBETE |
带符合EDIN43563-AM6-3标准的插头 |
||||||||
|
DBETE |
1600mA |
插座符合标准EDIN43563-BF6-3/PN11 |
||||||||||
|
电磁铁线圈电阻/Ω |
20℃时的冷值 |
DBET为19.5;DBETE为5.4 |
||||||||||
|
最大热值 |
DBET为28.8;DBETE为7.8 |
|||||||||||
|
通电率 |
DB |
阀的保护形式符合DIN40050 |
IP65 |
|||||||||
|
用于DBETE的放大器 |
内置于阀内 |
|||||||||||
|
用于DBET的放大器 欧洲制式(单独订货) |
模拟式 |
VT-VSPA1-1 |
||||||||||
|
VT2000 |
||||||||||||
|
表2 |
|
|
特
性
曲
线 |
|




