|
BOSCHNG6带集成放大器比例溢流阀 |
||||||||
|
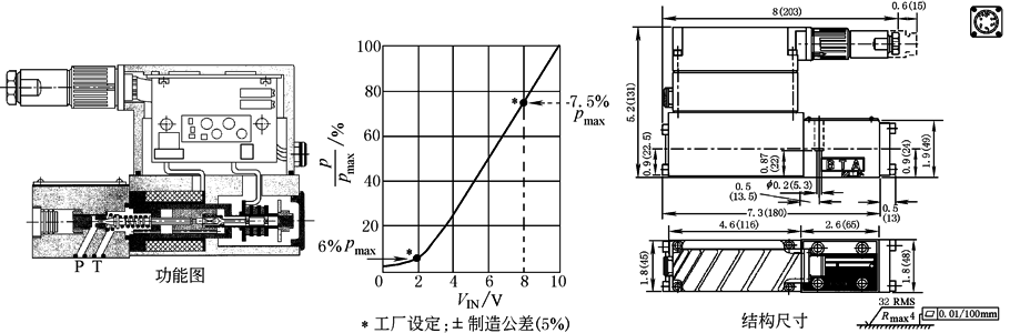
结构外形及性能曲线 |
|
|||||||
|
技术性能 |
安装型式 |
板式,连接尺寸符合NG6(ISO 4401) |
安装位置 |
任意 |
||||
|
环境温度/℃ |
-20~50 |
油液温度/℃ |
-20~80 |
|||||
|
工作介质 |
符合DIN51524-535液压油,使用其他 油液时,先向厂家咨询 |
黏度范围/mm2·s-1 |
20~100(推荐) 10~800(最大) |
|||||
|
清洁度 |
通过采用βx=75过滤器达到x=10,允许污染等级NAS1638-8,ISO4406-17/14 |
|||||||
|
额定流量 /L·min-1 |
1.0(最大1.5) |
工作压力范围/MPa (当Q=1L·min-1) |
0.3~8.0,0.4~18,0.5~25,0.8~31.5 |
|||||
|
最高工作压力/MPa |
P口:31.5T口:≤0.2(静态25) |
|||||||
|
滞环 |
≤0.2% |
分辨率 |
≤0.1% |
制造公差 |
≤±5% |
|||
|
响应100%指令信号 响应10%指令信号 |
30ms 10ms |
温漂 |
<1%,当ΔT=72°F(22℃) |
|||||
|
暂载率 |
100% |
防护等级 |
IP 65DIN 40050和IEC 14434/5 |
|||||
|
连接 |
7芯插头Pg11 |
电源:端子A: B:OV |
额定24V DC 最小21V DC/最大40V DC,最大波纹2V DC |
|||||

