|
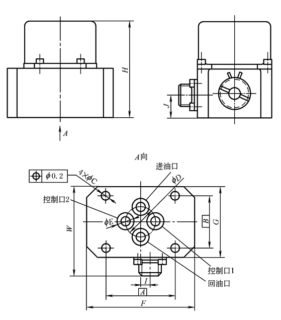
CSDY和Abex型电液伺服阀外形及安装尺寸 mm |
|||||||||||||
|
|
|||||||||||||
|
型号 |
A |
B |
C |
D |
E |
F |
G |
H |
I |
J |
L |
W |
(实际外形与图示的差异) |
|
CSDY1 |
43 |
34 |
5.5 |
16 |
4.5 |
60 |
44 |
|
|
|
- |
|
|
|
CSDY3 |
51 |
44 |
6.5 |
25 |
10 |
82 |
64 |
|
|
|
- |
|
|
|
CSDY5 |
86 |
73 |
8.5 |
35 |
12 |
110 |
85 |
|
|
|
- |
|
|
|
Abex410 |
42.8 |
34.1 |
5.1 |
15.9 |
|
60.7 |
44.8 |
61.7 |
6.1 |
15.2 |
- |
59.3 |
|
|
Abex415 |
42.9 |
34.1 |
5.1 |
19.8 |
|
70.3 |
44.8 |
61.7 |
6.1 |
15.2 |
- |
59.3 |
|
|
Abex420 |
50.8 |
44.5 |
6.9 |
25.4 |
|
|
60.2 |
71.1 |
7.6 |
18.3 |
100.1 |
70.2 |
两端盖突出壳体,总外形长为L |
|
Abex425 |
88.9 |
44.5 |
8.3 |
34.9 |
|
108 |
57.7 |
80.8 |
17.5 |
27.8 |
131.3 |
72.9 |
两端盖为平板,三螺钉固定,总外形长为L |

