|
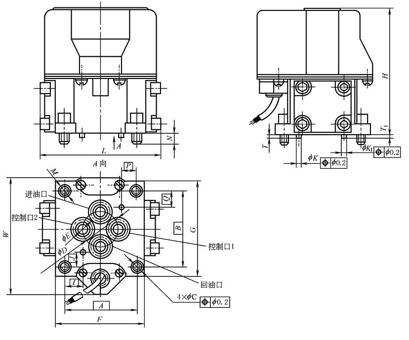
FF101、YF12、MOOG30和DOWTY30型电液伺服阀外形及安装尺寸 mm |
|||||||||||
|
|
|||||||||||
|
型号 |
A |
B |
C |
D |
E |
F |
G |
H |
I |
J |
备注 |
|
FF101 |
24 |
26 |
4.5 |
12.5 |
8 |
30 |
32.6 |
40.6 |
5 |
6 |
|
|
YF12 |
24 |
26 |
3.5 |
12.5 |
8 |
|
32 |
38.5 |
|
|
|
|
MOOG30 |
23.8 |
26.2 |
3.9 |
12.2 |
7.9 |
40.6 |
33.6 |
39.1 |
|
|
|
|
DOWTY30 |
23.8 |
26.2 |
4.5 |
12.2 |
7.9 |
29.7 |
30.2 |
37.8 |
|
|
|
|
型号 |
K |
K1 |
L |
M |
N |
P |
Q |
T |
T1 |
W |
备注 |
|
FF101 |
1.5 |
|
40.8 |
M4 |
5.5 |
|
|
2.5 |
|
39.5 |
|
|
YF12 |
|
1.5 |
41 |
M4 |
5.5 |
5 |
6 |
|
2 |
39.5 |
|
|
MOOG30 |
|
|
|
|
|
|
|
|
|
40.2 |
|
|
DOWTY30 |
1.6 |
1.6 |
49 |
|
|
|
|
1.5 |
1.5 |
30.2 |
电缆沿端盖方向伸出 |

