|
流量伺服阀的特性及性能参数 |
||||||
|
项目 |
名称 |
含义及指标 |
||||
|
伺服 阀规 格的 标称 |
额定电流In* |
产生额定流量或额定控制压力所需的任一极的输入电流,以mA表示。它与力马达或力矩马达两个线圈的连接形式(单接、串接、并联或差动连接)有关,通常,额定电流是对单接、并接或差接而言。串接时额定电流为其一半 |
||||
|
额定压力pn |
产生额定流量的供油压力 |
|||||
|
额定流量Qn |
在规定的阀压降下对应于额定电流的负载流量为额定流量 |
|||||
|
静 态 特 性 |
压力-流量 特性 |
压力-流量曲线(图a)某点上的斜率为伺服阀的流量-压力系数 压力-流量特性曲线可供系统设计者考虑负载匹配和用于确定伺服阀的规格。有些伺服阀样本会给出无量纲压力-流量特性曲线;但现在更多的伺服阀样本给出的是用对数坐标表示的I=In下的压力-流量特性(图b),对数坐标表示的优点是QL与Δpn成线性,且给出了该系列伺服阀的压力-流量特性,Δpn为阀压降 |
||||
|
空载流量 特性 |
额定压力下,负载压力为零,输入电流在正、负额定电流间连续变化,一个完整的循环后,所得的输出流量与输入电流的关系曲线称为空载流量曲线,简称流量曲线 流量曲线的中心轨迹称为公称流量曲线 流量型伺服阀的流量曲线可分成零区、控制区和饱和区。零区特性反映了功率滑阀的开口情况,如下图所示,由零区特性可评价伺服阀的制造质量
|
|||||
|
在任一规定工作区域内,流量曲线的斜率为流量增益以(L/min)/mA表示。由公称流量曲线的零流量点向两极各作一条与公称流量曲线偏差为最小的直线,这两条公称流量增益线的平均斜率便是公称流量增益。如右图所示 随着电流的增大,流量曲线将呈饱和状态。不再随电流而变化的流量称为饱和流量 |
|
|||||
|
压力增益 特性 |
额定压力下,负载流量为零(工作油口关闭)时,输入电流在正、负额定电流间连续变化一个完整的循环,所得的负载压力与输入电流的关系曲线称为压力增益曲线 规定用±40%额定压力区域内的负载压力对输入电流关系曲线的平均斜率,或用该区域内1%额定电流时的最大负载压力来确定压力增益值 压力增益大小与阀的开口类型有关,因此由压力增益曲线可反映阀的零位开口的配合情况 |
|
||||
|
内泄漏特性 |
额定压力下,负载流量为零时,从进油口到回油口的内部泄漏流量随输入电流的变化曲线称为内泄漏特性Ql=f(I)。其中Qc1为前置级的泄漏流量;Qc2为功率滑阀的零位泄漏流量 Qc2的大小反映了功率滑阀的配合情况及磨损程度。对于新阀,用泄漏曲线评价阀的制造质量;对于旧阀,可用于判断磨损程度。Qc2与ps的比值可用于确定功率滑阀的流量-压力系数Kc |
|
||||
|
动 态 特 性 |
频率特性 |
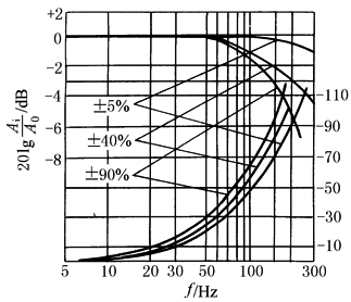
额定压力下,负载压力为零时,恒幅正弦输入电流在一定的频率范围内变化,输出流量对输入电流的复数比。频率特性包括幅频特性和相频特性 幅频特性用幅值比表示,通常用输出流量幅值Ai与同一输入电流幅值下,指定基准低频时的输出流量幅值A0之比随输入电流频率的变化曲线来表示,以dB度量 相频特性是输出流量与输入电流的相位差随输入电流频率的变化曲线,以度表示 用伺服阀频宽衡量伺服阀的频率响应,以幅值比衰减到-3dB时的频率为幅频宽,用ω-3或f-3表示;以相位滞后90°的频率为相频宽,用ω-90°或f-90°表示 |
|
|||
|
阀的频率特性与输入电流幅值、供油压力及黏度等条件有关,因此伺服阀的频率特性中一般会注明不同电流幅值(如±5%或±10%,±25%、±40%或±50%,±90%或±100%)下的幅频或相频特性 基准低频视具体伺服阀而定,一般应低于5%f-3;对于高频阀,通常为5或10Hz 流量的测量是通过速度传感器检测精密测试液压缸的速度而得到的。测试缸的内泄漏和摩擦力应很小,缸的谐振频率应比阀的频宽高得多 |
||||||
|
阶跃响应 |
一般用阶跃响应来说明阀的瞬态响应。阶跃响应是额定压力下,负载压力为零时,输出流量对阶跃输入电流的跟踪过程。tr为上升(飞升)时间,tp为峰值时间,ts为过渡过程时间 根据阶跃响应曲线确定超调量、过渡过程时间和振荡次数等时域品质指标 通常规定阶跃输入电流的幅值为5%In或10%In,25%In、40%In或50%In,90%In或100%In |
|
||||
|
静 态 性 能 参 数 |
滞环 |
在正负额定电流之间,以动态不起作用的速度循环时,产生相同输出流量的两电流之间最大差值与额定电流的百分比称为滞环。一般滞环小于等于3%,电反馈伺服阀的滞环小于等于0.5% 伺服阀的滞环是由于力(矩)马达的磁滞和阀的游隙造成的。阀的游隙是由于摩擦力及机械固定部分的间隙造成的。磁滞回环值随电流的大小而变化,电流小时磁滞回环值减小,因此磁滞一般不会引起系统的稳定性问题;油液脏时滑阀摩擦力增大,分辨率值也将增大 |
||||
|
分辨率 |
分辨率有零位正向、零位反向和零外正向、零外反向分辨率之分 零位分辨率是在工作油口关闭下作出的,在额定供油压力下,输入一微小电流使A、B口的压力相等;若继续以相同方向缓慢增加微小电流,使两平衡的工作压力发生变化所需的电流增量Δi1与额定电流的百分比称为零位正向分辨率;若以反向缓慢输入电流,使压力发生变化所需的电流增量Δi2与额定电流的百分比称为零位反向分辨率 零外分辨率是在工作油口开启下作出的,在I=10%In的规定信号值下,使阀的输出流量继续变化所需的电流增量Δi3与In的百分比称为零外正向分辨率;而使阀的输出流量反向所需的电流增量Δi4与In的百分比则称为零外反向分辨率 一般,伺服阀分辨率=Δim/In<1%,电反馈伺服阀分辨率小于0.4%甚至0.1%。Δim为Δi1、Δi2、Δi3、Δi4中的最大者 影响分辨率的主要因素是阀的静摩擦力和游隙。油脏时滑阀中摩擦力增大,分辨率将降低 |
|||||
|
线性度 |
公称流量曲线与公称流量增益线的最大偏离值与额定电流的百分比称为线性度。一般要求线性度高于7.5% 线性度=Δi1/In<7.5% |
|||||
|
对称度 |
两极性公称流量增益之差的最大值与两极性公称增益较大者的百分比称为对称度。一般要求对称度高于10%。如果正极性的流量增益Kq1大于负极性的增益Kq2,则
|
|||||
|
零偏 |
在规定试验条件下尽管调好伺服阀的零点,但经过一段时间后,由于阀的结构尺寸、组件应力、电性能、流量特性等可能会发生微小变化,使输入电流为零时输出流量不为零,零点要发生变化。为使输出流量为零,必须预置某一输入电流,即零偏电流 把阀回归零位的输入电流值,减去零位反向分辨率电流值的差值与额定电流的百分比称为零偏 为了消除滞环及零位反向分辨率的影响,零偏的测试过程如图所示。一般要求: 零偏=i0/In=(i1+i2)/2In<3% 在整个寿命期内小于百分之五 |
|
||||
|
零漂 |
伺服阀是按试验标准在规定试验条件下调试的,当工作条件(供油压力、回油压力、工作油温、零值电流等)发生变化时,阀的零位发生偏移 压力、温度等工作条件变化引起的零偏电流变化量与额定电流的百分比称为零漂 零漂又分为压力零漂和温度零漂;压力零漂又分为进油压力零漂和回油压力零漂。通常,供油压力降低时零偏电流i0增大,回油压力增大时零偏电流增大
一般规定供油压力变化±20%ps时,进油压力零漂应小于3%;回油压力从0~0.7MPa变化时,回油压力零漂应小于2%。温度零漂亦应小于2% 注意系统调整或检查时,可加偏置电流以补偿零偏,而随工作条件变化的零漂是无法补偿的 |
|||||
|
动态 性能 参数 |
频宽 |
以频宽作为阀的动态响应参数。从阀的频率特性可以直接查出幅频宽ω-3和相频宽ω-90°,二者的值不相等,应取其较小者作为频宽值 通常,力矩马达喷嘴挡板式两级伺服阀的频宽在100~130Hz之间,动圈两级滑阀式伺服阀的频宽在50~100Hz之间。电反馈高频伺服阀频宽可达250Hz甚至更高 |
||||
|
响应时间 |
以上升(飞升)时间tr、峰值时间tp或过渡过程(调节)时间ts作为动态响应参数,以超调量σp来反映稳定性 |
|||||
|
伺 服 阀 的 传 递 函 数 |
工程中一般采用传递函数描述流量型伺服阀的特性:
式中 Ksv——伺服阀增益,m3/(s·A); ωsv——伺服阀的频宽,rad/s; δsv——伺服阀的阻尼系数,一般为0.5~0.7 |
|||||
|
* 对电反馈伺服阀尤其是内置放大器的电反馈伺服阀,应规定额定输入电压,以V表示。 |
||||||











