|
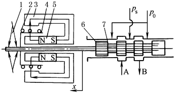
典型伺服阀的结构及工作原理 |
|||
|
不同的应用场合要求伺服阀具有不同的输出特性。位置和速度控制一般采用流量型伺服阀;力(矩)或压力控制可采用流量型伺服阀,也可采用压力型伺服阀;惯性较小、外负载力(矩)很大且要求速度刚度很大的场合,拟采用负载流量反馈式伺服阀;惯性很大、外负载很小的位置或速度控制拟采用其输出特性介于流量型伺服阀与压力型伺服阀之间的P-Q阀。工程上绝大多数应用的是流量型伺服阀。部分领域如材料实验等应用的是压力型伺服阀。一般将P-Q阀也归入压力型伺服阀之类。负载流量反馈式伺服阀由于其流量计性能差、效率低,工程上极少采用 |
|||
|
名称 |
结构示意图 |
组成及工作原理 |
|
|
单 级 伺 服 阀 |
单 级 电 反 馈 伺 服 阀 |
1—接头;2—滑阀芯;3—阀套;4—内置式放大器; 5—位置传感器;6—线性力马达;7—对中弹簧 |
由动铁式线性力马达、单级滑阀、位移传感器(LVDT)和内置集成放大器组成,并构成闭环回路。当希望产生某一阀芯位置的指令电信号输入到放大器,放大器产生一个脉宽调制电流,驱动力马达铁心和阀芯克服对中弹簧力运动。同时放大器为位移传感器励磁,产生一个与阀芯位移成正比的电信号,经解调后与指令信号比较,产生一个误差信号。该信号继续使阀芯运动,直至误差信号为零。阀芯停在所希望的位置。由于阀芯-铁心-对中弹簧谐振频率较高,阀的动态响应主要决定于回路增益 |
|
动 圈 式 单 级 伺 服 阀 |
1—弹簧;2—线圈;3—导磁体;4—框架; 5—永久磁铁;6—阀芯;7—阀套 |
由动圈式力马达和单级滑阀组成,结构简单 工作原理:当信号电流通过控制线圈时,线圈在磁场中产生电磁力,此力与弹簧的反作用力平衡,使阀芯移动xv,从而使阀输出相应的流量 采用小型力马达时,阀的输出流量较小;采用专用的大型力马达时,单级阀的输出也可以达200L/min左右,如日立的具有电反馈的FM·V阀 |
|
|
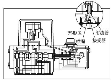
伺 服 射 流 管 电 反 馈 两 级 伺 服 阀 |
|
由伺服射流先导级(由动铁式力矩马达、射流管、接受器构成),滑阀功率级,位移传感器及内置放大器组成 当给阀输入一个指令电信号时,力矩马达使射流管喷嘴端向一边(如向左)偏转。接受器左边的接受孔接受的射流管喷嘴高压射流油液多于右边,于是功率级阀芯左边压力大于右边,阀芯向右运动,固定在阀芯上的位移传感器铁心一起向右运动,传感器输出与阀芯位移成正比的电信号给放大器,与指令信号进行比较,直到信号差为零时,阀芯停在某个位置,从而输出与指令信号成比例的流量 |
|
|
两 级 伺 服 阀 |
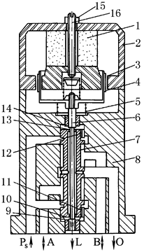
两 级 滑 阀 式 伺 服 阀 |
1—磁钢;2—导磁体;3—气隙;4—动圈;5—弹簧; 6—一级阀芯;7—二级阀芯;8—阀体;9—下控制腔; 10—下节流口;11—下固定节流孔;12—上固定节流孔; 13—上节流口;14—上控制腔;15—锁紧螺母; 16—调零螺钉 |
由力马达和双级滑阀组成。一级阀芯套在二级阀芯里,二级阀芯既作为一级阀的阀套又作为功率滑阀阀芯,从而实现了位置直接反馈 工作原理:力马达驱动一级阀芯,一级阀是具有两个固定节流孔、两个可变节流口的正开口四通阀,Ps口压力油经上、下固定节流孔进入功率滑阀的上、下控制腔,再经上、下可变节流口通过二级阀芯中的中空腔和回油口O回油。一级阀处于零位时,上、下可变节流口面积相等,上、下控制腔内压力相等,二级阀芯处于零位不动,A、B口无流量输出。力马达带动一级阀芯向上运动某一位移时,上可变节流口开大,使上控制腔压力减小;而下可变节流口关小,使下控制腔内压力增大,从而使二级阀芯跟踪一级阀芯向上运动,直至上、下可变节流口的开口量相等;这时一级阀处于新的零位,而二级阀芯行程等于一级阀芯的行程,该行程与电流成比例,因而B口输出的空载流量与电流成比例。同理,电流反向时,二级阀芯跟随一级阀芯同步向下,A口有输出。国产SV系列伺服阀是这类阀的代表 |
|
喷 嘴 挡 板 式 两 级 伺 服 阀 |
1—磁钢;2—导磁体;3—弹簧管;4—喷嘴; 5—固定节流孔;6—滑阀;7—反馈杆;8—衔铁 |
由动铁式力矩马达、前置级喷嘴挡板阀和功率级滑阀组成 工作原理:衔铁挡板弹簧管组件由弹簧管底面固定支承。当线圈输入电流时,力矩马达输出力矩,衔铁挡板组件顺(或逆)时针方向偏转,前置级输出压力,驱动功率级阀芯向右(或左)移动,同时带动反馈杆的球端向右(或左)移动,直到由反馈杆形成的反馈力矩与力矩马达的输出力矩平衡为止。阀芯位移与输入电流成正比 |
|
|
射 流 管 式 双 级 伺 服 阀 |
1—力矩马达;2—柔性供压管;3—射流管;4—射流接受器; 5—反馈弹簧;6—阀芯;7—滤油器 |
由力矩马达、射流管阀和功率滑阀组成 工作原理:射流管焊接于衔铁上,并由薄壁弹簧片支承;压力油通过柔性供压管进入射流管。从射流管喷嘴射出的油液进入两接受孔中,从而推动功率滑阀。射流管的侧面装有弹簧板及反馈弹簧丝,其上的弹簧丝末端插入阀芯中间的小槽内并被固定,阀芯移动反馈弹簧丝,构成对力矩马达的力反馈 另一种形式的反馈弹簧类似喷嘴挡板力反馈式阀的反馈杆,上端固定在射流管上,下端为球端,以阀芯上球槽精密啮合,反馈阀芯位移 |
|
|
三 级 电 反 馈 伺 服 阀 |
|
用二级滑阀来驱动第三级滑阀,末级阀芯的定位只能借助于电反馈 工作原理:电反馈处于外环,所以转换器、前置放大器及功率滑阀的参数变动、线性度和干扰等对阀的性能的影响大大地降低了。由于位置传感器的分辨率及其二次仪表的频宽有可能做得很高,因此电反馈伺服阀的分辨率、频宽和线性度可大为提高,而滞环和零漂可大为减少,并且阀的性能进一步提高。MOOG公司的079-100、079-200伺服阀是三级阀代表性产品 |
|
|
射 流 偏 转 板 力 反 馈 两 级 伺 服 阀 |
偏转板射流式力反馈两级电液流量伺服阀 |
由力矩马达、偏转板射流放大级和滑阀功率级组成 工作原理:偏转板和衔铁、弹簧管紧密固接构成衔铁组件在下端固定支承。无信号输入时,偏转板处于射流片中间位置 使二接受口接收等量的高速射流,二接受口即滑阀两端压力相等,滑阀处于零位。当线圈有正极性电流信号输入时在衔铁上产生电磁力矩,使衔铁逆时针旋转,偏转板右偏,右接受口接受高速液流多于左接受口,产生压差,驱动滑阀左移,同时带动反馈杆的球端左移产生反馈力矩,直到反馈力矩和电磁力矩平衡为止。阀芯停在相应位置。这时进油Ps与控制油口C1相通,驱动负载,而C2则与回油口Pr相通。这时偏转板基本上又处于零位。当电流极性反时,过程也反 |
|
|
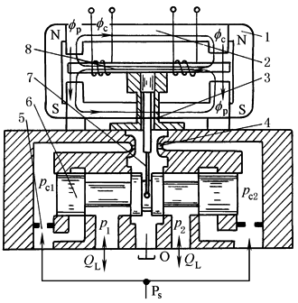
负 载 压 力 反 馈 伺 服 阀 |
|
与力反馈伺服阀不同处在于自阀的A、B腔引出压力油至挡板两侧的喷嘴,而在油道中串接固定节流阀,不设反馈杆 工作原理:当力矩马达输入信号电流时,衔铁在电磁力矩和扭簧力矩的作用下,偏转θ角,使挡板产生位移,如向左,则主阀芯左控制腔内压力升高,阀芯向右移,B腔输出压力油,在B腔引一油流至左喷嘴,对挡板进行反馈,使挡板趋于零位,从而使两个控制喷嘴压差趋于零,阀芯便停止运动。此时信号电流和负载压力具有一定比例关系。理论上阀的压力-流量特性是一条垂直于横轴的直线,即不论输出流量如何变化,只要信号电流不变,输出负载压力严格保持不变。实际上由于稳态液动力的影响,静特性有一定斜率 此阀的特点是电流与负载压力基本上呈线性关系。缺点是系统的刚性小,受负载力的影响大,速度的变化也大 |
|
|
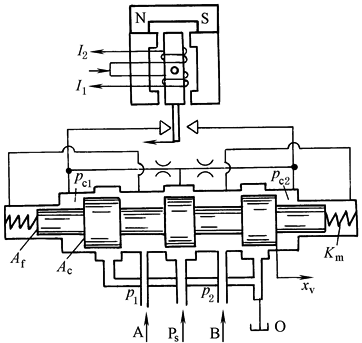
P-Q阀 |
|
该阀是在弹簧平衡式伺服阀的基础上,增加静压反馈而构成的 工作原理:引入静压反馈后,由于强烈的压力反馈使阀的开口减小,从而使输出流量也相对减少。于是,阀的流量-压力系数增大了KqAf/Km倍,即P-Q阀的流量-压力系数为Q阀的(1+KqAf/Km)倍 此阀的特点是阻尼大而且恒定,但静态刚度较差,所以适用于惯性大而外负载力小的场合和带谐振负载的场合 如果将该阀的对中弹簧取掉,P-Q阀便成为滑阀力综合式的P阀(压力阀) |
|
|
喷 嘴 挡 板 电 反 馈 式 两 级 伺 服 阀 |
|
该阀在是双喷嘴-挡板力反馈阀的基础上又加上内置电子放大器和检测功率阀芯位移的位移传感器,构成伺服阀本身的大闭环。极大地提高了小信号区的动态相应 |
|











