|
SRY2型、SRY4型油用管状电加热器 |
|||||
|
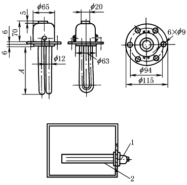
SRY2型和SRY4型油用加热器是用两根管子弯成,用法兰盘固定,两端通过接头接通电源,用于在敞开式或封闭式油箱中加热油。SRY型还可以加热水和其他导热性比油好的液体。SRY2型适合在敞开或封闭式的油箱中用,其最高工作温度为300℃。SRY4型适合在循环系统内加热油类用,其最高工作温度为300℃ 电加热器安装在油箱中,为了防止加热器管子表面烧焦液压油,在加热管的外边装上套管,见下表中图。套管的表面耗散功率不得超过0.7W/cm2。加热器装上套管以后,出了故障也便于维修更换。套管的表面积大于500cm2/kW |
|||||
|
SRY型油用管状电加热器性能 |
|||||
|
电加热器的安装 1—电加热器;2—套管 |
型 号 |
功率 /kW |
电压 /V |
浸入油中 长度A /mm |
生产厂 |
|
SRY2-220/1 |
1 |
220 |
225 |
上海电热电气厂、北京电热电气厂 |
|
|
SRY2-220/2 |
2 |
425 |
|||
|
SRY2-220/3 |
3 |
625 |
|||
|
SRY2-220/4 |
4 |
840 |
|||
|
SRY4-220/5 |
5 |
615 |
|||
|
SRY4-220/6 |
6 |
725 |
|||
|
SRY4-220/8 |
8 |
825 |
|||
|
注:订货必须填明型号、功率、电压及数量。 |
|||||

