|
国产非ISO标准紧凑型气缸(f 12~100mm) |
|||||||||||||||||||||||||||||||||||||
|
表1 mm |
|||||||||||||||||||||||||||||||||||||
|
类
型 |
1—后盖;2—C形扣环;3—前后盖;4—防撞垫片;5—活塞;6—活塞;7—防撞垫片;8—本体;9—前后密封圈;10—前盖; 11—活塞杆;12—螺母;13—消音器;14—弹簧 |
||||||||||||||||||||||||||||||||||||
|
内径 |
12,16 |
20 |
25 |
32,40,50,63,80,100 |
|||||||||||||||||||||||||||||||||
|
复动型 |
不附磁 |
5~60 每5一级 |
5~85 每5一级 |
5~90 每5一级 |
100~110 每10一级 |
5~90 每5一级 |
100~130 每10一级 |
||||||||||||||||||||||||||||||
|
附磁 |
5~50 每5一级 |
5~75 每5一级 |
5~90 每5一级 |
100 |
5~90 每5一级 |
100~120 每10一级 |
|||||||||||||||||||||||||||||||
|
最大行程 |
60 |
100 |
120 |
130 |
|||||||||||||||||||||||||||||||||
|
单动型 |
不附磁 |
5~30 每5一级 |
5~30 每5一级 |
5~30 每5一级 |
5~30 每5一级 |
— |
|||||||||||||||||||||||||||||||
|
附磁 |
5~30 每5一级 |
5~30 每5一级 |
5~30 每5一级 |
5~30 每5一级 |
— |
||||||||||||||||||||||||||||||||
|
最大行程 |
30 |
— |
|||||||||||||||||||||||||||||||||||
|
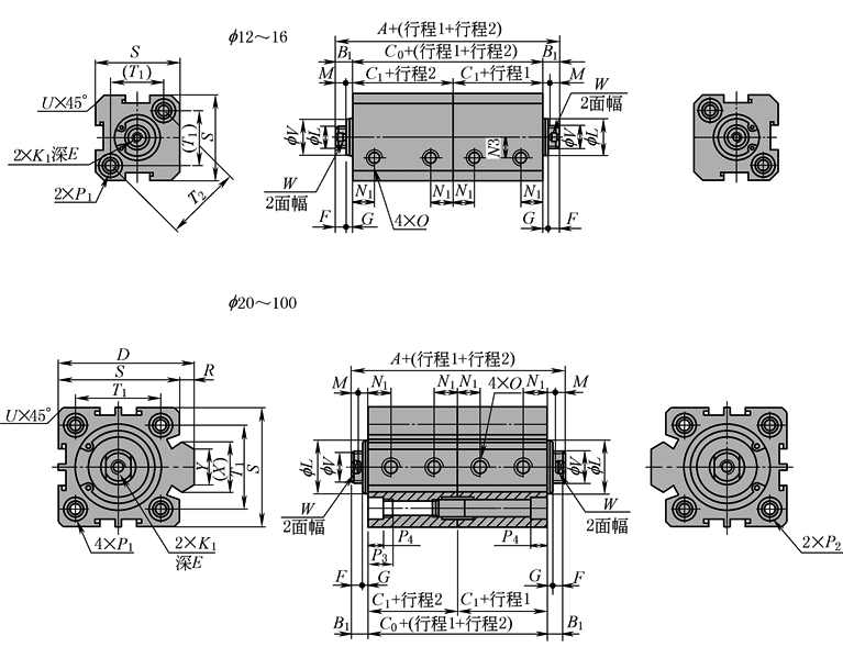
标 准 型 、 标 准 型 带 磁 性 开 关 尺 寸 |
|
||||||||||||||||||||||||||||||||||||
|
内径 |
标准型 |
附磁型 |
D |
E |
F |
G |
K1 |
L |
M |
N1 |
N3 |
||||||||||||||||||||||||||
|
A |
B1 |
C |
A |
B1 |
C |
行程≤10 |
行程>10 |
||||||||||||||||||||||||||||||
|
12 |
22 |
5 |
17 |
32 |
5 |
27 |
— |
6 |
4 |
1 |
M3×0.5 |
10.2 |
2.8 |
6.3 |
6 |
||||||||||||||||||||||
|
16 |
24 |
5.5 |
18.5 |
34 |
5.5 |
28.5 |
— |
6 |
4 |
1.5 |
M3×0.5 |
11 |
2.8 |
7.3 |
6.5 |
||||||||||||||||||||||
|
20 |
25 |
5.5 |
19.5 |
35 |
5.5 |
29.5 |
36 |
8 |
4 |
1.5 |
M4×0.7 |
15 |
2.8 |
7.5 |
— |
||||||||||||||||||||||
|
25 |
27 |
6 |
21 |
37 |
6 |
31 |
42 |
10 |
4 |
2 |
M5×0.8 |
17 |
2.8 |
8 |
— |
||||||||||||||||||||||
|
32 |
31.5 |
7 |
24.5 |
41.5 |
7 |
34.5 |
50 |
12 |
4 |
3 |
M6×1 |
22 |
2.8 |
9 |
— |
||||||||||||||||||||||
|
40 |
33 |
7 |
26 |
43 |
7 |
36 |
58.5 |
12 |
4 |
3 |
M8×1.25 |
28 |
2.8 |
10 |
— |
||||||||||||||||||||||
|
50 |
37 |
9 |
28 |
47 |
9 |
38 |
71.5 |
15 |
5 |
4 |
M10×1.5 |
38 |
2.8 |
10.5 |
— |
||||||||||||||||||||||
|
63 |
41 |
9 |
32 |
51 |
9 |
42 |
84.5 |
15 |
5 |
4 |
M10×1.5 |
40 |
2.8 |
11.8 |
— |
||||||||||||||||||||||
|
80 |
52 |
11 |
41 |
62 |
11 |
51 |
104 |
15 |
20 |
6 |
5 |
M14×1.5 |
45 |
4 |
14.5 |
— |
|||||||||||||||||||||
|
100 |
63 |
12 |
51 |
73 |
12 |
61 |
124 |
18 |
20 |
7 |
5 |
M18×1.5 |
55 |
4 |
20.5 |
— |
|||||||||||||||||||||
|
内径 |
O |
P1 |
P3 |
P4 |
R |
S |
T1 |
T2 |
U |
V |
W |
X |
Y |
||||||||||||||||||||||||
|
12 |
M5×0.8 |
双边:f 6.5 牙:M8×0.8 通孔:f 4.2 |
12 |
4.5 |
— |
25 |
16.2 |
23 |
1.6 |
6 |
5 |
— |
— |
||||||||||||||||||||||||
|
16 |
M5×0.8 |
双边:f 6.5 牙:M5×0.8 通孔:f 4.2 |
12 |
4.5 |
— |
29 |
19.8 |
28 |
1.6 |
6 |
5 |
— |
— |
||||||||||||||||||||||||
|
20 |
M5×0.8 |
双边:f 6.5 牙:M5×0.8 通孔:f 4.2 |
14 |
4.5 |
2 |
34 |
24 |
— |
2.1 |
8 |
6 |
11.3 |
10 |
||||||||||||||||||||||||
|
25 |
M5×0.8 |
双边:f 8.2 牙:M6×1.0 通孔:f 4.6 |
15 |
5.5 |
2 |
40 |
28 |
— |
3.1 |
10 |
8 |
12 |
10 |
||||||||||||||||||||||||
|
32 |
PT1/8 |
双边:f 8.2 牙:M6×l.0 通孔:f 4.6 |
16 |
5.5 |
6 |
44 |
34 |
— |
2.15 |
12 |
10 |
18.3 |
15 |
||||||||||||||||||||||||
|
40 |
PT1/8 |
双边:f 10 牙:M8×1.25 通孔:f 6.5 |
20 |
7.5 |
6.5 |
52 |
40 |
— |
2.25 |
16 |
14 |
21.3 |
16 |
||||||||||||||||||||||||
|
50 |
PT¼ |
双边:f 11 牙:M8×1.25 通孔:f 6.5 |
25 |
8.5 |
9.5 |
62 |
48 |
— |
4.15 |
20 |
17 |
30 |
20 |
||||||||||||||||||||||||
|
63 |
PT¼ |
双边:f 11 牙:M8×1.25 通孔:f 6.5 |
25 |
8.5 |
9.5 |
75 |
60 |
— |
3.15 |
20 |
17 |
28.7 |
20 |
||||||||||||||||||||||||
|
80 |
PT3/8 |
双边:f 14 牙:M12×1.75 通孔:f 9.2 |
25 |
10.5 |
10 |
94 |
74 |
— |
3.65 |
25 |
22 |
36 |
26 |
||||||||||||||||||||||||
|
100 |
PT3/8 |
双边:f 17.5 牙:M14×2 通孔:f 11.3 |
30 |
13 |
10 |
114 |
90 |
— |
3.65 |
32 |
27 |
35 |
26 |
||||||||||||||||||||||||
|
单 作 用 活 塞 杆 伸 出 型 、 单 作 用 活 塞 杆 伸 出 型 带 磁 性 开 关 尺 寸 |
|
|||||||||||||||||||||||||||||||
|
内径 |
标准型 |
附磁型 |
D |
E |
F |
G |
K1 |
L |
M |
N1 |
N3 |
|||||||||||||||||||||
|
A |
B1 |
C |
A |
B1 |
C |
|||||||||||||||||||||||||||
|
行程 |
行程 |
行程 |
行程 |
|||||||||||||||||||||||||||||
|
≤10 |
>10 |
≤10 |
>10 |
≤10 |
>10 |
≤10 |
>10 |
|||||||||||||||||||||||||
|
12 |
32 |
42 |
5 |
27 |
37 |
42 |
52 |
5 |
37 |
47 |
— |
6 |
4 |
1 |
M3×0.5 |
10.2 |
2.8 |
6.3 |
6 |
|||||||||||||
|
16 |
34 |
44 |
5.5 |
28.5 |
38.5 |
44 |
54 |
5.5 |
38.5 |
48.5 |
— |
6 |
4 |
1.5 |
M3×0.5 |
11 |
2.8 |
7.3 |
6.5 |
|||||||||||||
|
20 |
35 |
45 |
5.5 |
29.5 |
39.5 |
45 |
55 |
5.5 |
39.5 |
49.5 |
36 |
8 |
4 |
1.5 |
M4×0.7 |
15 |
2.8 |
7.5 |
— |
|||||||||||||
|
25 |
37 |
47 |
6 |
31 |
41 |
47 |
57 |
6 |
41 |
51 |
42 |
10 |
4 |
2 |
M5×0.8 |
17 |
2.8 |
8 |
— |
|||||||||||||
|
32 |
41.5 |
51.5 |
7 |
34.5 |
44.5 |
51.5 |
61.5 |
7 |
44.5 |
54.5 |
50 |
12 |
4 |
3 |
M6×1 |
22 |
2.8 |
9 |
— |
|||||||||||||
|
40 |
43 |
53 |
7 |
36 |
46 |
53 |
63 |
7 |
46 |
56 |
58.5 |
12 |
4 |
3 |
M8×1.25 |
28 |
2.8 |
10 |
— |
|||||||||||||
|
内径/符号 |
O |
P1 |
P3 |
P4 |
R |
S |
T1 |
T2 |
U |
V |
W |
X |
Y |
|||||||||||||||||||
|
12 |
M5×0.8 |
双边:f 6.5 牙:M5×0.8 通孔:f 4.2 |
12 |
4.5 |
— |
25 |
16.2 |
23 |
1.6 |
6 |
5 |
— |
— |
|||||||||||||||||||
|
16 |
M5×0.8 |
双边:f 6.5 牙:M5×0.8 通孔:f 4.2 |
12 |
4.5 |
— |
29 |
19.8 |
28 |
1.6 |
6 |
5 |
— |
— |
|||||||||||||||||||
|
20 |
M5×0.8 |
双边:f 6.5 牙:M5×0.8 通孔:f 4.2 |
14 |
4.5 |
2 |
34 |
24 |
— |
2.1 |
8 |
6 |
11.3 |
10 |
|||||||||||||||||||
|
25 |
M5×0.8 |
双边:f 6.5 牙:M5×0.8 通孔:f 4.6 |
15 |
5.5 |
2 |
40 |
28 |
— |
3.1 |
10 |
8 |
12 |
10 |
|||||||||||||||||||
|
32 |
PT1/8 |
双边:f 8.2 牙:M6×l.0 通孔:f 4.6 |
16 |
5.5 |
6 |
44 |
34 |
— |
2.15 |
12 |
10 |
18.3 |
15 |
|||||||||||||||||||
|
40 |
PT1/8 |
双边:f 10 牙:M8×1.25 通孔:f 6.5 |
20 |
7.5 |
6.5 |
52 |
40 |
— |
2.25 |
16 |
14 |
21.3 |
16 |
|||||||||||||||||||
|
活 塞 杆 头 部 螺 纹 尺 寸 |
|
||||||||||||
|
活 塞 杆 头 部 螺 纹 尺 寸 |
内径 |
B2 |
E |
F |
G |
H |
I |
J |
K2 |
L |
M |
V |
W |
|
12 16 20 25 32 40 50 63 80 100 |
17 17.5 20.5 23 25 35 37 37 44 50 |
16 16 19 21 22 32 33 33 39 45 |
4 4 4 4 4 4 5 5 6 7 |
1 1.5 1.5 2 3 3 4 4 5 5 |
10 10 13 15 15 25 25 25 30 35 |
8 8 10 12 17 19 27 27 32 36 |
4 4 5 6 6 8 11 11 13 13 |
M5×0.8 M5×0.8 M6×1.0 M8×1.25 M10×1.25 M14×1.5 M18×1.5 M18×1.5 M22×1.5 M26×1.5 |
10.2 11 15 17 22 28 40 40 45 55 |
2.8 2.8 2.8 2.8 2.8 2.8 2.8 2.8 4 4 |
6 6 8 10 12 16 20 20 25 32 |
5 5 6 8 10 14 17 17 22 27 |
|
|
双作用双出杆型、双作用双出杆型带行程可调气缸结构 |
1—前盖密封圈;2—前盖;3—本体;4—防撞垫片;5,6—活塞;7—前后盖;8—C形扣环;9—固定螺钉; 10—活塞杆;11—可调螺母垫片;12—可调螺母;13—螺母 |
||||||||||||
|
双 作 用 双 出 杆 型 、 双 作 用 双 出 杆 型 带 磁 性 开 关 尺 寸 |
|
||||||||||||||||||||||||||||
|
内径 |
标准型 |
附磁型 |
D |
行程≤10 |
行程>10 |
F |
G |
K1 |
L |
M |
N1 |
N3 |
|||||||||||||||||
|
A |
B1 |
C |
A |
B1 |
C |
E |
|||||||||||||||||||||||
|
12 16 20 25 32 40 50 63 80 100 |
27 29.5 30.5 33 38.5 40 46 50 63 75 |
5 5.5 5.5 6 7 7 9 9 11 12 |
17 18.5 19.5 21 24.5 26 28 32 41 51 |
37 39.5 40.5 43 48.5 50 56 60 73 85 |
5 5.5 5.5 6 7 7 9 9 11 12 |
27 28.5 29.5 31 34.5 36 38 42 51 61 |
— — 36 42 50 58.5 71.5 84.5 104 124 |
6 6 8(行程=5时为6.5) 10(行程=5时为7) |
4 4 4 4 4 4 5 5 6 7 |
1 1.5 1.5 2 3 3 4 4 5 5 |
M3×0.5 M3×0.5 M4×0.7 M5×0.8 M6×1 M8×1.25 M10×1.5 M10×1.5 M14×1.5 M18×1.5 |
10.2 11 15 17 22 28 38 40 45 55 |
2.8 2.8 2.8 2.8 2.8 2.8 2.8 2.8 4 4 |
6.3 7.3 7.5 8 9 10 10.5 11.8 14.5 20.5 |
6 6.5 — — — — — — — — |
||||||||||||||
|
8 9 11 11 14 18 |
12 12 15 15 20 20 |
||||||||||||||||||||||||||||
|
内径 |
O |
P1 |
P3 |
P4 |
R |
S |
T1 |
T2 |
U |
V |
W |
X |
Y |
||||||||||||||||
|
12 |
M5×0.8 |
双边:f 6.5 牙:M5×0.8 通孔:f 4.2 |
12 |
4.5 |
— |
25 |
16.2 |
23 |
1.6 |
6 |
5 |
— |
— |
||||||||||||||||
|
16 |
M5×0.8 |
双边:f 6.5 牙:M5×0.8 通孔:f 4.2 |
12 |
4.5 |
— |
29 |
19.8 |
28 |
1.6 |
6 |
5 |
— |
— |
||||||||||||||||
|
20 |
M5×0.8 |
双边:f 6.5 牙:M5×0.8 通孔:f 4.2 |
14 |
4.5 |
2 |
34 |
24 |
— |
2.1 |
8 |
6 |
11.3 |
10 |
||||||||||||||||
|
25 |
M5×0.8 |
双边:f 8.2 牙:M6×1.0 通孔:f 4.6 |
15 |
5.5 |
2 |
40 |
28 |
— |
3.1 |
10 |
8 |
12 |
10 |
||||||||||||||||
|
32 |
PT1/8 |
双边:f 8.2 牙:M6×l.0 通孔:f 4.6 |
16 |
5.5 |
6 |
44 |
34 |
— |
2.15 |
12 |
10 |
18.3 |
15 |
||||||||||||||||
|
40 |
PT1/8 |
双边:f 10 牙:M8×1.25 通孔:f 6.5 |
20 |
7.5 |
6.5 |
52 |
40 |
— |
2.25 |
16 |
14 |
21.3 |
16 |
||||||||||||||||
|
50 |
PT¼ |
双边:f 11 牙:M8×1.25 通孔:f 6.5 |
25 |
8.5 |
9.5 |
62 |
48 |
— |
4.15 |
20 |
17 |
30 |
20 |
||||||||||||||||
|
63 |
PT¼ |
双边:f 11 牙:M8×1.25 通孔:f 6.5 |
25 |
8.5 |
9.5 |
75 |
60 |
— |
3.15 |
20 |
17 |
28.7 |
20 |
||||||||||||||||
|
80 |
PT3/8 |
双边:f 14 牙:M12×1.75 通孔:f 9.2 |
25 |
10.5 |
10 |
94 |
74 |
— |
3.65 |
25 |
22 |
36 |
26 |
||||||||||||||||
|
100 |
PT3/8 |
双边:f 17.5 牙:M14×2 通孔:f 11.3 |
30 |
13 |
10 |
114 |
90 |
— |
3.65 |
32 |
27 |
35 |
26 |
||||||||||||||||
|
双 作 用 双 出 杆 行 程 可 调 型 、 双 作 用 双 出 杆 行 程 可 调 型 带 磁 性 开 关 尺 寸 |
|
|||||||||||||||||||||||||||||
|
内径 |
标准型 |
附磁型 |
D |
行程≤10 |
行程>10 |
F |
G |
K1 |
|
L |
M |
N1 |
N3 |
|||||||||||||||||
|
A |
B1 |
C |
A |
B1 |
C |
E |
||||||||||||||||||||||||
|
12 16 20 25 32 40 50 63 80 100 |
40 42.5 47.5 54 61.5 65 73 77 94 105 |
5 5.5 5.5 6 7 7 9 9 11 12 |
17 18.5 19.5 21 24.5 26 28 32 41 51 |
50 52.5 57.5 64 71.5 75 83 87 104 115 |
5 5.5 5.5 6 7 7 9 9 11 12 |
27 28.5 29.5 31 34.5 36 38 42 51 61 |
— — 36 42 50 58.5 71.5 84.5 104 124 |
6 6 8(行程=5时为6.5) 10(行程=5时为7) |
4 4 4 4 4 4 5 5 6 7 |
1 1.5 1.5 2 3 3 4 4 5 5 |
4 4 5 6 6 8 11 11 13 13 |
M3×0.5 M3×0.5 M4×0.7 M5×0.8 M6×1 M8×1.25 M10×1.5 M10×1.5 M14×1.5 M18×1.5 |
10.2 11 15 17 22 28 38 40 45 55 |
2.8 2.8 2.8 2.8 2.8 2.8 2.8 2.8 4 4 |
6.3 7.3 7.5 8 9 10 10.5 11.8 14.5 20.5 |
6 6.5 — — — — — — — — |
||||||||||||||
|
8 9 11 11 14 18 |
12 12 15 15 20 20 |
|||||||||||||||||||||||||||||
|
内径 |
O |
P1 |
P3 |
P4 |
Q |
R |
S |
T1 |
T2 |
U |
V |
W |
X |
Y |
||||||||||||||||
|
12 |
M5×0.8 |
双边:f 6.5 牙:M5×0.8 通孔:f 4.2 |
12 |
4.5 |
13 |
— |
25 |
16.2 |
23 |
1.6 |
6 |
5 |
— |
— |
||||||||||||||||
|
16 |
M5×0.8 |
双边:f 6.5 牙:M5×0.8 通孔:f 4.2 |
12 |
4.5 |
13 |
— |
29 |
19.8 |
28 |
1.6 |
6 |
5 |
— |
— |
||||||||||||||||
|
20 |
M5×0.8 |
双边:f 6.5 牙:M5×0.8 通孔:f 4.2 |
14 |
4.5 |
16 |
2 |
34 |
24 |
— |
2.1 |
8 |
6 |
11.3 |
10 |
||||||||||||||||
|
25 |
M5×0.8 |
双边:f 8.2 牙:M6×1.0 通孔:f 4.6 |
15 |
5.5 |
19 |
2 |
40 |
28 |
— |
3.1 |
10 |
8 |
12 |
10 |
||||||||||||||||
|
32 |
PT1/8 |
双边:f 8.2 牙:M6×l.0 通孔:f 4.6 |
16 |
5.5 |
21 |
6 |
44 |
34 |
— |
2.15 |
12 |
10 |
18.3 |
15 |
||||||||||||||||
|
40 |
PT1/8 |
双边:f 10 牙:M8×1.25 通孔:f 6.5 |
20 |
7.5 |
21 |
6.5 |
52 |
40 |
— |
2.25 |
16 |
14 |
21.3 |
16 |
||||||||||||||||
|
50 |
PT¼ |
双边:f 11 牙:M8×1.25 通孔:f 6.5 |
25 |
8.5 |
21 |
9.5 |
62 |
48 |
— |
4.15 |
20 |
17 |
30 |
20 |
||||||||||||||||
|
63 |
PT¼ |
双边:f 11 牙:M8×1.25 通孔:f 6.5 |
25 |
8.5 |
21 |
9.5 |
75 |
60 |
— |
3.15 |
20 |
17 |
28.7 |
20 |
||||||||||||||||
|
80 |
PT3/8 |
双边:f 14 牙:M12×1.75 通孔:f 9.2 |
25 |
10.5 |
24 |
10 |
94 |
74 |
— |
3.65 |
25 |
22 |
36 |
26 |
||||||||||||||||
|
100 |
PT3/8 |
双边:f 17.5 牙:M14×2 通孔:f 11.3 |
30 |
13 |
24 |
10 |
114 |
90 |
— |
3.65 |
32 |
27 |
35 |
26 |
||||||||||||||||
|
双作 用多 位置 气缸、 双出 杆双 作用 多位 置气 缸结 构图 |
1—连接螺栓;2—后盖;3—C形扣环;4—前后盖;5,6—活塞;7,11—防撞垫片;8,15—活塞杆;9—消声器; 10—连接座;12—本体;13—前盖;14—前盖密封圈;16—螺母 |
|||||||||||||||||||||||||||||
|
双 作 用 多 位 置 气 缸 、 双 作 用 多 位 置 气 缸 带 磁 性 开 关 尺 寸 |
|
||||||||||||||||||||||||||||||||
|
内径 |
标准型 |
附磁型 |
D |
E |
F |
G |
K1 |
L |
M |
Nl |
N3 |
O |
X |
Y |
W |
||||||||||||||||||
|
A |
B1 |
C0 |
C1 |
A |
B1 |
C0 |
C1 |
行程 ≤10 |
行程 >10 |
||||||||||||||||||||||||
|
12 16 20 25 32 40 50 63 80 100 |
39 42.5 44.5 48 56 59 65 73 93 114 |
5 5.5 5.5 6 7 7 9 9 11 12 |
34 37 39 42 49 52 56 64 82 102 |
17 18.5 19.5 21 24.5 26 28 32 41 51 |
59 62.5 64.5 68 76 79 85 93 113 134 |
5 5.5 5.5 6 7 7 9 9 11 12 |
54 57 59 62 69 72 76 84 102 122 |
27 28.5 29.5 31 34.5 36 38 42 51 61 |
— — 36 42 50 58.5 71.5 84.5 104 124 |
6 6 8 10 12 12 15 15 |
4 4 4 4 4 4 5 5 6 7 |
1 1.5 1.5 2 3 3 4 4 5 5 |
M3×0.5 M3×0.5 M4×0.7 M5×0.8 M6×1 M8×1.25 M10×1.5 M10×1.5 M14×1.5 M18×1.5 |
10.2 11 15 17 22 28 38 40 45 55 |
2.8 2.8 2.8 2.8 2.8 2.8 2.8 2.8 4 4 |
6.3 7.3 7.5 8 9 10 10.5 11.8 — — |
6 6.5 — — — — — —
|
M5×0.8 M5×0.8 M5×0.8 M5×0.8 PT1/8 PT1/8 PT¼ PT¼ PT3/8 PT3/8 |
— — 11.3 12 18.3 21.3 30 28.7 36 35 |
— — 10 10 15 16 20 20 26 26 |
5 5 6 8 10 14 17 17 22 27 |
||||||||||||
|
15 18 |
18 20 |
||||||||||||||||||||||||||||||||
|
内径 |
P1 |
P2 |
P3 |
P4 |
R |
S |
T1 |
T2 |
U |
V |
|||||||||||||||||||||||
|
12 16 20 25 32 40 50 63 80 100 |
双边:f 6.5 牙:M5×0.8 通孔:f 4.2 双边:f 6.5 牙:M5×0.8 通孔:f 4.2 双边:f 6.5 牙:M5×0.8 通孔:f 4.2 双边:f 8.2 牙:M6×1.0 通孔:f 4.6 双边:f 8.2 牙:M6×l.0 通孔:f 4.6 双边:f 10 牙:M8×1.25 通孔:f 6.5 双边:f 11 牙:M8×1.25 通孔:f 6.5 双边:f 11 牙:M8×1.25 通孔:f 6.5 双边:f 14 牙:M12×1.75 通孔:f 9.2 双边:f 17.5 牙:M14×2 通孔:f 11.3 |
— — 双边:f 6.5 通孔:f 5.2 双边:f 8.2 通孔:f 6.2 双边:f 8.2 通孔:f 6.2 双边:f 10 通孔:f 8.2 双边:f 11 通孔:f 8.5 双边:f 11 通孔:f 8.5 双边:f 14 通孔:f 12.3 双边:f 17.5 通孔:f 14.2 |
12 12 14 15 16 20 25 25 25 30 |
4.5 4.5 4.5 5.5 5.5 7.5 8.5 8.5 10.5 13 |
— — 2 2 6 6.5 9.5 9.5 10 10 |
25 29 34 40 44 52 62 75 94 114 |
16.2 19.8 24 28 34 40 48 60 74 90 |
23 28 — — — — — — — — |
1.6 1.6 2.1 3.1 2.15 2.25 4.15 3.15 3.65 3.65 |
6 6 8 10 12 16 20 20 25 32 |
|||||||||||||||||||||||
|
双 作 用 双 出 杆 多 位 置 气 缸 、 双 作 用 双 出 杆 多 位 置 气 缸 带 磁 性 开 关 尺 寸 |
|
||||||||||||||||||||||||||||||||
|
内径 |
标准型 |
附磁型 |
D |
E |
F |
G |
K1 |
L |
M |
Nl |
N3 |
O |
X |
Y |
W |
||||||||||||||||||
|
A |
B1 |
C0 |
C1 |
A |
B1 |
C0 |
C1 |
行程 ≤10 |
行程 >10 |
||||||||||||||||||||||||
|
12 16 20 25 32 40 50 63 80 100 |
44 48 50 54 63 66 74 82 104 126 |
5 5.5 5.5 6 7 7 9 9 11 12 |
34 37 39 42 49 52 56 64 82 102 |
17 18.5 19.5 21 24.5 26 28 32 41 51 |
64 68 70 74 83 86 94 102 124 146 |
5 5.5 5.5 6 7 7 9 9 11 12 |
54 57 59 62 69 72 76 84 102 122 |
27 28.5 29.5 31 34.5 36 38 42 51 61 |
— — 36 42 50 58.5 71.5 84.5 104 124 |
6 6 8 10 12 12 15 15 |
4 4 4 4 4 4 5 5 6 7 |
1 1.5 1.5 2 3 3 4 4 5 5 |
M3×0.5 M3×0.5 M4×0.7 M5×0.8 M6×1 M8×1.25 M10×1.5 M10×1.5 M14×1.5 M18×1.5 |
10.2 11 15 17 22 28 38 40 45 55 |
2.8 2.8 2.8 2.9 2.8 2.8 2.8 2.8 4 4 |
6.3 7.3 7.5 8 9 10 10.5 11.8 14.5 20.5 |
6 6.5 — — — — — —
|
M5×0.8 M5×0.8 M5×0.8 M5×0.8 PT1/8 PT1/8 PT¼ PT¼ PT3/8 PT3/8 |
— — 11.3 12 18.3 21.3 30 28.7 36 35 |
— — 10 10 15 16 20 20 26 26 |
5 5 6 8 10 14 17 17 22 27 |
||||||||||||
|
15 18 |
20 20 |
||||||||||||||||||||||||||||||||
|
内径 |
P1 |
P2 |
P3 |
P4 |
R |
S |
T1 |
T2 |
U |
V |
|||||||||||||||||||||||
|
12 16 20 25 32 40 50 63 80 100 |
双边:f 6.5 牙:M5×0.8 通孔:f 4.2 双边:f 6.5 牙:M5×0.8 通孔:f 4.2 双边:f 6.5 牙:M5×0.8 通孔:f 4.2 双边:f 8.2 牙:M6×1.0 通孔:f 4.6 双边:f 8.2 牙:M6×l.0 通孔:f 4.6 双边:f 10 牙:M8×1.25 通孔:f 6.5 双边:f 11 牙:M8×1.25 通孔:f 6.5 双边:f 11 牙:M8×1.25 通孔:f 6.5 双边:f 14 牙:M12×1.75 通孔:f 9.2 双边:f 17.5 牙:M14×2 通孔:f 11.3 |
— — 双边:f 6.5 通孔:f 5.2 双边:f 8.2 通孔:f 6.2 双边:f 8.2 通孔:f 6.2 双边:f 10 通孔:f 8.2 双边:f 11 通孔:f 8.5 双边:f 11 通孔:f 8.5 双边:f 14 通孔:f 12.3 双边:f 17.5 通孔:f 14.2 |
12 12 14 15 16 20 25 25 25 30 |
4.5 4.5 4.5 5.5 5.5 7.5 8.5 8.5 10.5 13 |
— — 2 2 6 6.5 9.5 9.5 10 10 |
25 29 34 40 44 52 62 75 94 114 |
16.2 19.8 24 28 34 40 48 60 74 90 |
23 28 — — — — — — — — |
1.6 1.6 2.1 3.1 2.15 2.25 4.15 3.15 3.65 3.65 |
6 6 8 10 12 16 20 20 25 32 |
|||||||||||||||||||||||
|
表2 国产非ISO标准紧凑型气缸的厂商名录 |
|||||
|
厂商 |
型号 |
缸径、压力、温度范围 |
基本型式 |
派生型 |
备注 |
|
亚德客 Airtac |
SDA |
f 12~100mm 单作用:2~9bar 双作用:1~9bar -5~+70℃ |
单作用、双作用、可带/不带磁性 |
双出杆型(指活塞杆前端、后端均伸出)、行程可调型、多位置型、双出杆多位置型 |
|
|
亿日 Easun |
ESDA |
f 12~100mm 单作用:1~9bar 双作用:0.5~9bar 0~+70℃ |
单作用、双作用、可带/不带磁性 |
行程可调、双出杆型 |
|
|
方大 Fangda |
QGY |
f 20~100mm 标准型、带磁性开关型:1~10bar 单作用及前弹簧带开关型:2~10bar -25~+80℃ |
单作用、双作用、可带/不带磁性 |
|
|
|
法斯特 Fast |
DQGⅠ |
f 12~100mm 1.5~10bar -25~+80℃ |
可带/不带磁性 |
串联气缸、行程可调、带导向装置、双活塞型、双出杆型 |
|
|
恒立 Hengli |
QGC |
f 12~100mm 单作用:3~10bar 双作用:1~10bar -5~+60℃ |
单作用、双作用、可带/不带磁性 |
多位气缸、倍力气缸 |
|
|
华能 Huaneng |
QGDⅡ |
f 12~100mm |
单作用、双作用、可带/不带磁性 |
双出杆型、倍力气缸、多位置气缸 |
|










