|
XNJ型箱内吸油过滤器 |
|
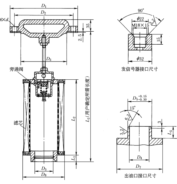
XNJ型过滤器通过安装法兰固定在油箱盖板上,滤芯直接插入油箱。该过滤器带有真空压力发信号器和旁路阀
XNJ型过滤器安装示意图 |
|
型号意义:
|
|
表1 技术规格 |
||||||||||
|
型 号 |
公称流量 /L·min-1 |
过滤 精度 /μm |
通径 /mm |
原始压力 损失 /MPa |
发信号装置 |
旁通阀 开启压力 /MPa |
滤芯型号 |
生产厂 |
||
|
电压/V |
电流/A |
|||||||||
|
XNJ-25×※ |
25 |
80
100
180 |
20 |
≤0.007 |
220 |
0.25 |
-0.02 |
JX-25×※ |
黎 明 液 压 机 电 厂 |
远 东 液 压 配 件 厂 |
|
XNJ-40×※ |
40 |
JX-40×※ |
||||||||
|
XNJ-63×※ |
63 |
32 |
JX-63×※ |
|||||||
|
XNJ-100×※ |
100 |
JX-100×※ |
||||||||
|
XNJ-160×※ |
160 |
50 |
JX-160×※ |
|||||||
|
XNJ-250×※ |
250 |
JX-250×※ |
||||||||
|
XNJ-400×※ |
400 |
80 |
JX-400×※ |
|||||||
|
XNJ-630×※ |
630 |
JX-630×※ |
||||||||
|
XNJ-800×※ |
800 |
90 |
JX-800×※ |
|||||||
|
XNJ-1000×※ |
1000 |
JX-1000×※ |
||||||||
|
XNJ型过滤器外形尺寸 |
||||||||||||
|
|
||||||||||||
|
表2 mm |
||||||||||||
|
型 号 |
D1 |
D2 |
D3 |
D4 |
D5 |
D6 |
D7 |
L1 |
L2 |
L3(最小) |
L5 |
d |
|
XNJ-25×※ |
f 125 |
f 105 |
f 85 |
f 20 |
f 25 |
f 80 |
f 46 |
8 |
75 |
210 |
20 |
f 9 |
|
XNJ-40×※ |
100 |
235 |
||||||||||
|
XNJ-63×※ |
f 150 |
f 130 |
f 110 |
f 32 |
f 40 |
f 106 |
f 56 |
110 |
250 |
|||
|
XNJ-100×※ |
140 |
280 |
||||||||||
|
XNJ-160×※ |
f 198 |
f 170 |
f 145 |
f 50 |
f 55 |
f 141 |
f 76 |
14 |
140 |
320 |
26 |
f 11 |
|
XNJ-250×※ |
160 |
340 |
||||||||||
|
XNJ-400×※ |
f 240 |
f 210 |
f 185 |
f 80 |
f 85 |
f 180 |
f 108 |
160 |
340 |
28 |
f 13.5 |
|
|
XNJ-630×※ |
190 |
370 |
||||||||||
|
XNJ-800×※ |
f 260 |
f 230 |
f 205 |
f 90 |
f 100 |
f 200 |
f 127 |
190 |
395 |
|||
|
XNJ-1000×※ |
220 |
425 |
||||||||||



