|
蓄能器的种类、特点和用途 |
||||
|
蓄能器是将压力液体的液压能转换为势能储存起来,当系统需要时再由势能转化为液压能而做功的容器。因此,蓄能器可以作为辅助的或者应急的动力源;可以补充系统的泄漏,稳定系统的工作压力,以及吸收泵的脉动和回路上的液压冲击等 |
||||
|
种类 |
简图及符号 |
特 点 |
用 途 |
说 明 |
|
重 力 式 |
|
结构简单,压力恒定;体积大,笨重,运动惯性大,有噪声,密封处易漏油并有摩擦损失 |
作蓄能或稳定工作压力用(在大型固定设备中)。最高工作压力可达45MPa |
应均匀地安置重物,柱塞运动的极限位置应设指示器或安全装置 |
|
弹 簧 式 |
|
结构简单,反应较灵敏;容量小,产生的压力取决于弹簧的刚度和压缩量,有噪声 |
供小容量及低压(≤1.2MPa)系统在循环频率低的情况下蓄能或缓冲用 |
作缓冲用时,要尽量靠近振动源 |
|
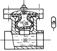
非 隔 离 式
气 瓶 式
|
|
容积大,惯性小,反应灵敏,占地面积小,无机械磨损;气体易混入油中,影响液压系统平稳性,必须经常充气。用惰性气体虽好,但费用较高;用空气时,油易氧化变质 |
适用于大流量的中、低压回路蓄能,也可吸收脉动。最高工作压力为5MPa |
一般充氮气,绝对禁止充氧气。油口应向下垂直安装,使气体封在壳体上部,避免进入管路 |
|
活 塞 式 |
|
气液隔离,油不易氧化,结构简单,寿命长,安装容易,维修方便;容量较小,缸体加工和活塞密封要求较高,反应不灵敏,活塞运动到最低位置时,空气易经活塞与缸体之间的间隙泄漏到油中去,有噪声 |
蓄能用,可传送异性液体,最高工作压力21MPa |
一般充氮气,绝对禁止充氧气。油口应向下垂直安装,使气体封在壳体上部,避免进入管路 有一种用柱塞代替活塞的柱塞式蓄能器,容量可较大,最高压力达45MPa |
|
液 体 密 封 活 塞 式 |
|
与普通活塞式蓄能器不同之处是可以防止气腔内的气体跑进液压系统,并且在液压油放空时,也不容易产生液压冲击 |
活塞下行,其凸出部分封住出油孔后,气腔压力要低于活塞下环形腔压力,因此气体不会进入液压系统 |
|
|
差 动 活 塞 式 |
|
与普通活塞式蓄能器不同之处是有两个活塞,能防止空气渗入油中,而且可以通一般压缩空气使液压工作压力提高数倍 |
蓄能用。最高工作压力为45MPa |
由于活塞下端的液体压力总是大于上端的气体压力,所以空气不会进入油中 |
|
气 囊 式 |
|
空气与油隔离,油不易氧化,尺寸小,重量轻,反应灵敏,充气方便 |
蓄能(折合型)、吸收冲击(波纹型),传送异性液体,最高工作压力200MPa |
充氮气 |
|
隔 膜 式 |
|
以隔膜代替气囊,壳体为球形,重量与体积比值最小;容量小 |
用于航空机械上蓄能、吸收冲击,可传送异性液体,最高工作压力7MPa |
充氮气 |
|
直 通 气 囊 式 |
|
响应快,节省空间 |
消除脉动和降低噪声,最高工作压力21MPa 不适于蓄能用 |
充氮气 |
|
盒 式 |
|
颈柱部分及约一半的橡胶囊(包括挡块)的重量像弹簧一样一体移动,构成动态吸振器,响应快 |
吸收高频脉动和降低系统噪声,最高工作压力21MPa 不适于蓄能用 |
充氮气 |
|
金属 波纹 管式 |
|
用金属波纹管取代气囊,灵敏性好,响应快,容量小 |
蓄能,吸收脉动,降低噪声,最高工作压力21MPa |
充氮气 |
|
活塞 隔膜 式 |
|
兼有活塞式容量大及隔膜式响应快的优点,工艺性好;有少量漏气 |
|
|
|
注:1.蓄能器与液压泵之间应装设单向阀,防止蓄能器的油在泵不工作时倒灌。 2.蓄能器与系统之间应装设截止阀,供充气、检查、维修蓄能器或者长时间停机时使用。 |
||||










