|
液压软管接头(根据GB/T 9065.1 ~ 9065.3—1988) |
||||||||||||||||||
|
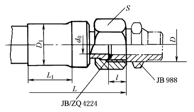
软管接头是用于液压橡胶软管与其他管路相连接的接头。橡胶软管总成的两端由接头芯、接头外套和接头螺母等组成。有的橡胶软管总成只要改变接头芯的型式,就可与扩口式、卡套式或焊接式管接头连接使用;还有的橡胶软管总成只要改变两端配套使用的接头,就可选择细牙普通螺纹(M)、圆柱管螺纹(G)、锥管螺纹(R)、圆锥管螺纹(NPT)或焊接接头等多种连接 按接头芯、接头外套和橡胶软管装配方式不同,又可分成扣压式和可拆式两种。扣压式接头在专用设备上扣压,密封可靠、结构紧凑、外径尺寸小。可拆式接头连接简易,容易更换橡胶软管,但密封性和质量难以保证 生产厂:焦作市路通液压附件有限公司、宁波液压附件厂等。 液压软管接头(根据GB/T 9065.1 ~ 9065.3—1988) 液压软管接头(根据GB/T 9065.1~9065.3—1988)液压软管接头适用于油、水、气介质,且与钢丝编织软管相连的;介质温度:油-30~80℃;空气-30~50℃;水80℃以下 接头型式可分为A型、B型、C型三种:A型接头可与扩口式管接头连接使用;B型接头可与卡套式管接头连接使用;C型接头可与焊接式管接头连接使用。其外形尺寸见下表
A型(GB/T9065.1—1988) B型(GB/T9065.2—1988)
C型(GB/T9065.3—1988) 标记示例 软管内径16mm,Ⅲ层钢丝,软管长度1000mm的A型软管接头: 软管接头 16Ⅲ-1000 GB/T 9065.1—1988 软管内径16mm,D0=18mm,Ⅲ层钢丝,软管长度1000mm的B型软管接头: 软管接头 16/18Ⅲ-1000 GB/T 9065.2—1988 软管内径16mm,Ⅲ层钢丝,软管长度1000mm的C型软管接头: 软管接头 16Ⅲ-1000 GB/T 9065.3—1988 mm |
||||||||||||||||||
|
软管 内径 |
公称 通径 |
工作压力/MPa |
D |
d0≈ |
D0 |
D1 |
l |
L1 |
S |
|||||||||
|
软管层数 |
A型 |
C型 |
A、 B型 |
C型 |
Ⅰ |
Ⅱ |
Ⅲ |
A型 |
B型 min |
C型 |
A型 |
B型 |
C型 |
|||||
|
Ⅰ |
Ⅱ、Ⅲ |
|||||||||||||||||
|
5 |
4 |
21 |
35 |
M12×1.5 |
M12×1.25 |
3.5 |
3 |
6 |
15 |
16.7 |
18.5 |
8 |
28 |
8 |
18 |
16 |
6 |
5 |
|
6.3 |
6 |
20 |
35 |
M14×1.5 |
— |
4 |
— |
8 |
17 |
18.7 |
20.5 |
9 |
28 |
8.5 |
27 |
18 |
8 |
6.3 |
|
8 |
8 |
17.5 |
32 |
M16×1.5 |
M16×1.5 |
6 |
6 |
10 |
19 |
20.7 |
22.5 |
10 |
30 |
8.5 |
27 |
21 |
10 |
8 |
|
10 |
10 |
16 |
28 |
M18×1.5 |
— |
7.5 |
— |
12 |
21 |
22.7 |
24.5 |
10 |
30 |
8.5 |
27 |
24 |
12 |
10 |
|
12.5 |
10 |
14 |
25 |
M22×1.5 |
M22×1.5 |
10 |
10 |
14 |
25.2 |
28 |
29.5 |
11 |
32 |
10 |
31 |
27 |
14 |
12.5 |
|
16 |
15 |
10.5 |
20 |
M27×1.5 |
M27×1.5 |
13 |
12 |
18 |
28.2 |
31 |
32.5 |
11 |
32 |
10 |
31 |
32 |
17 |
16 |
|
19 |
20 |
9 |
16 |
M33×2 |
M30×1.5 |
15 |
15 |
22 |
31.2 |
34 |
35.5 |
14 |
36 |
11 |
35 |
41 |
19 |
19 |
|
22 |
20 |
8 |
14 |
M36×2 |
— |
18.5 |
— |
25 |
34.2 |
37 |
38.5 |
14 |
38 |
13 |
35 |
41 |
24 |
22 |
|
25 |
25 |
7 |
14 |
M39×2 |
M36×2 |
21 |
20 |
28 |
38.2 |
40 |
41.5 |
14 |
38 |
13 |
39 |
46 |
30 |
25 |
|
31.5 |
32 |
4.4 |
11 |
M45×2 |
M42×2 |
27 |
25 |
34 |
46.5 |
48 |
49.5 |
15 |
41 |
15 |
42 |
55 |
36 |
31.5 |
|
38 |
40 |
3.5 |
9 |
— |
M52×2 |
33 |
32 |
42 |
52.5 |
54 |
— |
— |
42 |
17 |
46 |
— |
46 |
38 |
|
51 |
50 |
2.6 |
8 |
— |
M60×2 |
— |
36 |
— |
67.0 |
68.5 |
— |
— |
— |
23 |
— |
— |
— |
51 |
|
软 管 总 成 推 荐 长 度 |
总成长度L |
320 |
360 |
400 |
450 |
500 |
560 |
630 |
710 |
|
偏 差 |
|
|
|||||||
|
总成长度L |
800 |
900 |
1000 |
1120 |
1250 |
1400 |
1600 |
1800 |
|
|
偏 差 |
|
|
|||||||
|
总成长度L |
2000 |
2240 |
2500 |
2800 |
3000 |
4000~5000 |
>5000 |
||
|
偏 差 |
|
|
|||||||
|
注:软管按GB/T 3683《钢丝增强液压橡胶软管》的规定。 |
|||||||||


