|
ZFS型多路换向阀 |
|||||||||||||||
|
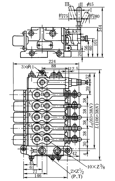
ZFS型多路换向阀是手动控制换向阀的组合阀,由2~5个三位六通手动换向阀、溢流阀、单向阀组成,可根据用途的不同选用。换向阀在中间位置时,主油路有中间全封闭式、压力口封闭式、B腔常闭式及压力油短路卸荷式等。主要用于多个工作机构(液压缸,液压马达)的集中控制 型号意义:
|
|||||||||||||||
|
表1 ZFS-L10C-Y﹡-﹡型外形尺寸 |
|||||||||||||||
|
公称通径 /mm |
最大流量 /L·min-1 |
工作压力 /MPa |
型 号 |
估计总重/kg |
|||||||||||
|
2连 |
3连 |
4连 |
5连 |
||||||||||||
|
10(3/8″) 20(3/4″) 25(1″) |
30 75 130 |
14.0 14.0 10.5 |
ZFS-L10 ZFS-L20 ZFS-L25 |
10.5 24 42 |
13.5 31.0 53.0 |
16.5 38 64 |
19.5 45 75 |
||||||||
|
ZFS滑阀机能 |
O型全闭口 |
|
A型A口升降用 |
|
|||||||||||
|
Y型油缸浮动 |
|
B型B口升降用 |
|
||||||||||||
|
连数N |
L0 |
L |
连数N |
L0 |
L |
连数N |
L0 |
L |
|||||||
|
1 2 |
101 139 |
144 182 |
3 4 |
177 215 |
220 258 |
5
|
253
|
296
|
|||||||
|
注:生产厂为榆次液压有限责任公司。 |
|||||||||||||||
|
表2 |
||||||||||||||||||||||||||
|
|
||||||||||||||||||||||||||
|
公称通径 |
型 号 |
连数 |
A |
A1 |
A2 |
A3 |
A4 |
A5 |
||||||||||||||||||
|
20(3/4") |
ZFS-L20C-Y※ |
1 2 3 4 |
236 293.5 351 408.5 |
204 261.5 319 376.5 |
16 |
48 |
54 |
57.5 |
||||||||||||||||||
|
25(1") |
ZFS-L25C-Y※ |
1 2 3 4 |
285 347.5 410 472.5 |
241 303.5 366 428.5 |
22 |
58 |
62.5 |
62.5 |
||||||||||||||||||
|
公称通径 |
连数 |
A6 |
A7 |
A8 |
B |
B1 |
B2 |
B3 |
B4 |
B5 |
B6 |
|||||||||||||||
|
20(3/4") |
1 2 3 4 |
54 |
48 |
16 |
371.5 |
184.5 |
9.5 |
78 |
73 |
18 |
213 |
|||||||||||||||
|
25(1") |
1 2 3 4 |
62.5 |
58 |
22 |
437 |
188 |
12 |
107 |
100 |
25 |
275 |
|||||||||||||||
|
公称通径 |
连数 |
C |
C1 |
C2 |
C3 |
Z |
T |
T1 |
T2 |
f W |
||||||||||||||||
|
20(3/4") |
1 2 3 4 |
275 |
121 |
54 |
30 |
Z3/4" |
110 |
67 |
60 |
15 |
||||||||||||||||
|
25(1") |
1 2 3 4 |
391 |
140 |
60 |
40 |
Z1" |
100 |
125 |
70 |
18 |
||||||||||||||||
|
注:生产厂为榆次液压有限责任公司。 |
||||||||||||||||||||||||||







