|
A6VG变量马达 |
|||
|
型号意义:
订货示例:A6VG,107HD1.6.F.Z.2.21.8 斜轴变量马达A6VG,规格107,液控变量,Δp=1MPa,结构6,侧面SAE法兰连接,德标花键,第2种装配方式,最小排量Vgmin=21.8mL/r |
|||
|
表1 技术参数 |
|||
|
规 格 |
107 |
125 |
|
|
HD液控变量 |
● |
● |
|
|
HA高压自动变量 |
● |
● |
|
|
MA手动变量 |
● |
● |
|
|
排量/mL·r-1 |
Vgmax |
107 |
125 |
|
Vgmin |
21.8 |
21.8 |
|
|
最大允许流量Qgmax/L·min-1 |
342 |
400 |
|
|
最高转速(在Qmax下)nmax/r·min-1 |
在Vgmax |
3200 |
3200 |
|
在Vg<Vgmax |
4200 |
4200 |
|
|
转矩常数Mx/N·m·MPa-1 |
在Vgmax |
1.7 |
1.7 |
|
在Vgmin |
0.35 |
0.34 |
|
|
最大转矩(在Δp=35MPa)Mmax/N·m |
在Vgmax |
594 |
696 |
|
在Vgmin |
171 |
201 |
|
|
最大输出功率(在35MPa和Qmax下)/kW |
187 |
199 |
|
|
惯性矩/kg·m2 |
0.0127 |
0.0127 |
|
|
质量/kg |
46.5 |
46.5 |
|
|
注:表中“●”表示有规格产品。 |
|||
|
(1) HD1D液控恒压变量 恒压控制是在HD功能基础上增加的。如果系统压力由于负载转矩或由于马达摆角减小而升高,则达到恒压控制的设定值时,马达摆到较大的摆角。由于增大排量和减小压力,控制偏差消失。通过增大排量,马达在恒压下产生较大转矩。通过在油口G2处施加一压力信号可得到第二个恒压设定压力。如起升和下降,该信号需在2~5MPa之间。恒压控制阀的设定范围为8~40MPa |
|
|
标准型:按第2种装配方式供货 控制起点在Vgmax(最大转矩、最低转速) 控制起点在Vgmin(最小转矩、最高转速) (2) HA高压自动变量 按工作压力自动控制马达排量 标准型:按第1种装配方式供货 控制起点在Vgmin(最小转矩、最高转速) 控制终点在Vgmax(最大转矩、最低转速) 此种变量方式,当A口或B口的内部工作压力达到设定值时,马达由最小排量Vgmin向最大排量Vgmax转变。控制起点在8~35MPa间转变 有两种方式供选用: HA1——在控制范围内,工作压力保持恒定,Δp=1MPa,从Vgmin变至Vgmax时,压力升高约为1MPa; HA2——在控制范围内,工作压力保持恒定,Δp=10MPa,从Vgmin变至Vgmax时,压力升高约为10MPa |
|
|
HA变量可在X口进行外控(即带有超调),在这种情况下,变量机构的压力设定值(工作压力)按每0.1MPa先导(外控)压力下降1.6MPa的比率降低。例如:变量机构起始变量压力设定值为30MPa,先导压力(X口)0MPa时变量起点在30MPa,先导压力(X口)1MPa时变量起点在14MPa(30MPa-10×1.6MPa=14MPa)
带有超调的HA变量有两种方法供选用: HA1H——在控制范围内,工作压力保持恒定,Δp=1MPa; HA2H——在控制范围内,工作压力保持恒定,Δp=10MPa 如果控制仅需要达到最大排量,则允许先导压力最高为5MPa。外控口X处的供油量约0.5L/min (3)MA手动变量 通过手轮驱动螺杆以调节马达的排量。按第1种装配方式
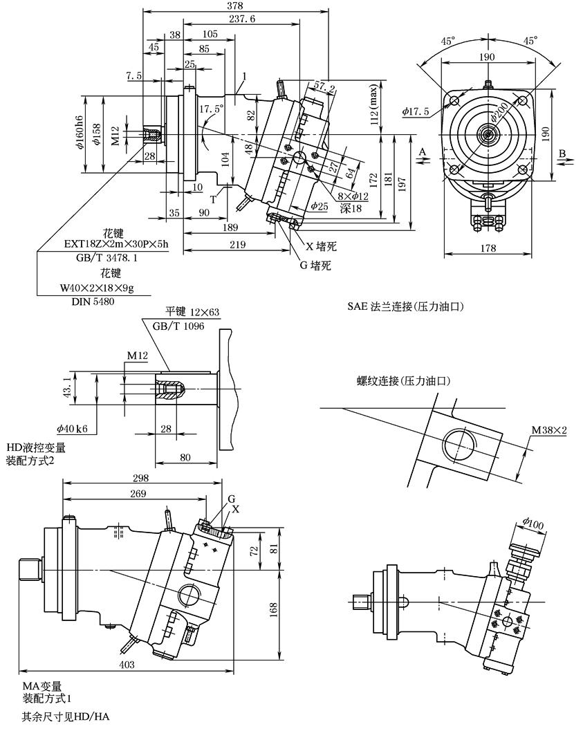
其余尺寸见HD/HA |
|
|
表2 外形尺寸 mm |
|
规格107、125 HA高压自动变量 装配方式1
|
|
注:A,B—工作油口;G—多元件同步控制和遥控压力油口;X—先导(外控)油口;T—壳体油口。 |





