|
A7V型斜轴式轴向变量柱塞泵 |
||||||||||
|
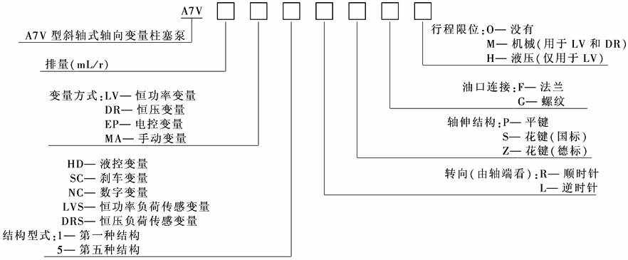
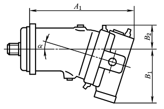
A※V斜轴式轴向柱塞泵(马达)的结构特点为:采用大压力角向心推力串联轴承组,主轴与缸体间通过连杆柱塞副中的连杆传递运动,采用双金属缸体,中心轴和球面配油盘使缸体自行定心,拨销带动配油盘在后盖弧形轨道上滑动改变缸体摆角实现变量。它与斜盘式轴向柱塞泵相比,具有柱塞侧向力小、缸体摆角较大、配油盘分布圆直径小、转速高、自吸能力强、耐冲击性能好、效率高、易于实现多种变量方式等优点 (1) A7V型斜轴式轴向变量柱塞泵 型号意义:
A7V型斜轴式轴向变量柱塞泵结构 注:1.结构型式1的特点是:高性能的旋转组件及球面配油盘,可实现自动对中,低转速,高效率;驱动轴能承受径向载荷;寿命长;低噪声级 2.结构型式5.1的特点是:具有提高技术数据后的新型高性能旋转组件及经过考验的球面配油盘;结构紧凑 表1 技术参数 |
||||||||||
|
型 号 |
压力/MPa |
排量/mL·r-1 |
最高转速/r·min-1 |
流量 (1450 r/mm) /L·min-1 |
功率 (35 MPa) /kW |
转矩 (35 MPa) /N·m |
质量 /kg |
|||
|
额定 |
最高 |
最大 |
最小 |
吸口压力 0.1MPa |
吸口压力 0.15MPa |
|||||
|
A7V20 |
35 |
40 |
20.5 |
0 |
4100 |
4750 |
28.8 |
17 |
114 |
19 |
|
A7V28 |
28.1 |
8.1 |
3000 |
3600 |
39.5 |
24 |
156 |
|||
|
A7V40 |
40.1 |
0 |
3400 |
3750 |
56.4 |
34 |
223 |
28 |
||
|
A7V55 |
54.8 |
15.8 |
2500 |
3000 |
77.1 |
46 |
305 |
|||
|
A7V58 |
58.8 |
0 |
3000 |
3350 |
82.3 |
50 |
326 |
44 |
||
|
A7V80 |
80 |
23.1 |
2240 |
2750 |
112.5 |
68 |
446 |
|||
|
A7V78 |
78 |
0 |
2700 |
3000 |
109.7 |
66 |
431 |
53 |
||
|
A7V107 |
107 |
30.8 |
2000 |
2450 |
150.5 |
91 |
594 |
|||
|
A7V117 |
117 |
0 |
2360 |
2650 |
164.6 |
99 |
651 |
76 |
||
|
A7V160 |
160 |
46.2 |
1750 |
2100 |
235 |
135 |
889 |
|||
|
A7V250 |
250 |
0 |
1500 |
1850 |
— |
— |
1391 |
105 |
||
|
A7V355 |
355 |
0 |
1320 |
1650 |
— |
— |
1975 |
165 |
||
|
A7V500 |
500 |
0 |
1200 |
1500 |
— |
— |
2782 |
245 |
||
|
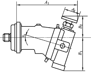
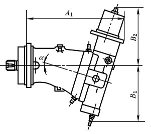
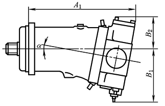
表2 外形尺寸 mm |
||||||||||||||||||||||||||||||||||||||||||||||||||||||||||
|
|
||||||||||||||||||||||||||||||||||||||||||||||||||||||||||
|
规格 |
a |
A1 |
A2 |
A3 |
A4 |
A5 |
A6 |
A7 |
A8 |
A9 |
A10 |
A11 |
A12 |
A13 |
A14 |
A15 |
A16 |
A17 |
A18 |
|||||||||||||||||||||||||||||||||||||||
|
20 |
9° |
251 |
221 |
199 |
107 |
75 |
25 |
15 |
19 |
43 |
160 |
100 |
85 |
20 |
52 |
35.7 |
38 |
60.0 |
94 |
|||||||||||||||||||||||||||||||||||||||
|
28 |
16° |
260 |
232 |
195 |
140 |
95 |
34 |
50 |
||||||||||||||||||||||||||||||||||||||||||||||||||
|
40 |
9° |
317 |
287 |
255 |
123 |
108 |
32 |
20 |
28 |
35 |
244 |
125 |
— |
23 |
63 |
42.9 |
50 |
77.8 |
102 |
|||||||||||||||||||||||||||||||||||||||
|
55 |
16° |
327 |
296 |
251 |
128 |
— |
106 |
41 |
||||||||||||||||||||||||||||||||||||||||||||||||||
|
58 |
9° |
374 |
337 |
304 |
152 |
137 |
23 |
40 |
295 |
140 |
— |
26.5 |
77 |
50.8 |
63 |
83.9 |
115 |
|||||||||||||||||||||||||||||||||||||||||
|
80 |
16° |
385 |
347 |
300 |
— |
113 |
48 |
|||||||||||||||||||||||||||||||||||||||||||||||||||
|
78 |
9° |
381 |
310 |
145 |
130 |
40 |
25 |
45 |
298 |
160 |
— |
29 |
80 |
|||||||||||||||||||||||||||||||||||||||||||||
|
107 |
16° |
393 |
358 |
305 |
— |
130 |
50 |
|||||||||||||||||||||||||||||||||||||||||||||||||||
|
117 |
9° |
443 |
402 |
364 |
214 |
156 |
28 |
36 |
50 |
350 |
180 |
— |
33 |
93 |
61.9 |
75 |
106.4 |
135 |
||||||||||||||||||||||||||||||||||||||||
|
160 |
16° |
454 |
414 |
357 |
213 |
156 |
— |
— |
58 |
88 |
||||||||||||||||||||||||||||||||||||||||||||||||
|
规格 |
A19 |
A20 |
A21 |
A22 |
A23 |
A24 |
A25 |
A26 |
A27 |
A28 |
A29 |
A30 |
A31 |
A32 |
A33 |
A34 |
A35 |
A36 |
A37 |
A38 |
||||||||||||||||||||||||||||||||||||||
|
20 |
78 |
132 |
M12 |
95 |
M8 |
118 |
23.5 |
11 |
125 |
58 |
58 |
193 |
— |
50.8 |
19 |
23.8 |
46 |
19 |
— |
M10 |
||||||||||||||||||||||||||||||||||||||
|
28 |
59 |
145 |
80 |
189 |
33 |
|||||||||||||||||||||||||||||||||||||||||||||||||||||
|
40 |
87 |
166 |
109 |
M12 |
150 |
29 |
13.5 |
160 |
71 |
81 |
253 |
261 |
53 |
23 |
98 |
|||||||||||||||||||||||||||||||||||||||||||
|
55 |
64 |
182 |
91 |
249 |
— |
40 |
— |
|||||||||||||||||||||||||||||||||||||||||||||||||||
|
58 |
93 |
168 |
133 |
165 |
33 |
180 |
86 |
92 |
301 |
313 |
57.2 |
25 |
27.8 |
64 |
26 |
109 |
M12 |
|||||||||||||||||||||||||||||||||||||||||
|
80 |
68 |
194 |
— |
297 |
— |
47 |
— |
|||||||||||||||||||||||||||||||||||||||||||||||||||
|
78 |
101 |
180 |
120 |
190 |
17.5 |
200 |
89 |
93 |
306 |
318 |
28 |
119 |
||||||||||||||||||||||||||||||||||||||||||||||
|
107 |
73 |
200 |
98 |
301 |
— |
49 |
— |
|||||||||||||||||||||||||||||||||||||||||||||||||||
|
117 |
114 |
195 |
M16 |
137 |
M16 |
210 |
34 |
224 |
104 |
113 |
359 |
369 |
66.7 |
32 |
31.8 |
70 |
32 |
136 |
M14 |
|||||||||||||||||||||||||||||||||||||||
|
160 |
83 |
222 |
112 |
354 |
— |
57 |
— |
|||||||||||||||||||||||||||||||||||||||||||||||||||
|
规格 |
A40 |
A41 |
A42 |
A43 |
A44 |
A45 |
A46 |
A47 |
A48 |
A49 |
A50 |
A51 |
A52 |
A53 |
A54 |
A55 |
A56 |
A57 |
||||||||||||||||||||||||||||||||||||||||
|
20 |
M27×2 |
27.9 |
25 |
50 |
38 |
M3 |
257 |
226 |
230 |
108 |
42 |
8.8 |
8 |
161 |
14 |
176 |
77 |
104 |
||||||||||||||||||||||||||||||||||||||||
|
28 |
269 |
234 |
242 |
186 |
58 |
84 |
||||||||||||||||||||||||||||||||||||||||||||||||||||
|
40 |
M33×2 |
32.9 |
30 |
60 |
40 |
M4 |
323 |
290 |
279 |
134 |
— |
11.2 |
10 |
184 |
16 |
204 |
85 |
117 |
||||||||||||||||||||||||||||||||||||||||
|
55 |
337 |
299 |
292 |
215 |
62 |
98 |
||||||||||||||||||||||||||||||||||||||||||||||||||||
|
58 |
M42×2 |
38 |
35 |
70 |
62 |
M5 |
378 |
344 |
330 |
155.5 |
52 |
18 |
16 |
228 |
24 |
251 |
91 |
116 |
||||||||||||||||||||||||||||||||||||||||
|
80 |
391 |
354 |
343 |
265 |
65 |
91 |
||||||||||||||||||||||||||||||||||||||||||||||||||||
|
78 |
43.1 |
40 |
80 |
55 |
385 |
352 |
338 |
169 |
236 |
261 |
99 |
124 |
||||||||||||||||||||||||||||||||||||||||||||||
|
107 |
400 |
363 |
351 |
276 |
71 |
97 |
||||||||||||||||||||||||||||||||||||||||||||||||||||
|
117 |
M48×2 |
48.5 |
45 |
90 |
65 |
445 |
408 |
354 |
192 |
65 |
266 |
294 |
111 |
137 |
||||||||||||||||||||||||||||||||||||||||||||
|
160 |
461 |
420 |
399 |
310 |
79 |
108 |
||||||||||||||||||||||||||||||||||||||||||||||||||||
|
规格 |
A58 |
A59 |
A60 |
A61 |
A62 |
平 键 GB/T 1096 |
花 键 GB/T 3478.1 |
R1 |
油 口 |
|||||||||||||||||||||||||||||||||||||||||||||||||
|
R |
A1、K3 |
|||||||||||||||||||||||||||||||||||||||||||||||||||||||||
|
20 |
129 |
35 |
30 |
228 |
92 |
2×10 |
8×40 |
EXT18Z×1.25m×30R×5f |
12 |
M16×1.5 |
M12×1.5 |
|||||||||||||||||||||||||||||||||||||||||||||||
|
28 |
114 |
238 |
73 |
|||||||||||||||||||||||||||||||||||||||||||||||||||||||
|
40 |
147 |
30 |
276 |
104 |
3×10 |
8×50 |
EXT14Z×2m×30R×5f |
16 |
||||||||||||||||||||||||||||||||||||||||||||||||||
|
55 |
128 |
288 |
83 |
|||||||||||||||||||||||||||||||||||||||||||||||||||||||
|
58 |
142 |
33 |
33 |
328 |
104 |
5×16 |
10×56 |
EXT16Z×2m×30R×5f |
M18×1.5 |
M18×1.5 |
||||||||||||||||||||||||||||||||||||||||||||||||
|
80 |
120 |
339 |
80 |
|||||||||||||||||||||||||||||||||||||||||||||||||||||||
|
78 |
150 |
336 |
112 |
12×63 |
EXT18Z×2m×30R×5f |
20 |
||||||||||||||||||||||||||||||||||||||||||||||||||||
|
107 |
126 |
348 |
86 |
|||||||||||||||||||||||||||||||||||||||||||||||||||||||
|
117 |
164 |
34 |
34 |
382 |
125 |
14×70 |
EXT21Z×2m×30R×5f |
M22×1.5 |
M20×1.5 |
|||||||||||||||||||||||||||||||||||||||||||||||||
|
160 |
137 |
396 |
96 |
|||||||||||||||||||||||||||||||||||||||||||||||||||||||
|
规格20 A1和X3仅用于带压力限位 其余规格A1和X3用于遥控 |
||||||||||||||||||||||||||||||||||||||||||||||||||||||||||||||||||||||||||||||
|
规格 |
α |
A1 |
A2 |
A3 |
A4 |
A5 |
A6 |
A7 |
规格 |
α |
A1 |
A2 |
A3 |
A4 |
A5 |
A6 |
A7 |
|||||||||||||||||||||||||||||||||||||||||||||||||||||||||||||
|
20 |
9° |
251 |
134 |
95 |
106 |
38 |
— |
— |
78 |
|
380 |
180 |
114 |
147 |
60 |
|
70 |
|||||||||||||||||||||||||||||||||||||||||||||||||||||||||||||
|
40 |
315 |
166 |
107 |
127 |
40 |
14 |
53 |
117 |
9° |
441 |
199 |
132 |
165 |
65 |
14 |
83 |
||||||||||||||||||||||||||||||||||||||||||||||||||||||||||||||
|
58 |
372 |
160 |
138 |
62 |
15 |
69 |
||||||||||||||||||||||||||||||||||||||||||||||||||||||||||||||||||||||||
|
|
规格 |
α |
A1 |
A2 |
A3 |
A4 |
A5 |
A6 |
A7 |
|||||||||||||||||||||||||||||||||||||||||||||||||||||||||||||||||||||
|
20 |
9° |
248 |
182 |
144 |
113 |
54 |
216 |
75 |
||||||||||||||||||||||||||||||||||||||||||||||||||||||||||||||||||||||
|
28 |
16° |
252 |
188 |
130 |
121 |
41 |
229 |
75 |
||||||||||||||||||||||||||||||||||||||||||||||||||||||||||||||||||||||
|
40 |
9° |
312 |
267 |
201 |
130 |
49 |
234 |
110 |
||||||||||||||||||||||||||||||||||||||||||||||||||||||||||||||||||||||
|
55 |
16° |
318 |
271 |
184 |
140 |
29 |
249 |
84 |
||||||||||||||||||||||||||||||||||||||||||||||||||||||||||||||||||||||
|
58 |
9° |
367 |
320 |
249 |
141 |
52 |
245 |
111 |
||||||||||||||||||||||||||||||||||||||||||||||||||||||||||||||||||||||
|
80 |
16° |
373 |
325 |
231 |
154 |
29 |
264 |
105 |
||||||||||||||||||||||||||||||||||||||||||||||||||||||||||||||||||||||
|
78 |
9° |
374 |
325 |
254 |
153 |
55 |
257 |
122 |
||||||||||||||||||||||||||||||||||||||||||||||||||||||||||||||||||||||
|
107 |
16° |
381 |
330 |
234 |
167 |
31 |
227 |
106 |
||||||||||||||||||||||||||||||||||||||||||||||||||||||||||||||||||||||
|
117 |
9° |
434 |
381 |
294 |
172 |
64 |
279 |
132 |
||||||||||||||||||||||||||||||||||||||||||||||||||||||||||||||||||||||
|
160 |
16° |
442 |
387 |
272 |
187 |
36 |
298 |
114 |
||||||||||||||||||||||||||||||||||||||||||||||||||||||||||||||||||||||
|
|
规格 |
α |
A1 |
A2 |
A3 |
A4 |
||||||||||||||||||||||||||||||||||||||||||||||||||||||||||||||||||||||||
|
20 |
9° |
251 |
108 |
175 |
95 |
|||||||||||||||||||||||||||||||||||||||||||||||||||||||||||||||||||||||||
|
28 |
16° |
260 |
108 |
190 |
80 |
|||||||||||||||||||||||||||||||||||||||||||||||||||||||||||||||||||||||||
|
40 |
9° |
315 |
134 |
197 |
107 |
|||||||||||||||||||||||||||||||||||||||||||||||||||||||||||||||||||||||||
|
55 |
16° |
323 |
134 |
215 |
89 |
|||||||||||||||||||||||||||||||||||||||||||||||||||||||||||||||||||||||||
|
58 |
9° |
372 |
155.5 |
215 |
107 |
|||||||||||||||||||||||||||||||||||||||||||||||||||||||||||||||||||||||||
|
80 |
16° |
380 |
155.5 |
235 |
86 |
|||||||||||||||||||||||||||||||||||||||||||||||||||||||||||||||||||||||||
|
78 |
9° |
380 |
169 |
246 |
114 |
|||||||||||||||||||||||||||||||||||||||||||||||||||||||||||||||||||||||||
|
107 |
16° |
390 |
169 |
270 |
92 |
|||||||||||||||||||||||||||||||||||||||||||||||||||||||||||||||||||||||||
|
117 |
9° |
441 |
192 |
261 |
132 |
|||||||||||||||||||||||||||||||||||||||||||||||||||||||||||||||||||||||||
|
160 |
16° |
450 |
192 |
285 |
107 |
|||||||||||||||||||||||||||||||||||||||||||||||||||||||||||||||||||||||||
|
|
规格 |
α |
A1 |
A2 |
B1 |
B2 |
||||||||||||||||||||||||||||||||||||||||||||||||||||||||||||||||||||||||
|
20 |
9° |
— |
— |
— |
— |
|||||||||||||||||||||||||||||||||||||||||||||||||||||||||||||||||||||||||
|
28 |
16° |
— |
— |
— |
— |
|||||||||||||||||||||||||||||||||||||||||||||||||||||||||||||||||||||||||
|
40 |
9° |
317 |
100 |
175 |
132.5 |
|||||||||||||||||||||||||||||||||||||||||||||||||||||||||||||||||||||||||
|
58 |
9° |
— |
— |
— |
— |
|||||||||||||||||||||||||||||||||||||||||||||||||||||||||||||||||||||||||
|
80 |
16° |
— |
— |
— |
— |
|||||||||||||||||||||||||||||||||||||||||||||||||||||||||||||||||||||||||
|
78 |
9° |
315 |
100 |
180 |
157.5 |
|||||||||||||||||||||||||||||||||||||||||||||||||||||||||||||||||||||||||
|
107 |
16° |
383 |
100 |
270.5 |
132.5 |
|||||||||||||||||||||||||||||||||||||||||||||||||||||||||||||||||||||||||
|
117 |
9° |
— |
— |
— |
— |
|||||||||||||||||||||||||||||||||||||||||||||||||||||||||||||||||||||||||
|
160 |
16° |
445 |
100 |
225 |
143 |
|||||||||||||||||||||||||||||||||||||||||||||||||||||||||||||||||||||||||
|
250 |
26.5° |
584 |
120 |
320 |
230 |
|||||||||||||||||||||||||||||||||||||||||||||||||||||||||||||||||||||||||
|
NC:数字变量
|
LVS:恒功率负荷传感变量
|
|||||||||||||||||||||||||||||||||||||||||||||||||||||||||||||||||||||||||||||
|
DRS:恒压负荷传感变量
|
SC:刹车变量
|
|||||||||||||||||||||||||||||||||||||||||||||||||||||||||||||||||||||||||||||
|
A7V250~500 LV:恒功率变量
A,B—工作油口;S—吸油口;G—遥控压力口;(总功率控制口);X1—先导压力口;X2—遥控压力口;A1,X3—遥控阀油口;T,T1—先导油回油口;R—排气口;U—冲洗口 |
||||||||||||||||||||||||||||||||||||||||||||||||||||||||||||||||||||||||||||||
|
规格 |
A1 |
A2 |
A3 |
A4 |
A5 |
A6 |
A7 |
A8 |
A9 |
A10 |
A11 |
A12 |
A13 |
A14 |
A15 |
A16 |
A17 |
A18 |
A19 |
|||||||||||||||||||||||||||||||||||||||||||||||||||||||||||
|
250 |
491 |
450 |
364 |
134 |
120 |
13 |
36 |
50 |
25 |
58 |
371 |
224 |
M16 |
223 |
57 |
77.8 |
100 |
130.2 |
180 |
|||||||||||||||||||||||||||||||||||||||||||||||||||||||||||
|
335 |
552 |
511 |
412 |
160 |
142 |
42 |
50 |
28 |
82 |
427 |
280 |
M20 |
240 |
59 |
162 |
|||||||||||||||||||||||||||||||||||||||||||||||||||||||||||||||
|
500 |
615 |
563 |
465 |
194 |
175 |
15 |
50 |
30 |
464 |
315 |
252 |
68 |
92.1 |
125 |
152.4 |
185 |
||||||||||||||||||||||||||||||||||||||||||||||||||||||||||||||
|
规格 |
A20 |
A21 |
A22 |
A23 |
A24 |
A25 |
A26 |
A27 |
A28 |
A29 |
A30 |
A31 |
A32 |
A33 |
A34 |
A35 |
A36 |
A37 |
A38 |
A39 |
||||||||||||||||||||||||||||||||||||||||||||||||||||||||||
|
250 |
296 |
145 |
179 |
198 |
M16 |
44.5 |
20 |
134 |
128 |
M12 |
22 |
— |
280 |
122 |
252 |
354 |
32 |
66.7 |
95 |
31.8 |
||||||||||||||||||||||||||||||||||||||||||||||||||||||||||
|
355 |
328 |
157 |
194 |
206 |
M16 |
48.5 |
35 |
130 |
140 |
M16 |
18 |
360 |
320 |
166 |
335 |
407 |
40 |
79.4 |
80 |
36.6 |
||||||||||||||||||||||||||||||||||||||||||||||||||||||||||
|
500 |
343 |
194 |
230 |
— |
M16 |
53 |
35 |
144 |
150 |
M20 |
22 |
400 |
360 |
186 |
373 |
446 |
36.5 |
|||||||||||||||||||||||||||||||||||||||||||||||||||||||||||||
|
规格 |
A40 |
A41 |
A42 |
A43 |
A44 |
A45 |
A46 |
A47 |
A48 |
A49 |
A50 |
A51 |
A52 |
A53 |
A54 |
A55 |
A56 |
A57 |
A58 |
A59 |
||||||||||||||||||||||||||||||||||||||||||||||||||||||||||
|
250 |
51 |
M14 |
82 |
53.5 |
50 |
5×16 |
498 |
411 |
223 |
18 |
16 |
90 |
366 |
24 |
407 |
175 |
210 |
44.5 |
450 |
433 |
||||||||||||||||||||||||||||||||||||||||||||||||||||||||||
|
355 |
58 |
M16 |
105 |
64 |
60 |
562 |
470 |
252 |
18 |
16 |
90 |
397 |
444 |
187 |
225 |
48.5 |
511 |
492 |
||||||||||||||||||||||||||||||||||||||||||||||||||||||||||||
|
500 |
64 |
74.5 |
70 |
6×16 |
617 |
559 |
513 |
20.5 |
18 |
100 |
418 |
22 |
471 |
215 |
240 |
53 |
— |
535 |
||||||||||||||||||||||||||||||||||||||||||||||||||||||||||||
|
规格 |
A60 |
A61 |
平 键 |
花键 DIN 5480 |
油 口 |
||||||||||||||
|
G |
X1 |
X2 |
R |
U |
|||||||||||||||
|
250 |
169 |
145 |
14×80 |
W50×2×24×9g |
M14×1.5 |
M14×1.5 |
M14×1.5 |
M22×1.5 |
M14×1.5 |
||||||||||
|
355 |
182 |
157 |
18×100 |
W60×2×28×9g |
M16×1.5 |
M16×1.5 |
M16×1.5 |
M33×1.5 |
|||||||||||
|
500 |
210 |
— |
20×100 |
W70×3×22×9g |
M18×1.5 |
||||||||||||||
|
|
|||||||||||||||||||
|
规格 |
A1 |
A2 |
A3 |
A4 |
A5 |
A6 |
A7 |
A8 |
A9 |
A10 |
|||||||||
|
250 |
489 |
296 |
173 |
198 |
314 |
211 |
272 |
84 |
28 |
165 |
|||||||||
|
355 |
552 |
328 |
194 |
206 |
366 |
228 |
306 |
85 |
32 |
175 |
|||||||||
|
500 |
610 |
343 |
221 |
— |
417 |
241 |
— |
84 |
38 |
180 |
|||||||||
|
注:1.A,B—工作油口;S—吸油口;G—遥控压力口(总功率控制口);X1—先导压力口;X2—遥控压力口;A1,X3—遥控阀油口;T,T1—先导油回油口;R—排气口;U—冲洗口。 2.生产厂:北京华德液压泵分公司,贵阳航空液压件厂 |













