|
带导轨无杆气缸在滚珠直径测量设备上的应用 |
||
|
应用 原理 |
检测直径的设备 |
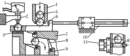
1—千分表;2—千分表托架;3—硬质测量面; 4—供料管;5—工件(球或滚子); 6—供料滑块;7—旋转模块;8—分类挡板; 9—分类通道;10—气缸;11—摆动气缸 |
|
在选择性装配操作中,工件要根据公差的一致性被选出来并配对。在实际中,这就意味着装配的工件必须预先分成公差组,图中显示了圆形对称工件的直径检验装置,供料滑块把工件分开并把它们插入到测试装置中,这个装置也可以是通过无接触方式操作的那一种,当供料滑块退回时,根据测试结果分别进入各自的分类通道。每个分类通道闸门将由叶片式摆动气缸来驱动。无杆气缸有一个连接导向块(即供料滑块),这意味着不需要采用带导向的无杆气缸,在这个应用中,也可使用其他的带不含旋转的活塞杆的气缸 |
||
|
适用 组件 |
①高精度导向气缸或防扭转紧凑型气缸;②叶片式摆动气缸;③接近开关;④单气控阀;⑤管接头;⑥安装附件 |
|

