|
气动软停止在生产线上快速喂料 |
||
|
应用 原理 |
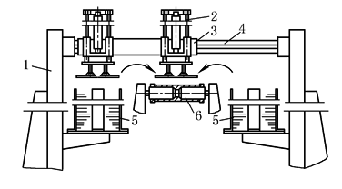
生产线的交替供料 1—框架;2—气动直线单元(气缸与导向装置);3—滑块;4—无杆气缸;5—料架;6—到生产线的传送供料装置 |
对工件需进行表面处理的装置来说,如印刷或胶黏,工件必须快速连续被安放到传送带上。一个普通的抓放系统往往不能达到预期的效果。尤其是从料架取出料后快速放置在生产线的传送带,采用“智能软停止系统”,它能使工作时间比使用普通气动驱动节省高达30%。这个例子是通过快速地从两个料架中交替进行放置/取料的形式,很好地解决了这一问题,它依靠一个带导轨无杆气缸的加长型滑块一送一放地巧妙取料思路来同步实现。两个气动直线单元(气缸与导向装置)的主要功能是真空吸盘的抓取与放置。如果传送带上安装了工件运输工具,工件是被精确地安装在这些运输工具中的,那么供给系统的动作必须和运输带的动作同步进行 |
|
适用 组件 |
①有导向装置标准气缸或导杆止动气缸;②带导轨无杆气缸或“智能软停止系统”:无杆气缸、位移传感器、流量比例伺服阀、智能软停止控制器单气控阀或阀岛;③接近开关;④吸盘;⑤真空发生器;⑥真空安全阀 |
|

