|
液压缓冲器等气动组件在钻孔机上的应用 |
||
|
应用 原理 |
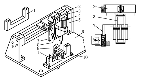
1—工件;2—无杆气缸;3—带安装架的连接件;4—钻机马达;5—固定脚架;6—基座;7—液压缓冲器;8—垂直导向单元(双活塞气缸);9—摆动夹紧气缸;10—工件挡块 |
在这类钻孔设备中,工件的插入和移去是靠人工来进行的,通过一个摆动夹紧气缸9将工件固定,在第一个孔钻完后,钻孔设备由无杆气缸移到第二个孔的位置钻孔。钻头供给装置通过一个液压缓冲器进行缓冲,这种设备的特色在于大多数部件采用了通用标准部件,因此,能够在没有详细设计图纸的情况下进行安装。一个工人能够同时操作这样的或同类型的多台机器,这种装置还可以用来进行测试或标号操作 |
|
适用 组件 |
①带导轨的无杆气缸;②安装附件;③单气控阀;④摆动夹紧气缸;⑤液压缓冲器;⑥接近开关;⑦双活塞气缸;⑧双手操作安全启动模块 |
|

