|
带液压缓冲器的直线单元在管子端面倒角机上的应用 |
||
|
应用 原理 |
|
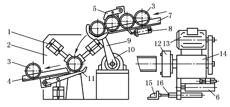
1—夹紧气缸;2—机架; 3—加工工件;4—输出传送带; 5—送料分配器; 6—直线驱动单元(小型短行程滑块驱动器); 7—滚子传送料架;8—气缸; 9—送料臂;10—旋转驱动单元(叶片式摆动气缸); 11—出料单元;12—切削头;13—电动机; 14—传动轴部分;15—挡块; 16—液压缓冲器 |
|
经常有不同长度的管件需要倒角,此机两端带有可调装置以适应不同长度的管件。气缸8通过送料分配器5将工件送入送料臂9,送料臂9中的工件在叶片式摆动气缸作旋转运动后将工件送入待加工位置。并由夹紧气缸夹紧后,由直线驱动单元6作进给倒角切削,它的进给速度可通过直线驱动单元6上的单向节流阀和液压缓冲器16来完成。从例子中可以看出,工件从一个滚子传送带取出,经过加工以后被送到另一个滚子传送带。工件在加工的时候必须夹紧,以防切削加工时工件移动。通过一个液压缓冲器被与工作平台平行运动,可保证工作平台的平滑进给 |
||
|
适用 组件 |
①小型滑块或导杆止动气缸;②无杆气缸或重载导轨;③单气控阀;④摆动气缸;⑤接近开关;⑥液压缓冲器;⑦紧凑型气缸;⑧圆形气缸;⑨安装附件 |
|

