|
无杆气缸/直线坐标气缸在钻孔机上的应用 |
|||
|
应用 原理 |
|
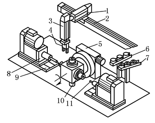
1—直线坐标气缸; 2—无杆气缸; 3—直线坐标气缸; 4—平行气爪; 5—气动旋转分度工作台; 6—进料斜槽; 7—出料斜槽;8—丝杠单元; 9—直线供料单元; 10—气动夹头; 11—切削或钻孔工具 |
对中、大批量的小工件进行钻孔、埋头钻和车倒角是机械加工中的典型操作。为了这些操作而设计特殊的装置是必要的。在这个例子当中,工件的运输工具包括大功率的气动夹头,此夹头在旋转分度工作台的帮助下,对水平轴进行分度,气动的抓放单元用来装载和卸载。如果该装置用在带有垂直工作丝杠的钻/磨机械中,在装载位置上,可进行进一步的工序操作。平行安装的液压缓冲器可以缓冲供料动作 |
|
适用 组件 |
①气动夹头;②单气控阀或阀岛;③组合滑台驱动器;④液压缓冲器;⑤直线坐标气缸;⑥平行气爪或3点气爪;⑦带导轨的无杆气缸;⑧接近开关;⑨气动旋转分度工作台 |
||

