|
外形及安装尺寸与动作特性 |
|
|
表1 滚轮及可变滚轮摆杆型的外形及安装尺寸 mm |
|
|
旋转摆杆型WL□是标准型,WL01□是微小负载型 |
|
|
滚
轮
摆
杆
型 |
滚轮摆杆型 WLCA2型 WL01CA2型 WLCA2-2型 WL01CA2-2型
|
|
滚轮摆杆型 WLCA2-7型 WL01CA2-7型
|
|
|
滚轮摆杆型 WLCA2-8型 WL01CA2-8型
|
|
|
可调滚轮摆杆型 WLCA12型 WL01CA12型
|
|
|
注:表列各种外形尺寸图中,未标明部分的尺寸公差为0.4mm。 |
|
|
表2 动作特性 |
|||||||||||||
|
动作特性 |
型 式 |
||||||||||||
|
WLCA2型 WL01CA2型 |
WLCA2-2型 WL01CA2-2型 |
WLCA2-7型 WL01CA2-7型 |
WLCA2-8型 WL01CA2-8型 |
WLCA12型① WL01CA12型① |
WLCA12-2型② WL01CA12-2型② |
||||||||
|
动作需要力 |
OF |
最大 |
13.34N |
8.83N |
10.2N |
8.04N |
13.34N |
8.83N |
|||||
|
恢复力 |
RF |
最小 |
2.23N |
0.49N |
1.67N |
1.34N |
2.23N |
0.49N |
|||||
|
动作前移动 |
PT |
|
15°±5° |
25°±5° |
15°±5° |
15°±5° |
15°±5° |
25°±5° |
|||||
|
动作后移动 |
OT |
最小 |
30° |
60° |
30° |
30° |
30° |
60° |
|||||
|
应差移动 |
MD |
最大 |
12° |
16° |
12° |
12° |
12° |
16° |
|||||
|
② WLCA12-2型、WL01CA12-2型动作特性为摆杆长度38mm时的值。 |
|||||||||||||
|
表3 可调杆状摆杆型、叉状摆杆锁定型外形及安装尺寸 mm |
|
可调杆状摆杆型 WLCL型WLCL-2型 WL01CL型WL01CL-2型 |
|
叉状摆杆锁定型 WLCA32-41~44型 WL01CA32-41~44型
|
|
注:1.表列各种外形尺寸图中,未标明部分的尺寸公差为0.4mm。 2.动作示意:
|
|
表4 动作特性 |
|||||||
|
动 作 特 性 |
型 式 |
动 作 特 性 |
型 式 |
||||
|
WLCL型① WL01CL型① |
WLCL-2型① WL01CL-2型① |
WLCA32-41~44型 WL01CA32-41~44型 |
|||||
|
动作需要力 |
OF |
最大 |
1.39N |
2.55N |
摆杆反转需要力 |
最大 |
11.77N |
|
恢复力 |
RF |
最小 |
0.22N |
0.1N |
摆杆反转前移动 |
|
50°±5° |
|
动作前移动 |
PT |
|
15°±5° |
25°±5° |
开关动作前移动 |
最小 |
55° |
|
动作后移动 |
OT |
最小 |
30° |
60° |
开关动作后移动 |
最大 |
35° |
|
应差移动 |
MD |
最大 |
12° |
16° |
|
|
|
|
① WLCL型、WL01CL型、WLCL-2型、WL01CL-2型动作特性均为摆杆长148mm时的值。 |
|||||||
|
表5 柱塞型行程开关的外形及安装尺寸与动作特性 mm |
||||||||
|
顶部柱塞型 WLD型 WL01D型
|
||||||||
|
侧面柱塞型 WLSD型 WL01SD型
|
||||||||
|
顶部滚轮柱塞型 WLD2型 WL01D2型
|
||||||||
|
侧面滚轮柱塞型 WLSD2型 WL01SD2型
|
||||||||
|
顶部球形柱塞型 WLD3型 WL01D3型
|
||||||||
|
侧面球形柱塞型 WLSD3型 WL01SD3型
|
||||||||
|
密封顶部滚轮柱塞型 WLD28型 WL01D28型
|
||||||||
|
动 作 特 性 |
型 式 |
|||||||
|
WLD型 WL01D型 |
WLD2型 WL01D2型 |
WLD3型 WL01D3型 |
WLD28型 WL01D28型 |
|||||
|
动作需要力 |
OF |
最大 |
26.67N |
26.67N |
26.67N |
16.67N |
||
|
恢复力 |
RF |
最小 |
8.92N |
8.92N |
8.92N |
4.41N |
||
|
动作前移动 |
PT |
最大 |
1.7mm |
1.7mm |
1.7mm |
1.7mm |
||
|
动作后移动 |
OT |
最小 |
6.4mm |
5.6mm |
4mm |
5.4mm |
||
|
应差移动 |
MD |
最大 |
1mm |
1mm |
1mm |
1mm |
||
|
动作位置 |
OP |
|
(34±0.8)mm |
(44±0.8)mm |
(44.5±0.8)mm |
(44±0.8)mm |
||
|
动作限定位置 |
TTP |
最大 |
29.5mm |
39.5mm |
41mm |
39.5mm |
||
|
动 作 特 性 |
型 式 |
|||||||
|
WLSD2型 WL01SD2型 |
WLSD3型 WL01SD3型 |
WLSD型 WL01SD型 |
||||||
|
动作需要力 |
OF |
最大 |
40.03N |
40.03N |
40.03N |
|||
|
恢复力 |
RF |
最小 |
8.89N |
8.89N |
8.89N |
|||
|
动作前移动 |
PT |
最大 |
2.8mm |
2.8mm |
2.8mm |
|||
|
动作后移动 |
OT |
最小 |
5.6mm |
4mm |
6.4mm |
|||
|
应差移动 |
MD |
最大 |
1mm |
1mm |
1mm |
|||
|
动作位置 |
OP |
|
(54.2±0.8)mm |
(54.1±0.8)mm |
(40.6±0.8)mm |
|||
|
动作限定位置 |
TTP |
最大 |
— |
— |
— |
|||
|
注:表列各种外形尺寸中,未标明部分的尺寸公差为0.4mm。 |
||||||||
|
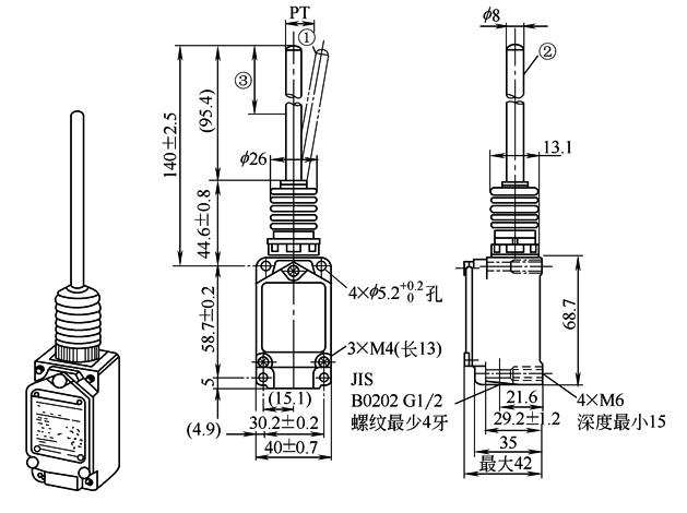
表6 簧(触须)型的外形及安装尺寸与动作特性 |
|||||
|
外 形 与 安 装 尺 寸 /mm |
盘簧型 WLNJ型 WL01NJ型
①除轴芯方向↓外,可从任何方向使其动作 ②不锈钢盘簧 ③操作体的最佳使用范围为盘簧杆端至盘簧全长的1/3以内 |
||||
|
盘簧型(多重螺旋型) WLNJ-30型 WL01NJ-30型
①除轴芯方向↓外,可从任何方向使其动作 ②钢琴线盘簧 ③操作体的最佳使用范围为盘簧杆端至盘簧全长的1/3以内 |
|||||
|
盘簧型(树脂杆型) WLNJ-2型 WL01NJ-2型
①除轴芯方向↓外,可从任何方向使其动作 ②环氧树脂杆 ③操作体的最佳使用范围为杆端至杆全长的1/3以内 |
|||||
|
钢丝型 WLNJ-S2型 WL01NJ-S2型
①除轴芯方向↓外,可从任何方向使其动作 ②不锈钢丝 ③操作体的最佳使用范围为钢丝端至钢丝全长的1/3以内 |
|||||
|
动 作 特 性 |
型 式 |
||||
|
WLNJ型① WL01NJ型① |
WLNJ型30① WL01NJ30型① |
WLNJ型-2① WL01NJ-2型① |
WLNJ-S2型① WL01NJ-S2型① |
||
|
动作需要力OF最大/N |
1.47 |
1.47 |
1.47 |
0.28 |
|
|
动作前移动PT/mm |
20±10 |
20±10 |
40±20 |
40±20 |
|
|
① 表示所列数值为簧片或钢丝尖端的值。 注:表列各外形尺寸中,未标明的尺寸公差为0.4mm。 |
|||||

















