|
无杆气缸/双活塞气缸/平行气爪/阻挡气缸在底部凹陷工件上抓取供料的应用 |
||
|
应用 原理 |
|
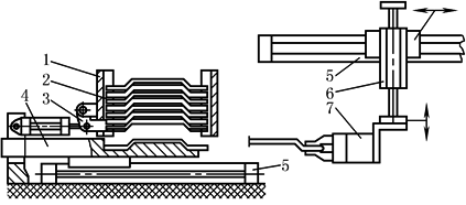
1—料架;2—工件(如片状金属冲压件); 3—阻挡杠杆;4—供料滑块; 5—无杆气缸;6—升降机构;7—气爪 |
|
底部有槽的工件不能用滑块简单地从料架中推出,因为它们的形状不允许这样做,图中所示的方法中,这个问题是通过一根阻挡杠杆来解决的。当供料滑块已经伸出供料的时候,将阻挡杠杆打开,允许料架中的物料向下移动并和供料滑块的平面区域接触,然后关闭阻挡杠杆重新夹住料架中的堆积物料,只有最下面的物料没有被夹住,当供料滑块退回时,工件才能掉到滑块成形的托架上,现在滑块又往前移动,把工件送往机器供料的处理设备中去 |
||
|
适用 组件 |
①无杆气缸(带导轨的无杆气缸或双活塞气缸);②接近开关;③单气控阀;④单向流量阀;⑤平行气爪;⑥连接适配器;⑦紧凑型气缸;⑧旋转法兰;⑨双耳环;⑩安装附件;管接头 |
|

