|
标准气缸在螺纹滚压机的供料应用 |
||
|
应用 原理 |
|
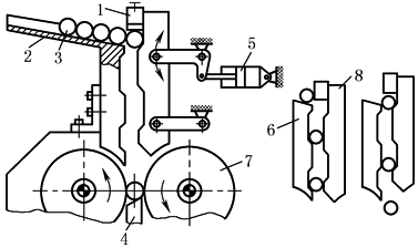
1—可调升降块;2—滚子传送机料架; 3—工件(未加工);4—硬质支撑臂; 5—气缸;6—固定的导向块; 7—螺纹滚压工具;8—供料可移动部件 |
|
滚压螺纹是一种很有效的无切削成形操作,整个加工过程通过自动化实现。图中显示了一个可行的方法,工件以很有序的方式从一供料系统传到机器的滚子传送机料架中,供料的可移动部件经过精巧设计,操作驱动一次,输送一个工件,当工件逐步地往下运动时,每一步都进行自定向,当工件到达支撑臂上的时候,已完全水平。通过螺纹机的螺纹方向进给,加工完毕的工件自动进入到成品收集箱中。这个装置的原理,也适合于带轴肩的或带头部的工件 |
||
|
适用 组件 |
①标准气缸;②接近开关;③双耳环;④安装脚架;⑤单向流量阀;⑥安装附件;⑦管接头 |
|

