|
双活塞气缸对工件的抓取和输送 |
||
|
应用 原理 |
|
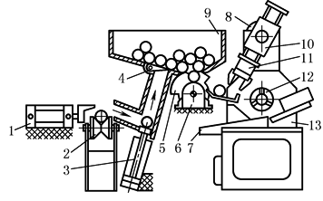
1—推进缸;2—滚子传送带(连接传送带); 3—插入气缸;4—装有弹簧的棘爪;5—进料器; 6—摆动气缸;7—输出槽;8—直线摆动组合单元; 9—堆料架;10—直线单元;11—夹具; 12—夹紧装置;13—机床 |
|
缓冲存储的任务就是缓解生产线上机器和机器间的不协调,提供一种较为松弛的连接,这种连接在个别机器出现故障的情况下可发挥巨大的作用。上图所示为一个缓冲存储从传送带接取条状工件(例如,直径在10~30mm之间,长为150~600mm),并暂时储存在中间料架中,在需要的时候,把工件输出到加工机器中。所有的动作可全部由气动组件完成。从滚子传送带推过来的工件通过插入气缸将其送入到堆料架中存储,当工件从堆料架中移出的时候,工件被一摆动供料设备分开,并通过一个三轴机械手输送到下一个机器中,系统的循环时间大约为5s |
||
|
适用 组件 |
①紧凑型气缸;②标准气缸;③安装脚架;④叶片式摆动气缸;⑤双活塞气缸;⑥平行气爪;⑦接近开关;⑧单气控阀;⑨安装附件;⑩管接头 |
|

