|
倍力气缸/放大曲柄机构对工件的夹紧工艺的应用 |
||
|
应用 原理 |
|
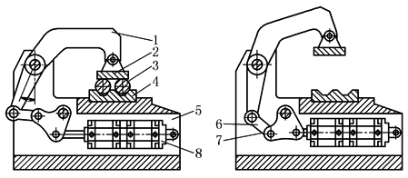
1—夹紧臂;2—压紧块;3—工件; 4—V形夹具;5—设备体;6—杠杆; 7—连杆;8—倍力气缸 |
|
在产品加工中,夹紧是一个基本的功能。正确的夹紧在保证高质量工件中扮演着很重要的角色。一个浮动压块保证把工件夹紧在V形夹具中的力是固定不变的,可以看到力传递路径中包含杠杆,该杆能在完全伸展的时候产生一个很大的面向夹具的压紧力F,该力被两个工件分配,所以每个工件所受的力为F/2。当夹紧装置打开的时候,必须要有足够的空间来放入工件,同时有必要用吹气清洁夹具,虽然如此,在加工完5~20个工件以后,夹紧点必须清理一下,必要时在无损伤的情况下把工件取出,为此目的,也可以使用直线摆动夹紧气缸。这些设备都有很好的保护措施,而且已经实现模块化,可大大简化系统的设计工作。夹紧臂的打开角可以在15°~135°之间调节 |
||
|
适用 组件 |
①倍力气缸;②接近开关;③单气控阀;④双耳环;⑤安装脚架;⑥安装附件;⑦管接头 |
|

