|
防扭转气缸、倍力气缸对需内芯插入部件进行的预加工工艺装配上的应用 |
|||
|
应用 原理 |
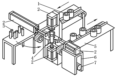
一些工件在加工和夹紧的过程中很容易变形,为了防止变形、保证加工精确性,必须要给工件装一个临时的芯棒以便进行加工处理,利用图示的系统可以达到这个目的。这个系统采用部分自动化。芯棒首先用人工方式放到送料器上,然后将工件移到夹紧位置,通过左、右边的气缸夹住,然后进行轴向气缸的定位加工操作。之后,轴向气缸退回,另一气缸(本图未画出)将加工好的工件输送到出料传送带上。夹套必须在加工完成以后去掉。通过手工将工件传送到下一工位 |
|
1—工件;2—轴向气缸: 倍力气缸,水平气缸(防扭 转紧凑型气缸或扁平气缸); 3—芯棒(安装); 4—支撑台;5—成品出料; 6—传送带驱动;7—驱动马达 |
|
适用 组件 |
①扁平气缸;②安装附件;③倍力气缸;④双手安全启动模块;⑤单气控阀;⑥接近开关;⑦管接头;⑧标准气缸;⑨安装脚架 |
||

