|
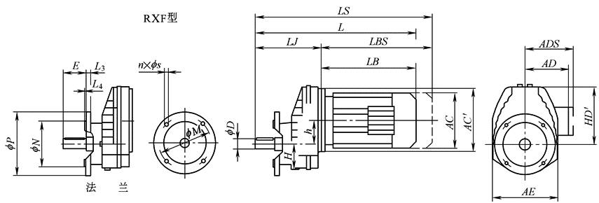
RX、RXF型外形、安装尺寸 |
|||||||||||||||||||||
|
mm |
|||||||||||||||||||||
|
型号 |
安 装 尺 寸 |
外形尺寸 |
|||||||||||||||||||
|
D |
E |
L1 |
L2 |
G |
F |
H |
h |
HA |
A |
AA |
AB |
K |
B |
BB |
BE |
LJ |
AC' |
AE |
HD |
HD' |
|
|
RX/RXF57 |
20k6 |
40 |
32 |
3.5 |
22.5 |
6 |
|
52 |
18 |
125 |
31 |
156 |
11 |
110 |
137 |
56 |
174 |
160 |
162 |
202 |
139 |
|
RX/RXF67 |
25k6 |
50 |
40 |
3.5 |
28 |
8 |
|
60 |
20 |
135 |
35 |
170 |
13.5 |
120 |
150 |
75 |
201 |
160 |
176 |
226 |
147 |
|
RX/RXF77 |
30k6 |
60 |
50 |
3.5 |
33 |
8 |
|
72 |
25 |
170 |
50 |
204 |
17.5 |
150 |
190 |
85 |
227 |
200 |
210 |
271 |
181 |
|
RX/RXF87 |
40k6 |
80 |
70 |
5 |
43 |
12 |
|
93.5 |
30 |
215 |
60 |
266 |
17.5 |
160 |
206 |
110 |
269 |
250 |
272 |
332 |
232 |
|
RX/RXF97 |
50k6 |
100 |
80 |
10 |
53.5 |
14 |
|
116 |
35 |
250 |
70 |
320 |
22 |
185 |
240 |
140 |
316 |
300 |
328 |
393 |
281 |
|
RX/RXF107 |
60m6 |
120 |
110 |
5 |
64 |
18 |
|
130 |
45 |
310 |
80 |
360 |
22 |
210 |
260 |
152 |
364 |
350 |
370 |
459 |
319 |
|
型号 |
法兰尺寸 |
外 形 尺 寸 |
型号 |
||||||||||||||||||||||
|
P |
N |
L3 |
L4 |
n×s |
M |
电 机 号 |
|||||||||||||||||||
|
尺寸 |
DR63 |
DT 71D |
DT 80 |
DT 90 |
DV 100M |
DV 100L |
DV 112M |
DV 132S |
DV 132M |
DV 132ML |
DV 160M |
DV 160L |
DV 180 |
DV 200 |
DV 225 |
||||||||||
|
RXF57 |
f140 |
140 |
95i6 |
10 |
3 |
4× f 9 |
115 |
AC |
132 |
145 |
145 |
197 |
197 |
197 |
221 |
221 |
一/ 275 |
|
|
|
|
|
|
|
|
|
f160 |
160 |
110j6 |
10 |
3.5 |
4× f 9 |
130 |
AD |
105 |
122 |
122 |
154 |
166 |
166 |
179 |
179 |
一/ 230 |
|
|
|
|
|
|
|||
|
ADS |
105 |
127 |
127 |
161 |
166 |
166 |
182 |
182 |
一/ 230 |
|
|
|
|
|
|
||||||||||
|
f200 |
200 |
130j6 |
12 |
3.5 |
4× f 11 |
165 |
|||||||||||||||||||
|
L |
359 |
373/ 400 |
450/ 423 |
443/ 470 |
493/ 520 |
523/ 550 |
528/ 555 |
576/ 603 |
一/ 625 |
|
|
|
|
|
|
||||||||||
|
RXF67 |
f160 |
160 |
110j6 |
10 |
3.5 |
4× f 9 |
130 |
||||||||||||||||||
|
LS |
414 |
437/ 464 |
487/ 514 |
528/ 555 |
578/ 605 |
608/ 635 |
608/ 635 |
656/ 683 |
一/ 737 |
|
|
|
|
|
|
||||||||||
|
f200 |
200 |
130j6 |
12 |
3.5 |
4× f 11 |
165 |
|||||||||||||||||||
|
LB |
185 |
199 |
249 |
269 |
319 |
349 |
354 |
402 |
一/ 424 |
|
|
|
|
|
|
||||||||||
|
f250 |
250 |
180j6 |
15 |
4 |
4× f13.5 |
215 |
|||||||||||||||||||
|
LBS |
240 |
263 |
313 |
354 |
404 |
434 |
434 |
482 |
一/ 536 |
|
|
|
|
|
|
||||||||||
|
RXF77 |
f200 |
200 |
130j6 |
12 |
3.5 |
4× f 11 |
165 |
||||||||||||||||||
|
AC |
|
|
|
197/ — |
197/ — |
197 |
221 |
221 |
275 |
275 |
275 |
一/ 331 |
一/ 331 |
|
|
|
|||||||||
|
AD |
|
|
|
154/ — |
166/ — |
166 |
179 |
179 |
230 |
230 |
230 |
一/ 258 |
一/ 258 |
|
|
||||||||||
|
f250 |
250 |
180j6 |
15 |
4 |
4× f13.5 |
215 |
|||||||||||||||||||
|
ADS |
|
|
|
161/ — |
166/ — |
166 |
182 |
182 |
230 |
230 |
230 |
一/ 258 |
一/ 258 |
|
|
||||||||||
|
RXF87 |
f250 |
250 |
180j6 |
15 |
4 |
4× f13.5 |
215 |
L |
|
|
|
488/ — |
538/ — |
568/ 606 |
572/ 609 |
617/ 654 |
639/ 676 |
699/ 736 |
699/ 736 |
一/ 783 |
一/ 855 |
|
|
||
|
LS |
|
|
|
573/ — |
623/ — |
653/ 691 |
652/ 689 |
697/ 737 |
751/ 788 |
811/ 848 |
811/ 848 |
一/ 939 |
一/ 1011 |
|
|
||||||||||
|
f300 |
300 |
230j6 |
16 |
4 |
4× f13.5 |
265 |
LB |
|
|
|
261/ — |
311/ — |
341/ 337 |
345/ 340 |
390/ 385 |
412/ 407 |
472/ 467 |
472/ 467 |
一/ 514 |
一/ 586 |
|
|
|||
|
LBS |
|
|
|
346/ — |
396/ — |
426/ 422 |
425/ 420 |
470/ 465 |
524/ 519 |
584/ 579 |
584/ 579 |
一/ 670 |
一/ 742 |
|
|
||||||||||
|
RXF97 |
f300 |
300 |
230j6 |
16 |
4 |
4× f13.5 |
265 |
AC |
|
|
|
|
|
|
|
221 |
275 |
275 |
275 |
331 |
331 |
394 |
一/ 394 |
|
|
|
AD |
|
|
|
|
|
|
|
179 |
230 |
230 |
230 |
258 |
258 |
285 |
一/ 289 |
||||||||||
|
f350 |
350 |
250h6 |
18 |
5 |
4× f17.5 |
300 |
|||||||||||||||||||
|
ADS |
|
|
|
|
|
|
|
182 |
230 |
230 |
230 |
258 |
258 |
285 |
一/ 289 |
||||||||||
|
RXF107 |
f350 |
350 |
250h6 |
18 |
5 |
4× f17.5 |
300 |
||||||||||||||||||
|
L |
|
|
|
|
|
|
|
696/ 738 |
718/ 760 |
778/ 820 |
778/ 820 |
825/ 867 |
897/ 939 |
945/ 987 |
一/ 1069 |
||||||||||
|
f450 |
450 |
350h6 |
22 |
5 |
8× f17.5 |
400 |
|||||||||||||||||||
|
LS |
|
|
|
|
|
|
|
776/ 818 |
830/ 872 |
890/ 932 |
890/ 932 |
981/ 1023 |
1053/ 1095 |
1101/ 1143 |
一/ 1225 |
||||||||||
|
LB |
|
|
|
|
|
|
|
380/ 374 |
402/ 396 |
462/ 456 |
462/ 456 |
509/ 503 |
581/ 575 |
629/ 623 |
一/ 705 |
||||||||||
|
LBS |
|
|
|
|
|
|
|
460/ 454 |
514/ 508 |
574/ 568 |
574/ 568 |
665/ 659 |
737/ 731 |
785/ 779 |
一/ 861 |
||||||||||
|
注:表中数据带“/”者,斜杠前后的数据适用于斜杠前后的型号,无斜杠的数据为斜杠前后型号共用。 |
|||||||||||||||||||||||||





