|
三点式气爪/防扭转紧凑型气缸在轴类装配卡簧工艺上的应用 |
||
|
应用 原理 |
|
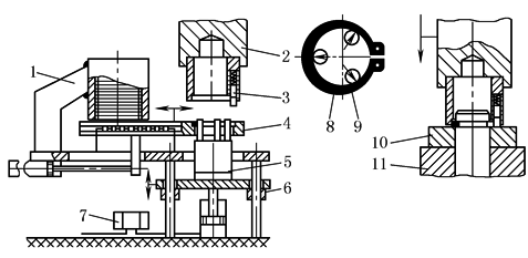
1—卡簧料架;2—装配头;3—带锥;4—供料滑; 5—三点气爪;6—升降台;7—张紧力调压阀; 8—卡簧;9—夹具手指;10—连接件; 11—基本工件 |
|
在机械工程的设备当中,经常采用卡簧来固定组件,目前已有多种装置可安装卡簧。在上面的例子中,卡簧从物料架中分离出来,并被输送到平台上,一旦卡簧被分离出来后,就通过三点气爪将其撑开,然后通过带锥销夹住,输送到安装位置,松开带锥销,卡簧即可固定到需要的轴上。在这个操作中,要注意卡环不能被过分地拉伸,不然要导致塑料变形,三点气爪的张紧力通过一个调压阀调整,径向气爪的特点可十分精确地定位于轴的中心,与工件定位中心对齐。防扭转紧凑型气缸能确保卡簧与三点气爪的垂直精度。装配头采用气压驱动 |
||
|
适用 组件 |
①三点气爪;②紧凑型气缸;③调压阀;④单气控阀;⑤防旋转紧凑型气缸或小型短行程滑块驱动器;⑥接近开关;⑦管接头;⑧安装附件 |
|

