|
几种齿轮型腔结构设计 |
||||
|
圆 柱 直 齿 轮 型 腔 结 构 |
齿 轮 制 品 结 构 |
原设计齿轮制品如图a所示。根据塑件模塑成型工艺需要和保证模塑成型质量要求,重新设计的制品结构,如图b所示。在改造设计中主要注意了以下问题 (1)将极不均匀的壁厚尽可能改均匀一些,这样虽然使形状复杂了,但防止缩坑而引起塑件变形和尺寸精度; (2)确定顶出杆的数量、位置,留出足够的顶出面积,要求顶出合力中心与齿轮轴线基本重合,保证塑件顶出顺利; (3)确定浇口位置(3个点浇口)、浇口残留高度等; (4)确定型腔编号的设置面 |
||
|
相 应 的 模 具 型 腔 结 构 设 计 ︵ 有 两 种 结 构 ︶ |
是一种典型的分体式组合结构。其主要优点是大小齿轮型腔齿圈,均可采用慢走丝线切割工艺成型加工。缺点是各组合件的尺寸、位置度和配合精度要求高,加工难度大,制造成本高 |
采用EDM精密电火花成型工艺,分别加工大小齿轮型腔齿圈,即可提高齿轮型腔和模塑齿轮的精度 |
||
|
圆 柱 斜 齿 轮 型 腔 结 构 |
型 腔 结 构 |
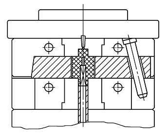
图e所示的斜齿轮型腔,是一种具有自由回转脱模功能、结构紧凑、设计新颖的结构。型腔齿圈是采用EMD精密电火花成型加工完成的。本型腔采用了套筒式推管,顶出时推管和斜齿轮塑件不旋转,由齿轮型腔自由旋转来实现斜齿轮的顶出脱模。为了实现这一目的,在型腔外套上加工有6个横孔,内装有6颗钢球,与型腔外圆上的环形沟槽构成简易“向心止推轴承”。使之在推管顶出的同时,型腔会随之灵活回转,实现斜齿轮的顺利脱模 |
||
|
模 塑 斜 齿 轮 脱 模 方 式 |
模塑斜齿轮在脱模过程中,塑件要沿着型腔轮齿导程角方向作回转运动。有三种不同的方式来实现斜齿轮不受障碍的顺利脱模 |
|||
|
强制 脱模 |
当斜齿轮螺旋角较小时,可考虑采用这种简易脱模方式。如图f所示雨刮器塑料斜齿轮驱动轴一侧端面上,设置了环状和辐射式加强筋,当这些加强筋两侧面的斜度稍大于螺旋角时,采用顶杆直接顶出可使模具结构大为简化。但因顶出力较大,应采用较粗顶杆或推管,以避免制品变形或顶杆弯曲 |
|||
|
推管 旋转 脱膜 |
有以下两种方式:一是顶出制品时,推管上的导向销沿着一螺旋导槽运动(要求螺旋导槽的导程与型腔导程相同),保证在顶出制品过程中,推管与制品之间无任何相对运动。二是在推管与顶板结合处装有推力球轴承,保证推管能自由转动。当推管顶出制品时,塑件会自动的跟随推管一道沿着型腔轮齿螺旋方向顶出 |
|||
|
齿轮 型腔 旋转 脱膜 |
这是一种斜齿轮最常见的顶出方式。一般在型腔外圆和凸台端面处各设置有一组钢球起定心和止推作用,当顶杆顶出制品时,齿轮型腔将作回转运动,保证制品自由旋转脱模 |
|||
|
蜗 杆 型 腔 结 构 |
整 体 式 蜗 杆 型 腔 及 其 驱 动 机 构 |
(g)整体式蜗杆型腔及其旋转脱模驱动机构 整体式蜗杆型腔用于精度要求较高、传动速度较快,有噪声要求的蜗杆模塑成型 整体式蜗杆型腔及其驱动机构取决于蜗杆塑件的脱模方式,大体可分为“自由式”和“同步式”两大类 (1)“自由式”整体式蜗杆型腔及其驱动机构的特点:通过旋转型腔,推动蜗杆塑件向上“自由式”退出型腔脱模。这种方式最为常见 (2)“同步式”整体式蜗杆型腔及其驱动机构的特点:型腔固定,通过旋转型芯,实现蜗杆塑件向下“同步式”退出型腔脱模 “同步式”旋转脱模,是指蜗杆从固定型腔中旋出运动,与型腔模板向前开模运动必须实现同步。如图g所示。蜗杆型腔为固定式结构,嵌入蜗杆塑件体内的型芯,在旋转脱模机构的驱动下,执行蜗杆旋转脱模运动。如果蜗杆本体上没有设计可供型芯嵌入的异型孔或扁槽等结构,在不影响蜗杆功能的前提下,应作适当的结构性调整设计。“同步式”旋转脱模的模具结构,要比“自由式”更复杂。因为模具在脱模机构的驱动下实现型芯旋转的同时,还要驱动螺杆(或螺母)旋转来实现型腔模板“同步”移动。以上旋转脱模机构用驱动机构有以下不同方式:液压抽芯通过长齿条推动脱模型芯(或型腔)旋转;微电机或液压马达通过齿轮轮系或蜗杆一蜗轮驱动脱模型芯(或型腔)旋转来实现。国外一些企业已开发有液压马达—齿轮驱动脱模型芯(或型腔)旋转脱模附件,这类专用附件已经序列化,可供模具设计人员选用 |
||
|
滑 块 式 蜗 杆 型 腔 结 构 |
(h)双滑块蜗杆型腔结构 滑块式蜗杆型腔可分双滑块、三滑块和四滑块式等多种结构,其中以双滑块式最普遍。如图h所示,这种双滑块型腔是通过定模板上的斜导柱合、开模。与模具开模运动的同时,在斜导柱的推动下,双滑块型腔与模塑蜗杆分离,并通过顶杆等方式将蜗杆顶出。这种双滑块型腔只适用于导程角较小的蜗杆模塑成型,当导程角较大时,由于滑块型腔在分型面附近将产生“螺旋干涉”效应,开模时型腔螺纹牙面的“强制脱模”会在模塑蜗杆牙面上留下局部拉伤痕迹 由于3~4滑块式蜗杆型腔开、合模机构复杂、滑块型腔加工难度大,在应用上受到限制。但这类型腔不存在双滑块分型面处的“螺旋干涉”效应,因此在导程角较大的蜗杆注射模中仍可采用 蜗杆与带喉径的塑料蜗轮啮合,是比与斜齿轮啮合质量更好的一种传动方式。但当POM蜗轮喉径与外径的差值大于外径的4%以上,模塑蜗轮就很难进行强制脱模。在这种情况下,唯一的办法是将蜗轮型腔设计成多滑块式的组合结构,每一个滑块成型几颗轮齿。这种蜗轮注射模的结构复杂、加工难度大、制造费用高,一般很少采用 |
|||






