|
高速行星齿轮传动设计制造要点 |
|
高速行星齿轮传动已广泛应用于航空、船舶、发电设备、压缩机等领域。传递的功率越来越大,速度越来越高。齿轮圆周速度一般达30~50m/s,有的已超过100m/s,传递的功率达54600kW。由于功率大,速度高,而且大多数是长期连续运转,因而要求具有高的技术性能。与中低速行星齿轮传动相比,高速行星齿轮传动在设计、制造方面具有如下特点 1) 在传动型式上多用NGW型,并采用人字齿轮,压力角为20°或22°30',螺旋角为18°~30°,法向齿顶高系数为0.9,并采用较小的模数,以提高齿轮的接触疲劳强度和运转平稳性 2) 采用具有双联齿轮联轴器的太阳轮和内齿圈同时浮动的均载机构。为提高均载效果及运转质量,齿轮和行星架等主要零件均要求高精度,一般为4~6级。行星架组件要进行严格的动平衡试验。对于传动比较大的单级传动,其太阳轮直径较小,尚需对轮齿进行修形 3) 由于行星轮转速很高,滚动轴承的许用极限转速和寿命已不能满足要求,因而高速行星传动一般都采用巴氏合金滑动轴承,且其合金材料是采用离心浇注法或堆焊法将其镶嵌在行星轮心轴表面上。合金层的厚度控制在1mm左右为最佳。轴承间隙一般为轴承直径的0.002~0.0025倍,在直径小、速度高的情况下取小值,反之取大值 4) 滑动轴承的压强是影响使用寿命的一个重要因素,其实际压强不应超过许用压强pp=3~4N/mm2,最大为4.5N/mm2。滑动轴承的压强p按下式计算
式中 l——轴承长度,mm; d——轴承直径,mm; F——由齿轮啮合圆周力Ft与其所受离心力FW合成的作用于轴承上的总径向力,N
5) 在高速情况下,必须考虑行星轮受到的离心力对轴承寿命的影响。其值高达轴承总载荷的80%~90%,离心力FW按下式计算
式中 M——行星轮的质量,kg; nX——行星架的转速,r/min; a'——行星轮与太阳轮的中心距,m 一般情况下,当内齿圈直径dB≤500mm时,行星架转速nX不得大于3000r/min;当dB>500mm时,nX不得大于1500r/min。若nX超过上述规定值则采用将行星架固定,由内齿圈输出的准行星传动 6) 因为高速行星齿轮传动采用的模数较小,因而断齿为其主要失效形式。轮齿弯曲强度是限制高速行星传动的主要条件 7) 高速行星传动对润滑要求很高,必须有可靠的循环润滑系统和严格的使用与维护技术。润滑油通过太阳轮轴孔和行星轮轴孔在离心力作用下喷向啮合齿间和轴承表面。行星轮轴上导油孔的方向应沿行星架半径的方向,使流油方向与离心力方向相同,导油孔中的导油管起隔离和过滤杂质的作用,见图a。对于行星架固定的传动,导油孔为心轴上沿行星架半径方向的通孔,即油流可以从上下两个方向导入,见图c
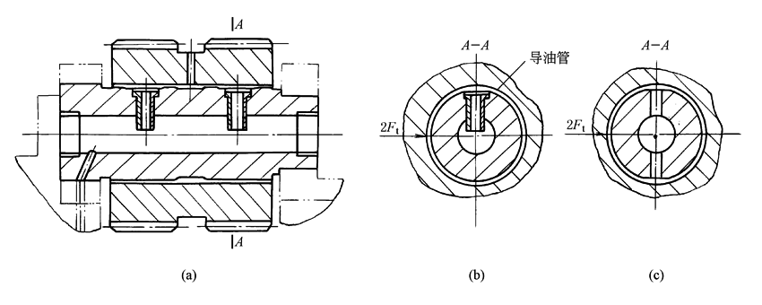
行星轮滑动轴承 |


