|
低速重载双圆弧齿轮设计计算举例 |
|
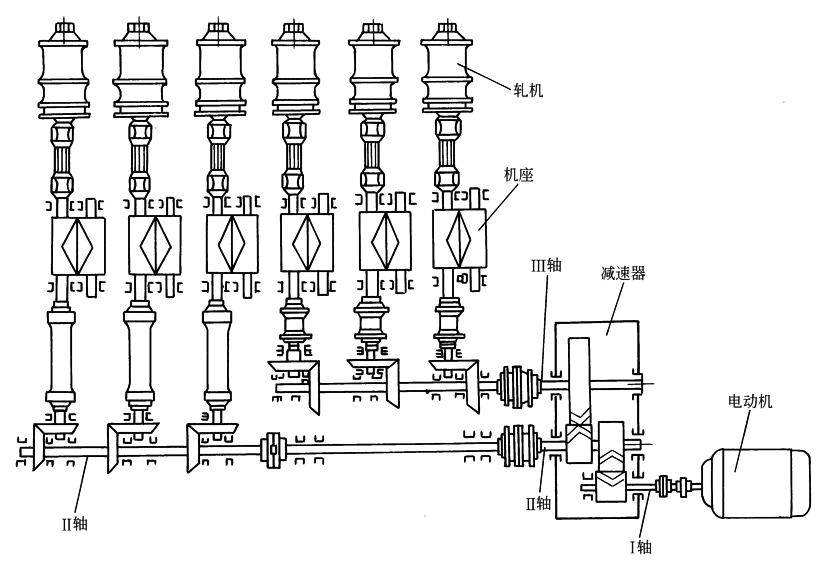
例2 某钢铁公司初轧连轧机主传动双圆弧齿轮减速器齿轮强度校核计算。该减速器电机驱动功率P=4000kW,转速248r/min,单向运转。第一级中心距a1=1175mm,速比i1=1.8。第二级中心距a2=1617mm,速比i2=2.2。采用外循环喷油润滑,油品为220号极压工业齿轮油。每天24h连续运转,设计寿命为80000h。要求Ⅱ轴和Ⅲ轴双轴输出。有安装连接尺寸要求。原设计为软齿面渐开线齿轮,第一级模数为26mm,第二级模数为30mm。减速器传动简图见下图
减速器传动简图 (1) 齿轮设计,确定齿轮参数 减速器第一输出轴(Ⅱ轴)带动4~6架轧机,扭矩相对较小。第二输出轴(Ⅲ轴)带动1~3架轧机,传递扭矩很大。设计采用人字齿轮结构,齿形为GB/T 12759—1991标准双圆弧齿廓,齿轮精度为7级(GB/T 15753—1995),齿面硬度为软齿面 该减速器为设备改造项目,设计时受中心距和速比限制,齿轮参数优化设计只能在模数、齿数和螺旋角三者之间优化组合。设计时进行了模数20mm、25mm和30mm的比较设计,最终第一级和第二级都选取模数20mm,较为合适 第一级齿轮参数:mn=20mm,z1=36,z2=64,β=30°40' 21",单侧齿宽b=325mm 第二级齿轮参数:mn=20mm,z1=43,z2=95,β=31°24' 47",单侧齿宽b=305mm 仅以第二级为例进行强度校核计算。第二级齿轮的有关参数如下
小齿轮材料为37SiMn2MoV,锻件,进行调质处理,齿面硬度260~290HBS;大齿轮材料为ZG35CrMo,铸钢件,进行调质处理,齿面硬度220~250HBS 小齿轮材料的弯曲疲劳极限σFlim1:查表强度计算公式中各参数的确定方法中图10a,得σFlim1=520MPa 小齿轮材料的接触疲劳极限σHlim1:查表强度计算公式中各参数的确定方法中图11a,得σHlim1=840MPa 大齿轮材料的弯曲疲劳极限σFlim2:查表强度计算公式中各参数的确定方法中图10c,得σFlim2=440MPa 大齿轮材料的接触疲劳极限σHlim2:查表强度计算公式中各参数的确定方法中图11c,得σHlim2=680MPa 最小安全系数Smin:按标准推荐值SFmin=1.6,SHmin=1.3 (2) 齿轮强度校核计算 1) 校核轮齿齿根弯曲疲劳强度 按表双圆弧齿轮的强度计算公式中的公式计算齿根弯曲应力:
小齿轮名义转矩T1:
使用系数KA:查表强度计算公式中各参数的确定方法中表2,中等振动,KA=1.5 动载系数KV:查表强度计算公式中各参数的确定方法中图1,按7级精度,v=7.36m/s,得KV=1.1 接触迹间载荷分配系数K1:查表强度计算公式中各参数的确定方法中图2,按软齿面,非对称布置(轴刚性较大), K1=1.01 接触迹内载荷分布系数KF2:查表强度计算公式中各参数的确定方法中表3,7级精度,KF2=1.1 接触迹系数KΔε:查表强度计算公式中各参数的确定方法中图3a,Δε=0.53,得KΔε=0.6 弹性系数YE:查表强度计算公式中各参数的确定方法中表4,锻钢-铸钢,得YE=2.076 齿数比系数Yu:查表强度计算公式中各参数的确定方法中图4a,或按式 螺旋角系数Yβ:查表强度计算公式中各参数的确定方法中图5a,或按式(sin2βcosβ)0.14=Yβ计算,得Yβ=0.815 齿形系数YF:查表强度计算公式中各参数的确定方法中图6a,按当量齿数zv1=69.177,zv2=152.83得YF1=1.865,YF2=1.82 齿端系数YEnd:查表强度计算公式中各参数的确定方法中图7a,用插值法,εβ=2.53查取,β=30°时YEnd=1.35,β=35°时YEnd=1.47,当β=31°24' 47"时YEnd=1.384 将上列各参数值代入弯曲应力计算公式得:
按表双圆弧齿轮的强度计算公式中公式计算安全系数SF: 寿命系数YN:查表强度计算公式中各参数的确定方法中图13a,因循环次数大于3×106,得YN=1 尺寸系数Yx:查表强度计算公式中各参数的确定方法中图12a,按mn=20mm,得Yx1=0.91,Yx2=0.77 将各参数值代入计算公式: SF1和SF2均大于SFmin,齿根弯曲疲劳强度校核通过 2) 校核齿面接触疲劳强度 按表双圆弧齿轮的强度计算公式中的公式计算齿面接触应力:
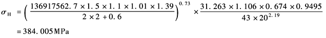
式中T1、KA、KV、K1、με、KΔε等同弯曲应力计算中的值,其余参数如下 接触迹内载荷分布系数KH2:查表强度计算公式中各参数的确定方法表3,按7级精度得KH2=1.39 弹性系数ZE:查表强度计算公式中各参数的确定方法中表4,锻钢-铸钢,得ZE=31.263 齿数比系数Zu:查表强度计算公式中各参数的确定方法中图4a,或按式 螺旋角系数Zβ:查表强度计算公式中各参数的确定方法中图5a,或按式(sin2βcosβ)=Zβ计算得Zβ=0.674 接触弧长系数Za:查表强度计算公式中各参数的确定方法中图9a,按当量齿数Zv1=69.177,Zv2=152.83,得Za1=0.954,Za2=0.945。
将上列各参数值代入接触应力计算公式得:
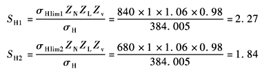
按表双圆弧齿轮的强度计算公式中公式计算安全系数SH: 寿命系数ZN:查表强度计算公式中各参数的确定方法中图13b,因循环次数大于5×107,ZN=1 润滑剂系数ZL:查表强度计算公式中各参数的确定方法中图14,按ν40=220mm2/s,得ZL=1.06 速度系数Zv:查表强度计算公式中各参数的确定方法中图15,按 计算公式: SH1和SH2均大于SHmin,齿面接触疲劳强度校核通过 |








