|
SWCQ型双筒网式磁芯过滤器(JB/ZQ 4592—2006) |
|||||||||||||||||||||||||||||||||||
|
适用于公称压力0.63MPa的稀油润滑系统中过滤润滑油。由于内部装有磁芯,因此还能吸附带磁性的微粒,避免机械摩擦副的过早磨损。除此以外,这种过滤器的结构特点与SWQ型双筒网式过滤器相同 |
|||||||||||||||||||||||||||||||||||
|
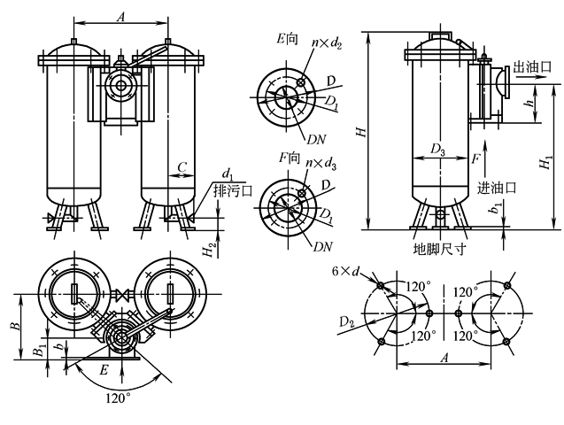
双筒网式磁芯过滤器参数及外形尺寸 mm |
|||||||||||||||||||||||||||||||||||
|
|
公称压力0.63MPa,进、出口初始压差小于等于0.03MPa,滤芯清洗压降小于等于0.15MPa 适用于稀油润滑系统及液压传动系统中过滤润滑油或液压油,适用于黏度值46~460mm2/s的润滑油 标记示例: 公称通径为50mm的双筒网式磁芯过滤器,标记为 SWCQ-50过滤器 JB/ZQ 4592—2006 |
||||||||||||||||||||||||||||||||||
|
型号 |
公称 通径 DN/mm |
过滤 面积 /m2 |
运动黏度值/mm2·s-1 |
质量 /kg |
|||||||||||||||||||||||||||||||
|
46 |
68 |
100 |
150 |
460 |
|||||||||||||||||||||||||||||||
|
过滤精度/mm |
|||||||||||||||||||||||||||||||||||
|
0.08 |
0.12 |
0.08 |
0.12 |
0.08 |
0.12 |
0.08 |
0.12 |
0.08 |
0.12 |
||||||||||||||||||||||||||
|
通过能力/L·min-1 |
|||||||||||||||||||||||||||||||||||
|
SWCQ-50 |
50 |
0.31 |
485 |
1160 |
447 |
793 |
250 |
565 |
107 |
256 |
69 |
160 |
136 |
||||||||||||||||||||||
|
SWCQ-65 |
65 |
0.52 |
820 |
1960 |
760 |
1340 |
400 |
955 |
180 |
434 |
106 |
250 |
165 |
||||||||||||||||||||||
|
SWCQ-80 |
80 |
0.83 |
1320 |
3100 |
1200 |
2150 |
630 |
1533 |
288 |
695 |
170 |
400 |
220 |
||||||||||||||||||||||
|
SWCQ-100 |
100 |
1.31 |
1990 |
4750 |
1840 |
3230 |
1000 |
2310 |
436 |
1050 |
267 |
630 |
275 |
||||||||||||||||||||||
|
SWCQ-125 |
125 |
2.80 |
3340 |
8000 |
3100 |
5420 |
1686 |
3890 |
730 |
1710 |
450 |
1000 |
680 |
||||||||||||||||||||||
|
SWCQ-150 |
150 |
3.30 |
5000 |
12000 |
4650 |
8130 |
2520 |
5840 |
1094 |
2660 |
679 |
1600 |
818 |
||||||||||||||||||||||
|
SWCQ-200 |
200 |
6.00 |
9264 |
22140 |
8568 |
15114 |
4620 |
10788 |
2034 |
4908 |
1254 |
2898 |
1185 |
||||||||||||||||||||||
|
SWCQ-250 |
250 |
9.40 |
14513 |
34686 |
13423 |
23678 |
7238 |
16901 |
3186 |
7689 |
1964 |
4540 |
1422 |
||||||||||||||||||||||
|
SWCQ-300 |
300 |
13.50 |
20844 |
49815 |
19278 |
34006 |
10395 |
24273 |
4576 |
11043 |
2821 |
6520 |
2580 |
||||||||||||||||||||||
|
型号 |
公称 通径 DN |
A |
B |
B1 |
b |
b1 |
C |
D2 |
D3 |
H |
H1 |
H2 |
h |
d |
d1 |
进、出口法兰尺寸 |
|||||||||||||||||||
|
DN |
D |
D1 |
n |
d2 |
d3 |
||||||||||||||||||||||||||||||
|
SWCQ-50 |
50 |
459 |
325 |
130 |
18 |
20 |
170 |
260 |
240 |
660 |
480 |
70 |
170 |
19 |
G1/2 |
50 |
160 |
125 |
4 |
18 |
M16 |
||||||||||||||
|
SWCQ-65 |
65 |
474 |
340 |
140 |
20 |
20 |
170 |
260 |
240 |
810 |
630 |
70 |
200 |
19 |
G1/2 |
65 |
180 |
145 |
4 |
18 |
M16 |
||||||||||||||
|
SWCQ-80 |
80 |
529 |
367 |
145 |
20 |
20 |
180 |
350 |
300 |
820 |
620 |
70 |
220 |
19 |
G1/2 |
80 |
195 |
160 |
4 |
18 |
M16 |
||||||||||||||
|
SWCQ-100 |
100 |
550 |
381 |
160 |
22 |
20 |
180 |
350 |
300 |
1000 |
780 |
70 |
250 |
19 |
G1/2 |
100 |
215 |
180 |
8 |
18 |
M16 |
||||||||||||||
|
SWCQ-125 |
125 |
779 |
494 |
165 |
24 |
20 |
220 |
600 |
550 |
1340 |
1060 |
100 |
300 |
19 |
G1/2 |
125 |
245 |
210 |
8 |
18 |
M16 |
||||||||||||||
|
SWCQ-150 |
150 |
817 |
533 |
190 |
24 |
30 |
220 |
600 |
550 |
1460 |
1120 |
100 |
340 |
24 |
G1/2 |
150 |
280 |
240 |
8 |
23 |
M20 |
||||||||||||||
|
SWCQ-200 |
200 |
938 |
613 |
230 |
24 |
30 |
260 |
650 |
600 |
1500 |
1120 |
120 |
420 |
24 |
G1/2 |
200 |
335 |
295 |
8 |
23 |
M20 |
||||||||||||||
|
SWCQ-250 |
250 |
1034 |
676 |
260 |
26 |
30 |
260 |
700 |
640 |
1600 |
1190 |
120 |
500 |
24 |
G1/2 |
250 |
390 |
350 |
12 |
23 |
M20 |
||||||||||||||
|
SWCQ-300 |
300 |
1288 |
814 |
290 |
28 |
30 |
260 |
1000 |
900 |
1720 |
1120 |
120 |
570 |
24 |
G1/2 |
300 |
440 |
400 |
12 |
23 |
M20 |
||||||||||||||
|
注:1.法兰连接尺寸按JB/T 81—1994《凸面板式平焊钢制管法兰》(PN=1MPa)的规定。 2.生产厂有启东市南方润滑液压设备有限公司,南通市南方润滑液压设备有限公司,启东江海液压润滑设备厂,太原矿山机器润滑液压设备有限公司,启东润滑设备有限公司,四川川润股份有限公司,常州市华立液压润滑设备有限公司,太原市兴科机电研究所,太原宝太润液设备有限公司,启东中冶润滑设备有限公司。 |
|||||||||||||||||||||||||||||||||||

