|
板式油冷却器(JB/ZQ 4593—2006) |
|||||||||||||||||||||||||||||||||||
|
表1 BRLQ 型板式油冷却器基本参数(JB/ZQ 4593—2006) |
|||||||||||||||||||||||||||||||||||
|
型号 |
公称冷 却面积 /m2 |
油流量 /L·min-1 |
进油 温度 /℃ |
出油 温度 /℃ |
油压降 /MPa |
进水 温度 /℃ |
水流量 /L·min-1 |
应用 |
|||||||||||||||||||||||||||
|
50# 机械油 |
28# 轧钢机油 |
用50# 机械油时 |
用28#轧 钢机油时 |
||||||||||||||||||||||||||||||||
|
BRLQ0.05-1.5 BRLQ0.05-2 BRLQ0.05-2.5 BRLQ0.1-3 BRLQ0.1-5 BRLQ0.1-7 BRLQ0.1-10 BRLQ0.2A-13 BRLQ0.2A-18 BRLQ0.2A-24 BRLQ0.3A-30 BRLQ0.3A-35 BRLQ0.3A-40 BRLQ0.5-60 BRLQ0.5-70 BRLQ0.5-80 BRLQ0.5-120 BRLQ1.0-50 BRLQ1.0-80 BRLQ1.0-100 BRLQ1.0-120 BRLQ1.0-150 BRLQ1.0-180 BRLQ1.0-200 BRLQ1.0-250 |
1.5 2 2.5 3 5 7 10 13 18 24 30 35 40 60 70 80 120 50 80 100 120 150 180 200 250 |
20 32 50 80 125 200 250 400 500 600 650 700 950 1100 1300 2100 3000 1000 2100 2500 3000 3500 4000 4500 5000 |
10 16 25 40 63 100 125 160 250 315 400 500 630 800 1000 1600 2100 715 1600 1800 2100 2500 2850 3150 3500 |
50 |
≤42 |
≤0.1 |
≤30 |
16 25 40 64 100 100 200 320 400 500 520 560 800 900 1050 1670 2400 850 1670 2040 2400 2950 3500 3800 4400 |
8 13 20 32 50 80 100 130 200 250 320 400 500 640 800 1280 1600 570 1280 1440 1600 2400 2600 3000 3400 |
1.适用于稀油润滑系统中冷却润滑油,其黏度值不大于460mm2/s 2.板式冷却器油和水流向应相反 3.冷却水用工业用水,如用江河水需经过滤或沉淀 4.工作压力小于1MPa 5.工作温度-20~150℃ 6.50#机械油相当于L-AN100全损耗系统用油或L-HL100液压油。28#轧钢机油行业标准已废除,可考虑使用LCKD460重载荷工业齿轮油 |
|||||||||||||||||||||||||
|
注:生产厂有启东市南方润滑液压设备有限公司,启东市江海液压润滑设备厂,四川川润股份有限公司,常州市华立液压润滑设备有限公司,风凯换热器制造(常州)有限公司,福建省泉州市江南冷却器厂,启东市中冶润滑设备有限公司。 |
|||||||||||||||||||||||||||||||||||
|
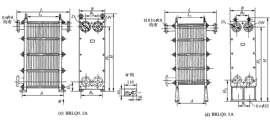
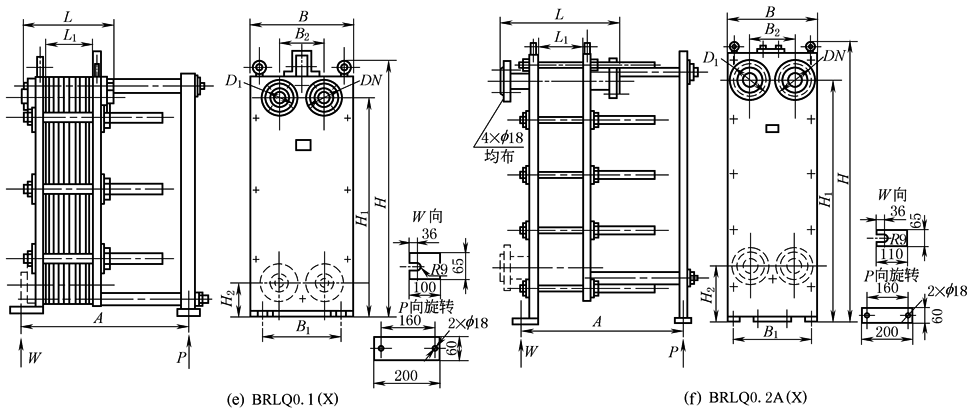
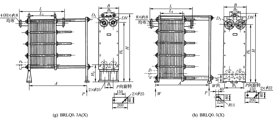
BRLQ 型板式油冷却器
标记示例:单板冷却面积0.3m2,公称面积35m2,第一次改型的悬挂式板式油冷却器,标记为 BRLQ0.3A-35X 冷却器JB/ZQ 4593—2006 |
|||||||||||||||||||||||||||||||||||
|
表2 BRLQ 型板式油冷却器尺寸 mm |
|||||||||||||||||||||||||||||||||||
|
板片规格 |
0.05 |
0.1 |
0.2A |
0.3A |
0.5(X) |
||||||||||||||||||||||||||||||
|
0.1(X) |
0.2A(X) |
0.3A(X) |
|||||||||||||||||||||||||||||||||
|
公称冷却面积/m2 |
1.5 |
2 |
2.5 |
3 |
5 |
7 |
10 |
13 |
18 |
24 |
30 |
35 |
40 |
60 |
70 |
80 |
120 |
||||||||||||||||||
|
尺寸 |
L1≈ |
3.8×n |
4.9×n |
6.5×n |
6.2×n |
4.8×n |
|||||||||||||||||||||||||||||
|
A |
L1+120 |
L1+128 |
L1+150 |
L1+46 |
n×7+806 |
||||||||||||||||||||||||||||||
|
n×7+410 |
n×9+720 |
n×10+600 |
|||||||||||||||||||||||||||||||||
|
B1 |
165 |
250 |
335 |
200 |
310 |
||||||||||||||||||||||||||||||
|
H1 |
530 |
636.5 |
980 |
1400 |
1563 |
||||||||||||||||||||||||||||||
|
1062 |
|||||||||||||||||||||||||||||||||||
|
L≈ |
L1+180 |
L1+144 |
L1+312 |
L1+460 |
L1+500 |
||||||||||||||||||||||||||||||
|
B2 |
80 |
142 |
190 |
218 |
268 |
||||||||||||||||||||||||||||||
|
H2 |
74 |
88.5 |
140 |
415 |
230 |
||||||||||||||||||||||||||||||
|
222 |
|||||||||||||||||||||||||||||||||||
|
H |
638 |
760 |
1164 |
1598 |
1840 |
||||||||||||||||||||||||||||||
|
778 |
1246 |
||||||||||||||||||||||||||||||||||
|
B |
215 |
315 |
400 |
480 |
590 |
||||||||||||||||||||||||||||||
|
DN |
G1B |
32 |
10 |
50 |
60 |
65 |
80 |
125 |
|||||||||||||||||||||||||||
|
D1 |
— |
92 |
145 |
160 |
210 |
||||||||||||||||||||||||||||||
|
质量≈ /kg |
73 |
80 |
86 |
160 |
200 |
270 |
320 |
500 |
700 |
930 |
965 |
1040 |
1115 |
1650 |
1790 |
1925 |
2450 |
||||||||||||||||||
|
170 |
210 |
280 |
330 |
530 |
730 |
965 |
985 |
1080 |
1160 |
||||||||||||||||||||||||||
|
注:1.除0.05、0.1及0.1(X)外,其余连接法兰的连接尺寸按JB/T 81—1994《凸面板式平焊钢制管法兰》中,PN=1MPa的规定。 2. 3.型号中A为改型标记,有“(X)”标记的为悬挂式,无“(X)”标记的为落地式。 |
|||||||||||||||||||||||||||||||||||
|
表3 BRLQ1.0(X) 型板式油冷却器尺寸 mm |
|||||||||||||||||||||||||||||||||||
|
|
板片规格 |
1.0(X) |
|||||||||||||||||||||||||||||||||
|
公称冷却面积 /m2 |
50 |
80 |
100 |
120 |
150 |
180 |
200 |
250 |
|||||||||||||||||||||||||||
|
尺寸 |
L |
326 |
518 |
646 |
774 |
966 |
1158 |
1286 |
1606 |
||||||||||||||||||||||||||
|
A |
1340 |
1580 |
1750 |
1920 |
2180 |
2430 |
2600 |
3030 |
|||||||||||||||||||||||||||
|
B1 |
740 |
||||||||||||||||||||||||||||||||||
|
H1 |
1980.5 |
||||||||||||||||||||||||||||||||||
|
L1 |
300 |
||||||||||||||||||||||||||||||||||
|
B2 |
433 |
||||||||||||||||||||||||||||||||||
|
H2 |
314.5 |
||||||||||||||||||||||||||||||||||
|
H |
2325 |
||||||||||||||||||||||||||||||||||
|
B |
860 |
||||||||||||||||||||||||||||||||||
|
DN |
225 |
||||||||||||||||||||||||||||||||||
|
D1 |
325 |
||||||||||||||||||||||||||||||||||
|
质量/kg |
2496 |
2870 |
3120 |
3370 |
3744 |
4118 |
4367 |
4990 |
|||||||||||||||||||||||||||





