|
缓冲计算 |
|||||||
|
气缸活塞运动到行程终端位置,为避免活塞与缸盖产生机械碰撞而造成机件变形、损坏及极强的噪声,气缸必须采用缓冲装置。通常缸径小于16mm的气缸采用弹性缓冲垫,缸径大于16mm的气缸采用气垫缓冲结构(可调式时,为缓冲针阀结构)。这里要讨论的是气垫缓冲 |
|||||||
|
缓冲原理 |
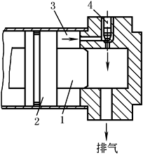
缓冲结构 1—缓冲柱塞;2—活塞; 3—缓冲气室;4—节流阀 |
气缸的缓冲装置由缓冲柱塞、节流阀和缓冲腔室等构成,左图所示为气缸缓冲装置实现缓冲的工作原理图。在活塞高速向右运动时,活塞右腔的空气经缸盖柱塞孔和进排气口排向大气。当气缸活塞杆行程一旦进入终端端盖内孔腔室时,缓冲柱塞依靠缓冲密封圈将终端端盖内孔腔室堵住。于是,封闭在活塞和缸盖之间的环形腔室内的空气只能通过节流阀排向大气。由于节流阀流通面积很小,环形腔室内的空气背压升高行程气垫作用,迫使活塞迅速减速,最后停下来。改变节流阀的开度,就可以调节缓冲速度 从缓冲柱塞封闭柱塞孔起,到活塞停下来为止,活塞所走的行程称为缓冲行程。缓冲装置就是利用形成的气垫(即产生背压阻力)和节流阻尼来吸收活塞运动产生的能量,达到缓冲的目的 |
|||||
|
计算公式 |
为了达到缓冲作用,缓冲腔室内空气绝热压缩所能吸收的压缩能Ep必须大于活塞等运动部件所具有的功能Ed,即Ep≥Ed
式中 p1——绝热压缩开始时缓冲腔室内的绝对压力,Pa p2——绝热压缩结束时缓冲腔室内的绝对压力,Pa V1——绝热压缩开始时缓冲腔室内的容积,m3 m——活塞等运动部件的总质量,kg υ——缓冲开始前活塞的运动速度,m/s k——空气绝热指数,k=1.4 若Ep≥Ed,则认为气缸缓冲装置能起到缓冲作用。反之,则不能满足缓冲要求,应采取一定措施,如在气缸外部安装液压缓冲器 式(1)中,若忽略了腔室的死容积,则缓冲容积为
式中 D——气缸缸径,m d1——缓冲柱塞直径,m l——缓冲柱塞长度,m |
||||||
|
式(4)是缓冲气缸缓冲装置所能吸收的缓冲能量的计算公式 |
|||||||
|
国产气缸常用柱塞直径和缓冲长度/mm |
缸径 |
柱塞直径 |
缓冲长度 |
缸径 |
柱塞直径 |
缓冲长度 |
|
|
32 |
16 |
10~15 |
100 |
32 |
25~30 |
||
|
40 |
20 |
15 |
125 |
38 |
25~30 |
||
|
50 |
24 |
20 |
160,200 |
55 |
25~30 |
||
|
63 |
25 |
20 |
250,320 |
63 |
30~35 |
||
|
80 |
30 |
25~30 |
|
|
|
||
|
普通缓冲气缸所能吸收的动能示意图 |
|
||||||
|
最后要特别指出,对于气缸之所以要讨论缓冲性能及其计算,是因为要防止气缸运动到行程末端时撞击缸盖,即气缸活塞具有运动速度。若活塞在末端处于静止状态时,无论加了再大的气压(能)都不必关心其会撞击缸盖(除强度问题外)。同样,气缸运动的速度决定于作用在活塞两侧的压力差Δp产生的气压作用力克服了摩擦力(总阻力)的大小。因此,气缸缓冲计算时,只要考虑气缸运动的动能,而不必须计算活塞上作用的气压能、重力能及摩擦能 |
|||||||




