|
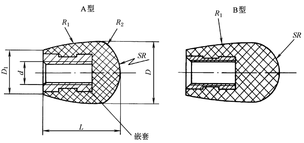
椭圆手柄套 (JB/T 7271.4—1994) mm |
|||||||||||
|
|
|||||||||||
|
材料:塑料。 标记示例 A型,d=M8,L=25,黑色椭圆手柄套,标记为:手柄套 M8×25 JB/T 7271.4 A型,d=M8,L=25,红色椭圆手柄套,标记为:手柄套 M8×25(红) JB/T 7271.4 B型,d=M8,L=32,黑色椭圆手柄套,标记为:手柄套 BM8×32 JB/T 7271.4 B型,d=M8,L=32,红色椭圆手柄套,标记为:手柄套 BM8×32(红) JB/T 7271.4 |
|||||||||||
|
d |
L |
D |
D1 |
SR |
R1 |
R2 |
嵌 套 JB/T 7275 |
每件质量 /kg≈ |
|||
|
A 型 |
B 型 |
A 型 |
B 型 |
A 型 |
B 型 |
||||||
|
M5 |
16 |
20 |
15 |
12 |
10 |
7.5 |
40 |
60 |
3 |
BM5×12 |
0.006 |
|
M6 |
20 |
25 |
17 |
14 |
12 |
8.5 |
45 |
110 |
4 |
BM6×14 |
0.012 |
|
M8 |
25 |
32 |
20 |
16 |
14 |
10 |
50 |
120 |
5 |
BM8×16 |
0.020 |
|
M10 |
32 |
40 |
25 |
20 |
16 |
12.5 |
70 |
170 |
6 |
BM10×20 |
0.043 |
|
M12 |
40 |
50 |
32 |
25 |
18 |
16 |
90 |
200 |
8 |
BM12×25 |
0.086 |
|
M16 |
50 |
63 |
40 |
30 |
22 |
20 |
110 |
220 |
12 |
BM16×32 |
0.135 |
|
M20 |
63 |
80 |
48 |
35 |
30 |
24 |
130 |
230 |
16 |
BM20×36 |
0.198 |
|
注:其他技术要求按JB/T 7277的规定。 |
|||||||||||

