|
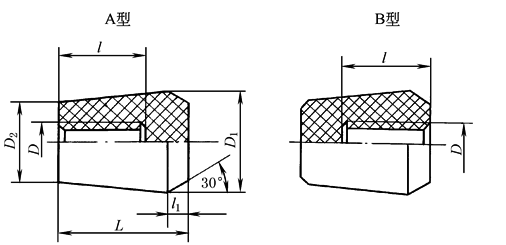
手柄套 (JB/T 7271.3—1994) mm |
|||||||
|
|
材料:塑料。 标记示例 A型,D=M12,L=40,黑色手柄套,标记为: 手柄套 M12×40 JB/T 7271.3 A型,D=M12,L=40,红色手柄套,标记为: 手柄套 M12×40(红) JB/T 7271.3 B型,D=M12,L=40,黑色手柄套,标记为: 手柄套 BM12×40 JB/T 7271.3 |
||||||
|
D |
L |
D1 |
D2 |
l |
l1 |
每件质量 /kg≈ |
|
|
M5 |
16 |
12 |
9 |
12 |
3 |
0.002 |
|
|
M6 |
20 |
16 |
12 |
14 |
3 |
0.004 |
|
|
M8 |
25 |
20 |
15 |
16 |
4 |
0.007 |
|
|
M10 |
32 |
25 |
20 |
20 |
5 |
0.015 |
|
|
M12 |
40 |
32 |
25 |
25 |
6 |
0.030 |
|
|
M16 |
50 |
40 |
32 |
32 |
7 |
0.062 |
|
|
M20 |
63 |
50 |
40 |
40 |
8 |
0.085 |
|
|
注:其他技术要求按JB/T 7277的规定。 |
|||||||

