|
普通气缸的工作原理 |
|
|
(1) 双作用气缸工作原理 表1 |
|
|
结构原理图 |
工 作 原 理 |
|
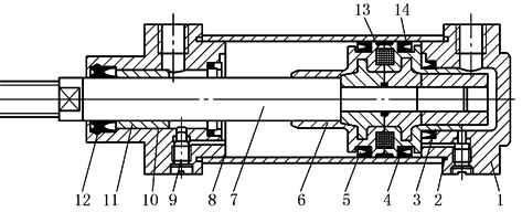
普通型单活塞杆双作用气缸 1—后缸盖;2—密封圈;3—缓冲密封圈;4—活塞密封圈; 5—活塞;6—缓冲柱塞;7—活塞杆;8—缸筒; 9—缓冲节流阀;10—导向套;11—前缸盖; 12—防尘密封圈;13—磁铁;14—导向环 |
缸筒与前后端盖(配有密封圈)连接后,内腔形成一个密封的空间,在这个密封的空间内有一个与活塞杆相连的活塞,活塞上装有密封圈。活塞把这个密封的空间分成两个腔室,对有活塞杆一边腔室称有杆腔(或前腔),对无活塞杆的腔室称无杆腔(或后腔) 当从无杆腔端的气口输入压缩空气时,气压作用在活塞右端面上的力克服了运动摩擦力、负载等各种反作用力,推动活塞前进,有杆腔内的空气经该前端盖气口排入大气,使活塞杆伸出。同样,当有杆腔端气口输入压缩空气,活塞杆退回至初始位置。通过无杆腔和有杆腔的交替进气和排气,活塞杆伸出和退回,气缸实现往复直线运动 气缸端盖上未设置缓冲装置的气缸称为无缓冲气缸,缸盖上设置缓冲装置的气缸称为缓冲气缸。左图所示为缓冲气缸。缓冲装置由缓冲节流阀9、缓冲柱塞6和缓冲密封圈3等组成。当气缸行程接近终端时,由于缓冲装置的作用,可以防止高速运动的活塞撞击缸盖的现象发生 |
|
(2)单作用气缸工作原理 这种气缸在端盖一端气口输入压缩空气使活塞杆伸出(或退回),而另一端靠弹簧、自重或其他外力等使活塞杆恢复到初始位置 |
||
|
表2 单作用气缸工作原理 |
||
|
原 理 图 |
工 作 原 理 |
|
|
工 作 原 理 |
|
靠外力复位 |
|
|
靠弹簧力复位 |
|
|
|
靠弹簧力复位 |
|
|
|
活塞杆的复位是由在气缸一侧输入预先调定的减压阀输入压力(如0.05MPa)来实现的。当活塞伸出时,有杆腔内的气体压力升高,多余的空气经减压阀溢流口排出 |
|
|
|
复位原理和图d所示一样,也是靠气压力复位的,只是用了一个充有气体的气罐(如0.05MPa),起缓冲作用,使复位的气压力较稳定 |
|
|
结 构 原 理 |
(f)单作用气缸结构原理 1—后缸盖;2—橡胶缓冲垫;3—活塞密封圈;4—导向环; 5—活塞;6—弹簧;7—活塞杆;8—前缸盖; 9—螺母;10—导向套 |
如图f所示为弹簧复位的单作用气缸,在活塞的一侧装有使活塞杆复位的弹簧,在另一端缸盖上开有呼吸用的气口。除此之外,其结构基本上和双作用气缸相同。图示单作用气缸的缸筒和前后端盖之间采用滚压铆接方式固定。弹簧装在有杆腔内,气缸活塞杆初始位置处于退回的位置,这种气缸称为预缩型单作用气缸;弹簧装在无杆腔内,气缸活塞杆初始位置处于伸出位置的,称为预伸型气缸 |







