|
气动执行组件的分类说明 |
||
|
气动执行组件的分类主要以气缸结构(活塞式或膜片式)、缸径尺寸(微型、小型、中型、大型)、安装方式(可拆式或整体式)、缓冲方式(缓冲或无缓冲)、驱动方式(单作用或双作用)、润滑方式(给油或无给油)等来进行的。同时对一些低摩擦、低速、耐高温、磁性气缸(是否具备位置检测功能)及带阀气缸等均作为新产品来归类 |
||
|
表1 主要气动执行组件的说明 |
||
|
结 构 图 |
说 明 |
|
|
(a)直线驱动器与直线驱动器的组合 |
(b)直线驱动器与长行程滑块驱动 |
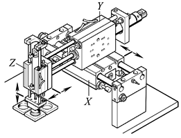
随着气动技术的发展和标准化的深入,一个普通双作用气缸(在外部连接尺寸没有变化的情况下)均可派生(如图e所示):耐高温、耐低温、耐腐蚀、低摩擦、低速、不含铜及PTFE材质气缸(适用某些特殊电子行业场合)、倍力、多位置、活塞杆锁紧(气缸长度有些增加)、防下坠(气缸长度有些增加)、带阀及现场总线接口等一系列特性气缸。气动执行元件向模块化的发展已成为一种趋势(见图a、图b、图c),这是现代自动化生产对市场快速反应的一种迫切需求。商品生产厂家需要在最短的时间内,针对不同的批量、尺寸、型号的商品能方便地改动或重新设置某些模块化的驱动部件,即能快速地投入生产,不用技术设计人员重新设计、制造。如图d所示,选用一个滑块式驱动器(滑块运动)、双活塞气缸、叶片式气缸和两个橡胶膜片气缸便可组成模块化的自动化驱动系统,完成两条流水线中的工件搬运工作。因此,设计人员所关心的是如何方便地选择现成已优化的气动机构 目前,气动执行组件可分为普通气缸和导向驱动装置。普通气缸需设计人员重新设计辅助导向机构。导向驱动装置(包括直线导向单元及模块化导向系统装置)则已内置了高精度导轨,大大强化了气缸径向承载和抗扭转的能力,设计人员不必再为自动流水线专门设计气缸的辅助导向机构及一系列与驱动有关的零部件(甚至于包括安装连接部件)。下表2反映了普通气缸、高精度导杆气缸、直线驱动器、双活塞驱动器或直线坐标气缸不同的许用径向力F、许用扭矩M,而设计人员只需要去查找产品样本中驱动器允许的推力、某行程下的许用径向力F、许用扭矩M等数据,分析是否能满足实际工况要求(见图e、图f、图g、图h、图i)。如满足条件可直接选用,极大缩短了设计人员在自动流水线设计制造、调试及加工的周期,既保证了市场需求,方便生产厂商,也大大降低了安装、转换生产和维修所花费的时间、费用,并确保生产质量通常直线导向驱动单元是指单轴的导向机构。如:配普通气缸的导向装置、导杆止动气缸、高精度导杆气缸(见图f)、小型短行程驱动器或带导轨的无杆气缸等。它也可组成模块化结构,如图a所示的直线驱动器与直线驱动器的组合 模块化导向系统装置分为模块化驱动单元以及气动机械手。通常从一开始设计时,便体现从系列化、自身系列的模块化及与其他执行驱动器相容的模块化设计思想 模块化驱动单元不仅可用于单轴的导向机构,更主要的功能则可组成X-Y二轴(见图a)或X-Y-Z三轴运动机构(图b、图c、图d) |
|
(c)直线驱动器与滑块驱动器组合 |
(d)滑块驱动器与双活塞气缸等组合 |
|
|
(e)普通气缸 |
(f)高精度导杆气缸 |
|
|
(g)直线驱动器 |
(h)双活塞驱动器
(i)直线坐标气缸 |
|
|
表2 主要气缸和驱动器的许用径向负载及许用扭矩 |
||||
|
名 称 |
(推力/拉力)/N |
许用径向负载/N |
扭矩/N·m |
重复精度/mm |
|
普通气缸DNC-32-100 |
483/415 |
35 |
0.85 |
±0.1 |
|
高精度导杆气缸DFP-32-100 |
483/365 |
45 |
8.5 |
±0.05 |
|
直线驱动器SLE-32-100 |
483/415 |
140 |
5.7 |
±0.05 |
|
双活塞驱动器DPZ-32-100 |
966/724 |
42 105(双出杆) |
1.3 3.0(双出杆) |
±0.05 |
|
直线坐标气缸HMP-32-100 |
483/415 |
500 |
50 |
±0.01 |









