|
溢流阀 |
|||
|
(1) 溢流阀的功能 溢流阀的作用是当压力上升到超过设定值时,把超过设定值的压缩空气排入大气,以保持进口压力的设定值。因此溢流阀也称安全阀。溢流阀除用在储气罐上起安全保护作用外,也可装在气缸操作回路中起溢流作用。所以溢流阀是防止储气罐或气动装置及回路过载的安全保护装置 |
|||
|
(2) 溢流阀的分类、结构及工作原理 ① 溢流阀的分类
溢流阀的分类 |
|||
|
② 溢流阀的结构、工作原理及选用 |
|||
|
溢流阀结构、工作原理及选用 |
|||
|
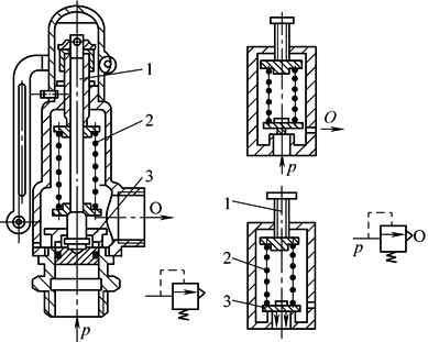
直动式溢流阀 |
活塞式溢流阀 |
|
1—调节手柄;2—调压弹簧; 3—活塞 |
|
活塞式溢流阀是直动式溢流结构,也被称为直动式安全阀,它是靠调节手柄来压缩调压弹簧,以调定溢流时所需的压力 此阀结构简单,但灵敏性稍差,常用于储气罐或管道上。当气动系统的气体压力在规定的范围内时,由于气压作用在活塞3上的力小于调压弹簧2的预压力,所以活塞处于关闭状态。当气动系统的压力升高,作用在活塞3上的力超过了弹簧的预压力时,活塞3就克服弹簧力向上移动,开启阀门排气,直到系统的压力降至规定压力以下时,阀重新关闭。开启压力大小靠调压弹簧的预压缩量来实现 一般一次侧压力比调定压力高3%~5%时,阀门开启,一次侧开始向二次侧溢流。此时的压力为开启压力。相反比溢流压力低10%时,就关闭阀门,此时的压力为关闭压力 |
|||
|
膜片式溢流阀 |
膜片式溢流阀是直动式溢流结构,也被称为直动式安全阀,它是靠调节螺钉压缩其弹簧,以调定溢流时所需的压力 膜片式溢流阀由于膜片的受压面积比阀芯的面积大得多,阀门的开启压力与关闭压力较接近,即压力特性好,动作灵敏,但最大开启量比较小,所以流量特性差 |
|
|
|
手拉式安全阀 |
手拉式安全阀是直动式溢流结构,也被称为直动式安全阀,它是靠人工直接手拉圆环释放压力 手拉式安全阀(亦称突开式安全阀),阀芯为球阀,钢球外径和阀体间略有间隙,若超过压力调定值,则钢球略微上浮,而受压面积相当于钢球直径所对应的圆面积。阀为突开式开启,故流量特性好。这种阀的关闭压力约为开启压力的一半,即p并/p阀≈1.9~2.0,所以溢流特性好。因此阀在迅速排气后,当回路压力稍低于调定压力时阀门便关闭。这种阀主要用于储气罐和重要的气路中 |
|
|
|
先导式安全阀 |
这是一种外部先导式溢流阀,安全阀的先导阀为减压阀,由减压阀减压后的空气从上部先导控制口进入,此压力称为先导压力,它作用于膜片上方所形成的力与进气口进入的空气压力作用于膜片下方所形成的力相平衡。这种结构型式的阀能在阀门开启和关闭过程中,使控制压力保持不变,即阀不会产生因阀的开度引起的设定压力的变化,所以阀的流量特性好。先导式溢流阀适用于管道通径大及远距离控制的场合 |
先导式溢流阀 1—先导控制口;2—膜片; 3—排气口;4—进气口 |
|
|
选用 |
(1)根据需要的溢流量来选择溢流阀的通径 (2)对溢流阀来说,希望气动回路刚一超过调定压力,阀门便立即排气,而一旦压力稍低于调定压力便能立即关闭阀门。这种从阀门打开到关闭的过程中,气动回路中的压力变化越小,溢流特性越好。在一般情况下,应选用调定压力接近最高使用压力的溢流阀 (3)如果管径大(如通径15mm以上)并远距离操作时,宜采用先导式溢流阀 |
||





