|
MYT2型推动器 |
|||||||||||||||||||||
|
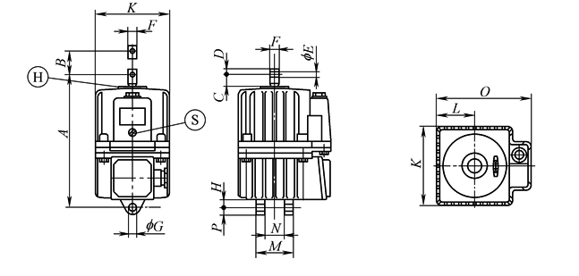
H—上升阀 S—下降阀 |
|||||||||||||||||||||
|
推动器型号 |
额定推力 /N |
额定行程 /mm |
额定电流 /A |
额定电压/V |
最大操作频率 /次·h-1 |
质量 /kg |
可直接互换(取代) 的老产品 |
||||||||||||||
|
50Hz |
60Hz |
||||||||||||||||||||
|
MYT2-10/2.5 |
100 |
25 |
0.20 |
380~400V |
440~460V |
2000 |
6 |
(M)YT1-18Z/2 |
|||||||||||||
|
MYT2-25/4 |
250 |
40 |
0.50 |
380~400V |
440~460V |
2000 |
14 |
(M)YT1-25ZB/4 |
|||||||||||||
|
MYT2-25/5 |
250 |
50 |
14.5 |
(M)YT1-25ZC/4 |
|||||||||||||||||
|
MYT2-50/6 |
500 |
60 |
0.50 |
380~400V |
440~460V |
2000 |
25 |
(M)YT1-45Z/5/6 |
|||||||||||||
|
MYT2-100/6 |
1000 |
60 |
1.20 |
380~400V |
440~460V |
2000 |
32 |
(M)YT1-90Z/6/8 |
|||||||||||||
|
MYT2-125/6 |
1250 |
60 |
1.20 |
380~400V |
440~460V |
2000 |
49 |
|
|||||||||||||
|
MYT2-125/10 |
1250 |
100 |
1200 |
50 |
(M)YT1-125Z/10 |
||||||||||||||||
|
MYT2-200/6 |
2000 |
60 |
1.30 |
380~400V |
440~460V |
1500 |
56 |
|
|||||||||||||
|
MYT2-200/12 |
120 |
900 |
60 |
(M)YT1-180Z/8~12 |
|||||||||||||||||
|
MYT2-300/6 |
3000 |
60 |
1.40 |
380~400V |
440~460V |
1500 |
58 |
|
|||||||||||||
|
MYT2-300/12 |
120 |
900 |
62 |
(M)YT1-320Z/12 |
|||||||||||||||||
|
推动器型号 |
安装及外形尺寸/mm |
||||||||||||||||||||
|
A |
B |
C |
D |
E |
F |
G |
H |
K |
L |
M |
N |
O |
P |
V |
|||||||
|
MYT2-10/2.5 |
250 |
25 |
20 |
12 |
12 |
20 |
12 |
18 |
130 |
65 |
70 |
40 |
154 |
14 |
|
||||||
|
MYT2-25/4 |
360 |
40 |
34 |
15 |
12 |
25 |
16 |
20 |
160 |
80 |
80 |
40 |
197 |
16 |
|
||||||
|
MYT2-25/5 |
370 |
50 |
14 |
|
|||||||||||||||||
|
MYT2-50/6 |
460 |
60 |
36 |
18 |
16 |
30 |
20 |
47 |
195 |
97 |
94 |
47 |
254 |
22 |
|
||||||
|
MYT2-100/6 |
570 |
60 |
36 |
18 |
20 |
30 |
|
100 |
195 |
97 |
110 |
60 |
254 |
22 |
|
||||||
|
MYT2-125/6 |
645 |
60 |
38 |
25 |
20 |
40 |
25 |
35 |
240 |
112 |
90 |
40 |
260 |
25 |
130 |
||||||
|
MYT2-125/10 |
690 |
100 |
80 |
190 |
|||||||||||||||||
|
MYT2-200/6 |
690 |
60 |
38 |
25 |
25 |
40 |
30 |
80 |
240 |
112 |
135 |
85 |
260 |
25 |
130 |
||||||
|
MYT2-200/12 |
765 |
120 |
95 |
170 |
190 |
||||||||||||||||
|
MYT2-300/6 |
690 |
60 |
38 |
25 |
25 |
40 |
30 |
80 |
240 |
112 |
135 |
85 |
260 |
25 |
130 |
||||||
|
MYT2-300/12 |
815 |
120 |
35 |
35 |
145 |
190 |
100 |
190 |
|||||||||||||
|
注:1.MYT2系列连接尺寸符合Q/ZB 120标准,可取代(M)YT1系列老产品。 2.制动弹簧力为推动器推杆推起1/3额定行程时的力。 |
|||||||||||||||||||||

