|
Ed型(YTD型)推动器 |
||||||||||||||||||||||||||||||||||||||||||||||
|
剖视图
|
安装方式
|
|||||||||||||||||||||||||||||||||||||||||||||
|
使用条件: 1.环境温度:-20~50℃使用DB-25液压油,低于-20℃时用YH-10航空液压油,可不装加热器;用DB-25液压油,必须装有加热器。 2.工作制:连续工作S1,断续工作S3(FC60%)。 3.电压和频率:三相交流380V/50(60)Hz。 4.三相交流异步式电动机:技术数据符合GB 755—2000绝缘等级:F级。 5.电缆:电缆进线管口M30×1.5,导线截面最大可达4×2.5mm2。 |
安装方式及说明: 1.垂直安装:活塞杆连接块朝上 2.水平安装和中间任意位置:主参数标牌朝上,如上图(但Ed630/12仅用于垂直安装) 3.说明:所有推动器的推杆连结块都可以旋转;Ed50-Ed301固定座可作90°旋转,Ed23和Ed30的固定座可提供90°旋转(订货时说明);无论何种安装位置,活塞杆都不能承受径向力。 |
|||||||||||||||||||||||||||||||||||||||||||||
|
表1 Ed型推动器技术参数 |
||||||||||||||||||||||||||||||||||||||||||||||
|
型 号 |
额定推力 /N |
额定行程 /mm |
制动弹簧力 /N |
额定频率 /Hz |
输入功率 /W |
额定电压 /V |
额定电流 /A |
最大工作频率 /(次·h-1) |
质 量 /kg |
|||||||||||||||||||||||||||||||||||||
|
短行程推动器 |
Ed23/5 |
220 |
50 |
180 |
50 |
165 |
380 |
0.52 |
2000 |
10 |
||||||||||||||||||||||||||||||||||||
|
Ed30/5 |
300 |
50 |
270 |
50 |
200 |
380 |
0.46 |
2000 |
14 |
|||||||||||||||||||||||||||||||||||||
|
Ed50/6 |
500 |
60 |
460 |
50 |
210 |
380 |
0.48 |
2000 |
21 |
|||||||||||||||||||||||||||||||||||||
|
Ed/80/6 |
800 |
60 |
750 |
50 |
330 |
380 |
1.42 |
2000 |
24 |
|||||||||||||||||||||||||||||||||||||
|
Ed121/6 |
1250 |
60 |
1200 |
50 |
330 |
380 |
1.44 |
2000 |
39 |
|||||||||||||||||||||||||||||||||||||
|
Ed201/6 |
2000 |
60 |
1900 |
50 |
450 |
380 |
1.45 |
2000 |
39 |
|||||||||||||||||||||||||||||||||||||
|
Ed301/6 |
3000 |
60 |
2700 |
50 |
550 |
380 |
1.46 |
1500 |
40 |
|||||||||||||||||||||||||||||||||||||
|
长行程推动器 |
Ed50/12 |
500 |
120 |
|
50 |
210 |
380 |
0.48 |
1200 |
26 |
||||||||||||||||||||||||||||||||||||
|
Ed80/12 |
800 |
120 |
|
50 |
330 |
380 |
1.42 |
1200 |
27 |
|||||||||||||||||||||||||||||||||||||
|
Ed121/12 |
1250 |
120 |
|
50 |
330 |
380 |
1.44 |
1200 |
39 |
|||||||||||||||||||||||||||||||||||||
|
Ed201/12 |
2000 |
120 |
|
50 |
450 |
380 |
1.45 |
1200 |
39 |
|||||||||||||||||||||||||||||||||||||
|
Ed301/12 |
3000 |
120 |
|
50 |
550 |
380 |
1.46 |
900 |
40 |
|||||||||||||||||||||||||||||||||||||
|
Ed630/12 |
6300 |
120 |
|
50 |
1100 |
380 |
2.4 |
630 |
|
|||||||||||||||||||||||||||||||||||||
|
注:1.型号意义:
2.附加装置说明:①可同时设置上、下限位开关,上限位开关可指示制动器是否正常打开,下限位开关可指示制动器是否正常闭合。②上升、下降或上升下降延时阀,可使动作延时,可在额定动作时间至30s内进行调定,装有延时阀的推动器,当阀全开时,其上升下降时间将有所延长,短行程延长0.1~0.2s,长行程延长0.2~0.4s。③短行程推动器可设置制动弹簧C或复位弹簧W和缓冲弹簧d。表中所列制动弹簧C的弹簧力为上升行程1/3时的弹簧力。复位弹簧W工作原理同弹簧C但弹簧力较小。缓冲弹簧d可使制动平稳,它安装在活塞杆上(代替推杆连接块),安装弹簧d的推动器不能安行程开关。④加热器分AC110V或AC220V两种电压,订货时应注明,温度的控制方法用户选择,接线盒进线口为M22×1.5。⑤行程开关分机械式与感应式,用户自己选择。⑥可采用快速下降电路,通过电机加电容,可使下降时间缩短15%,用户自己设置。 3.本表摘自焦作制动器有限公司的样本。该公司还生产Ed2型、YTD6型推动器,规格多少不尽相同,但他们的相应规格的基本性能与安装尺寸完全互换。各厂生产的Ed型和YTD型同规格时,参数和尺寸基本相同,Ed型符合德国标准DIN 15430,Ed2、YTD6型符合JB/T 6406.3—1992标准但不具备Ed型的附加功能。该公司还生产Ed隔爆型,适用于煤矿井下及ⅡA、ⅡB温度组别为T1~T4组可燃气体与空气形成的爆炸性场所。 4.上海振华港机丰城制动器分公司也生产Ed型、YTD型推动器,基本性能及安装尺寸与焦作公司生产的相同,该公司还生产MYT2型推动器,连接尺寸符合Q/ZB 120标准,可取代(M)YT1型老产品。天水长城控制电器厂生产MYT型推动器,符合JB/T 6452和德国DIN 15430标准。上海伯瑞制动器有限公司(原上海奉城制动器厂),也生产Ed型、YTD型推动器。各厂家产品性能与尺寸有可能不尽相同,选用时应与各厂家联系。 |
||||||||||||||||||||||||||||||||||||||||||||||
|
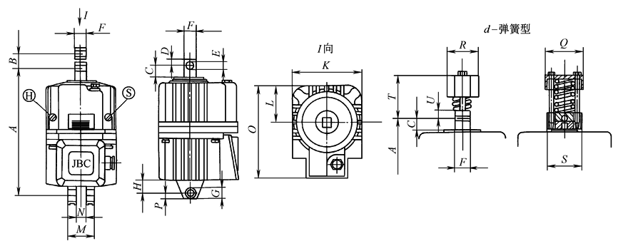
表2 Ed型系列尺寸(一) mm |
||||||||||||||||||||||||||||||||||||||||||||||
|
H—上升阀 S—下降阀 |
||||||||||||||||||||||||||||||||||||||||||||||
|
型 号 |
A |
B |
C |
D |
|
F |
|
H |
K |
L |
M |
N |
O |
P |
Q |
R |
S |
T |
U |
|||||||||||||||||||||||||||
|
Ed23/5 |
286 |
50 |
26 |
12 |
12 |
20 |
16 |
20 |
60 |
80 |
80 |
40 |
200 |
16 |
85 |
55 |
75 |
100 |
20 |
|||||||||||||||||||||||||||
|
Ed30/5 |
370 |
50 |
34 |
15 |
16 |
25 |
16 |
18 |
160 |
80 |
80 |
40 |
197 |
16 |
85 |
55 |
75 |
100 |
20 |
|||||||||||||||||||||||||||
|
Ed50/6 |
435 |
60 |
36 |
18 |
20 |
30 |
20 |
23 |
195 |
97 |
120 |
60 |
254 |
22 |
85 |
55 |
75 |
100 |
20 |
|||||||||||||||||||||||||||
|
Ed80/6 |
450 |
60 |
36 |
18 |
20 |
30 |
20 |
23 |
195 |
97 |
120 |
60 |
254 |
22 |
85 |
55 |
75 |
100 |
20 |
|||||||||||||||||||||||||||
|
Ed50/12 |
515 |
120 |
36 |
18 |
20 |
30 |
20 |
23 |
195 |
97 |
120 |
60 |
254 |
22 |
|
|
|
|
|
|||||||||||||||||||||||||||
|
Ed80/12 |
530 |
120 |
36 |
18 |
20 |
30 |
20 |
23 |
195 |
97 |
120 |
60 |
254 |
22 |
|
|
|
|
|
|||||||||||||||||||||||||||
|
表3 Ed型系列尺寸(二) mm |
||||||||||||||||||||||||||||||||||||||||||||||
|
|
||||||||||||||||||||||||||||||||||||||||||||||
|
型 号 |
A |
B |
C |
D |
|
F |
|
H |
K |
L |
M |
N |
O |
P |
Q |
R |
S |
T |
U |
V |
W |
|||||||||||||||||||||||||
|
Ed121/6 |
645 |
60 |
38 |
25 |
25 |
40 |
25 |
35 |
240 |
112 |
90 |
40 |
260 |
25 |
130 |
80 |
120 |
147 |
35 |
20 |
130 |
|||||||||||||||||||||||||
|
Ed201/6 |
645 |
60 |
38 |
25 |
25 |
40 |
25 |
35 |
240 |
112 |
90 |
40 |
260 |
25 |
130 |
80 |
120 |
147 |
35 |
20 |
130 |
|||||||||||||||||||||||||
|
Ed301/6 |
645 |
120 |
38 |
25 |
25 |
40 |
25 |
35 |
240 |
112 |
90 |
40 |
260 |
25 |
130 |
80 |
120 |
147 |
35 |
20 |
130 |
|||||||||||||||||||||||||
|
Ed121/12 |
705 |
120 |
38 |
25 |
25 |
40 |
25 |
35 |
240 |
112 |
90 |
40 |
260 |
25 |
|
|
|
|
|
|
190 |
|||||||||||||||||||||||||
|
Ed201/12 |
705 |
120 |
38 |
25 |
25 |
40 |
25 |
35 |
240 |
112 |
90 |
40 |
260 |
25 |
|
|
|
|
|
|
190 |
|||||||||||||||||||||||||
|
Ed301/12 |
705 |
120 |
38 |
25 |
25 |
40 |
25 |
35 |
240 |
112 |
90 |
40 |
260 |
25 |
|
|
|
|
|
|
190 |
|||||||||||||||||||||||||
|
Ed630/12 |
865 |
120 |
38 |
25 |
25 |
40 |
25 |
|
240 |
112 |
90 |
40 |
260 |
25 |
|
|
|
|
|
|
|
|||||||||||||||||||||||||





