|
ASD系列V带轮钢砂式离心离合器(安全联轴器)(JB/T 5986—1992) |
|||||||||||
|
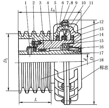
ASD 型 V 带轮钢砂式离心离合器 1—紧定螺钉;2,5,13—密封圈;3—滚针轴承;4—从动转子;6,12—壳体;7,11—螺栓; 8—螺母;9—钢砂;10—叶轮;14—滚动轴承;15—挡圈;16—内六角螺栓;17—主动轴套;18—V带轮 |
|||||||||||
|
型号 |
各种转速下的传递功率 /kW |
轴孔直径d (H7) |
D |
D1 |
L0 |
L |
许用转速 /r·min-1 |
||||
|
750 |
1000 |
1500 |
3000 |
||||||||
|
/r·min-1 |
mm |
铸铁 |
铸钢 |
||||||||
|
ASD2 |
0.2 |
0.48 |
1.1 |
4* |
19 |
160 |
118 |
99 |
50 |
2860 |
3820 |
|
20 |
|||||||||||
|
22 |
|||||||||||
|
24 |
|||||||||||
|
ASD3 |
0.5 |
1.3 |
3.5 |
8* |
24 |
194 |
140 |
141 |
63 |
2860 |
3820 |
|
25 |
|||||||||||
|
28 |
|||||||||||
|
ASD4 |
0.8 |
1.5 |
5.5 |
20* |
28 |
214 |
180 |
170 |
90 |
2600 |
3470 |
|
30 |
|||||||||||
|
32 |
|||||||||||
|
ASD5 |
2 |
3.7 |
10 |
28* |
32 |
242 |
180 |
190 |
105 |
2290 |
3060 |
|
35 |
|||||||||||
|
38 |
|||||||||||
|
40 |
|||||||||||
|
42 |
|||||||||||
|
ASD6 |
4 |
7.5 |
22 |
— |
42 |
290 |
200 |
215 |
117 |
1830 |
2240 |
|
45 |
|||||||||||
|
48 |
|||||||||||
|
50 |
|||||||||||
|
55 |
|||||||||||
|
ASD7 |
10 |
15 |
55 |
— |
55 |
340 |
236 |
250 |
135 |
1600 |
2140 |
|
56 |
|||||||||||
|
60 |
|||||||||||
|
63 |
|||||||||||
|
65 |
|||||||||||
|
ASD8 |
30 |
45 |
100 |
— |
65 |
432 |
250 |
245 |
145 |
1250 |
1600 |
|
70 |
|||||||||||
|
71 |
|||||||||||
|
75 |
|||||||||||
|
80 |
|||||||||||
|
85 |
|||||||||||
|
注:1.带*号的离合器材料为锻钢。 2.生产厂家为无锡第五机械制造公司。 |
|||||||||||

