|
AQ系列钢球式离心离合器(节能安全联轴器)(JB/T 5987—1992) |
||||||||||||||
|
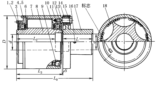
AQ 型钢球式离心离合器 1,2—螺栓;3,12—轴承盖;4,5,13—弹簧垫圈;6—端盖;7—壳体;8—转子; 9—沉头螺塞;10—密封圈;11—滚动轴承;14—弹性套;15—弹性柱销;16—定位螺钉;17—半联轴器;18—钢球 |
||||||||||||||
|
型号 |
各种转速下所 能传递的功率 /kW |
轴孔直径 d (H7) |
主动端 轴孔长度 |
从动端轴 孔长度 J1、Z1型 |
D |
L0 ≤ |
S |
许用转速 /r·min-1 |
||||||
|
600 |
750 |
1000 |
1500 |
3000 |
L2 |
L3 |
L |
|||||||
|
/r·min-1 |
mm |
铸铁 |
铸钢 |
|||||||||||
|
AQ1 |
— |
— |
— |
0.5 |
4 |
19 |
42 |
100 |
30 |
80 |
166 |
3~4 |
7160 |
9550 |
|
24 |
52 |
38 |
||||||||||||
|
28 |
62 |
44 |
||||||||||||
|
AQ2 |
— |
— |
— |
1 |
7.5 |
19 |
42 |
110 |
30 |
100 |
176 |
3~4 |
5730 |
7640 |
|
24 |
52 |
38 |
||||||||||||
|
28 |
62 |
44 |
||||||||||||
|
38 |
82 |
60 |
||||||||||||
|
AQ3 |
— |
— |
0.87 |
3 |
24 |
24 |
52 |
150 |
38 |
130 |
238 |
3~4 |
4410 |
5880 |
|
28 |
62 |
44 |
||||||||||||
|
38 |
82 |
60 |
||||||||||||
|
42 |
112 |
84 |
||||||||||||
|
45 |
||||||||||||||
|
AQ4 |
— |
— |
1.3 |
4.5 |
36 |
28 |
62 |
150 |
44 |
150 |
238 |
3~4 |
3820 |
5090 |
|
38 |
82 |
60 |
||||||||||||
|
42 |
112 |
84 |
||||||||||||
|
48 |
||||||||||||||
|
55 |
||||||||||||||
|
AQ5 |
— |
— |
3.6 |
12 |
96 |
38 |
82 |
150 |
60 |
180 |
262 |
4~5 |
3180 |
4240 |
|
42 |
112 |
84 |
||||||||||||
|
48 |
||||||||||||||
|
55 |
||||||||||||||
|
60 |
142 |
107 |
||||||||||||
|
65 |
||||||||||||||
|
AQ6 |
— |
2.53 |
6 |
20 |
162 |
38 |
82 |
150 |
60 |
200 |
262 |
4~5 |
2860 |
3820 |
|
42 |
112 |
84 |
||||||||||||
|
48 |
||||||||||||||
|
55 |
142 |
107 |
||||||||||||
|
60 |
||||||||||||||
|
65 |
||||||||||||||
|
70 |
||||||||||||||
|
AQ7 |
— |
65 |
14.6 |
49 |
393 |
42 |
112 |
210 |
84 |
220 |
322 |
4~5 |
2600 |
3470 |
|
48 |
||||||||||||||
|
55 |
||||||||||||||
|
60 |
142 |
107 |
||||||||||||
|
65 |
||||||||||||||
|
70 |
||||||||||||||
|
75 |
||||||||||||||
|
AQ8 |
— |
10 |
24 |
80 |
644 |
48 |
112 |
210 |
84 |
250 |
347 |
4~5 |
2290 |
3060 |
|
55 |
||||||||||||||
|
60 |
142 |
107 |
||||||||||||
|
65 |
||||||||||||||
|
70 |
||||||||||||||
|
75 |
||||||||||||||
|
80 |
172 |
132 |
||||||||||||
|
85 |
||||||||||||||
|
AQ9 |
— |
21 |
77 |
173 |
1380 |
60 |
142 |
250 |
107 |
280 |
387 |
4~5 |
2140 |
2850 |
|
65 |
||||||||||||||
|
70 |
||||||||||||||
|
75 |
||||||||||||||
|
90 |
172 |
132 |
||||||||||||
|
95 |
||||||||||||||
|
AQ10 |
— |
25 |
60 |
200 |
1600* |
60 |
142 |
250 |
107 |
300 |
423 |
5~6 |
1830 |
2240 |
|
65 |
||||||||||||||
|
70 |
||||||||||||||
|
75 |
||||||||||||||
|
80 |
172 |
132 |
||||||||||||
|
85 |
||||||||||||||
|
90 |
||||||||||||||
|
100 |
212 |
167 |
||||||||||||
|
AQ11 |
23 |
46 |
110 |
360 |
— |
75 |
142 |
250 |
107 |
350 |
423 |
5~6 |
1600 |
2140 |
|
80 |
172 |
132 |
||||||||||||
|
85 |
||||||||||||||
|
90 |
||||||||||||||
|
100 |
212 |
167 |
||||||||||||
|
110 |
||||||||||||||
|
AQ12 |
45 |
95 |
240 |
830 |
— |
80 |
172 |
300 |
132 |
400 |
508 |
5~6 |
1400 |
1870 |
|
85 |
||||||||||||||
|
90 |
||||||||||||||
|
100 |
212 |
167 |
||||||||||||
|
110 |
||||||||||||||
|
120 |
||||||||||||||
|
125 |
||||||||||||||
|
130 |
252 |
202 |
||||||||||||
|
AQ13 |
58 |
113 |
267 |
902 |
— |
80 |
172 |
300 |
132 |
450 |
508 |
5~6 |
1250 |
1660 |
|
85 |
||||||||||||||
|
90 |
||||||||||||||
|
95 |
||||||||||||||
|
100 |
212 |
167 |
||||||||||||
|
110 |
||||||||||||||
|
120 |
||||||||||||||
|
125 |
||||||||||||||
|
130 |
252 |
202 |
||||||||||||
|
140 |
||||||||||||||
|
150 |
||||||||||||||
|
AQ14 |
126 |
247 |
585 |
1975 |
— |
90 |
172 |
350 |
132 |
500 |
600 |
6~8 |
1020 |
1360 |
|
95 |
||||||||||||||
|
100 |
212 |
167 |
||||||||||||
|
110 |
||||||||||||||
|
120 |
||||||||||||||
|
125 |
||||||||||||||
|
130 |
252 |
202 |
||||||||||||
|
140 |
||||||||||||||
|
150 |
||||||||||||||
|
160 |
302 |
242 |
||||||||||||
|
170 |
||||||||||||||
|
AQ15 |
296 |
585 |
1372 |
4632* |
— |
110 |
212 |
450 |
167 |
550 |
700 |
6~8 |
1020 |
1360 |
|
120 |
||||||||||||||
|
125 |
||||||||||||||
|
130 |
252 |
202 |
||||||||||||
|
140 |
||||||||||||||
|
150 |
||||||||||||||
|
160 |
302 |
242 |
||||||||||||
|
170 |
||||||||||||||
|
180 |
||||||||||||||
|
AQ16 |
355 |
694 |
1645 |
5550* |
— |
125 |
212 |
450 |
167 |
600 |
740 |
6~8 |
940 |
1250 |
|
130 |
252 |
202 |
||||||||||||
|
140 |
||||||||||||||
|
150 |
||||||||||||||
|
160 |
302 |
242 |
||||||||||||
|
170 |
||||||||||||||
|
180 |
||||||||||||||
|
190 |
352 |
282 |
||||||||||||
|
200 |
||||||||||||||
|
AQ17 |
630 |
1230* |
2916* |
— |
— |
140 |
252 |
500 |
202 |
650 |
792 |
8~10 |
860 |
1150 |
|
150 |
||||||||||||||
|
160 |
302 |
242 |
||||||||||||
|
170 |
||||||||||||||
|
180 |
||||||||||||||
|
190 |
352 |
282 |
||||||||||||
|
200 |
||||||||||||||
|
220 |
||||||||||||||
|
注:1.表中带*号的离合器材料为锻钢。 2.生产厂家为无锡第五机械制造公司。 |
||||||||||||||

