|
离心离合器的特点、型式与与应用 |
||||
|
(1) 离心离合器的一般特点 ① 接合过程中对原动机逐渐加载,启动平稳。适用于启动不频繁,从动部分惯量大,易造成原动机过载的工况。 ② 接合过程中,主、从动件间有速度差,是摩擦打滑过程,在主、从动件未达到同步之前,伴有摩擦发热和磨损。一般打滑时间不宜过长,应限制在1~1.5min。 ③ 传递转矩与转速平方成正比,故不适用于低速和变速工况应用。 (2) 离心离合器的型式及特点 |
||||
|
离心离合器的型式及特点 |
||||
|
型 式 |
带弹簧闸块式 |
带弹簧楔块式 |
||
|
结构简图 |
|
|
||
|
特 点 |
离心体是闸块,起动开始靠弹簧作用,闸块不与壳体接触。当主动轴达到预定转速时,离心力超过弹簧力,闸块开始与壳体逐步接合传递转矩。一般两者开始接合时的转速为正常转速的70%~80% 离合器在接合过程中工作平稳,但闸块的重量较大 |
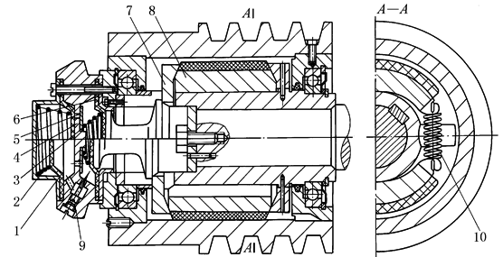
离心体2为楔块,楔块之间装有拉紧弹簧3,启动时主轴达到一定初速度,楔块撑开摩擦盘1使之与壳体压紧,传递转矩 |
||
|
型 式 |
液压调节带弹簧闸块式 |
钢珠离心式 |
||
|
结构简图 |
1—左隔膜;2—复位弹簧;3—弹簧;4—隔板;5—钢片; 6—右隔膜;7—压盘;8—离心闸块;9—节流阀;10—弹簧 |
1—壳体;2—钢珠;3—叶片 |
||
|
特 点 |
可以通过液压系统来控制离合器的接合速度 |
离心体为钢珠或钢柱。接合性能好,所传递的转矩大小,可以通过钢珠的数量调节 结构简单,制造比较容易。钢珠直径4~6mm,体积占总容量的85%~90%,叶片数量1~6片,叶片外径与壳体内径间隙0.5~1mm |
||
|
型 式 |
自 由 闸 块 式 |
|||
|
结构简图及特点 |
1—V带轮;2—离心块;3—十字轴;4—轴承;5—摩擦带 |
离合器无弹簧,从启动开始闸块就边滑磨边接合,压向离合器壳体,直到完全接合。其接合性能稍差 结构简单,闸块轻,应用较广泛 |
||





