|
气压离合元件的安装示例 |
|||
|
图 例 |
说 明 |
图 例 |
说 明 |
|
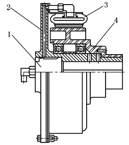
1—法兰;2—离合器;3—摩擦轮鼓; 4—轮鼓轴套;5—进气旋转接头 |
本图表示主、从动轴端间有一定距离的安装方式,离合器2安装在法兰1上,法兰安装在主动轴上,摩擦轮鼓3通过轮鼓轴套4安装在从动轴上。这种方式,在拆卸离合器与轮鼓时不必移动主、从动轴 |
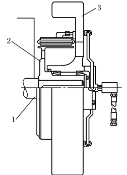
1—进气旋转接头;2—法兰; 3—离合器;4—轮鼓 |
本图表示滑轮与离合器的安装方式,该离合器包括一个内置进气旋转接头1和密封滚珠轴承。可用于多种型号滑轮 |
|
|
这是当主、从动轴端间的间隙有限时的安装方式,拆卸时要移动主、从动轴 |
|
离合器装在法兰上,与驱动机主轴相连,轮鼓装在飞轮或大齿轮上 |
|
|
本图表示CB离合元件用于制动的安装方式,离合元件的外法兰与固定支架连接时,离合器就是制动器 |
1—冲压设备的曲轴; 2—离合器轮鼓与轴套;3—飞轮或大齿轮 |
本图表示冲压设备的离合器的安装方式。轮鼓和轴套安装在冲压设备的曲轴上,离合器安装在飞轮或大齿轮上 |






