|
FL-K型空心轴磁粉离合器 |
|||||||||||||||||||||||
|
|
|||||||||||||||||||||||
|
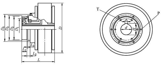
FL-K型空心轴磁粉离合器外形的尺寸及性能 |
|||||||||||||||||||||||
|
尺寸 /mm |
代号 型号 |
L |
L1 |
L2 |
L3 |
D |
D1 |
D2 |
D3 |
D4 |
P |
T |
孔 |
||||||||||
|
直径 |
数量 |
深度 |
直径 |
数量 |
深度 |
H ( |
b |
d (H7) |
|||||||||||||||
|
FL25K |
120 |
20 |
14 |
4 |
182 |
71 |
80 |
82 |
91 |
M6 |
6 |
8 |
M5 |
6 |
10 |
28.3 |
8 |
25 |
|||||
|
FL50K |
142 |
22 |
14 |
2 |
218 |
85 |
95 |
97 |
110 |
M6 |
6 |
12 |
M6 |
6 |
15 |
33.3 |
8 |
30 |
|||||
|
FL100K |
176 |
25 |
18 |
3 |
290 |
105 |
125 |
128 |
145 |
M8 |
6 |
12 |
M8 |
6 |
20 |
38.3 |
10 |
35 |
|||||
|
FL200K |
200 |
28 |
22 |
5 |
335 |
125 |
140 |
145 |
165 |
M10 |
6 |
20 |
M8 |
6 |
20 |
48.8 |
14 |
45 |
|||||
|
性能 |
型号 |
额定转矩 /N·m |
线圈(75℃) |
允许滑差功率 /W 100~1000r/min |
允许转速 /r·min-1 |
磁粉质量 /g |
|||||||||||||||||
|
电流 /A |
功率 /W |
阻抗 /Ω |
|||||||||||||||||||||
|
FL-25K |
25 |
1.9 |
45.6 |
12.63 |
150~230 |
1500 |
27 |
||||||||||||||||
|
FL-50K |
50 |
1.6 |
38.4 |
15 |
180~250 |
1500 |
46 |
||||||||||||||||
|
FL-100K |
100 |
2.3 |
55.2 |
10.43 |
230~350 |
1500 |
95 |
||||||||||||||||
|
FL-200K |
200 |
2.6 |
62.4 |
9.23 |
400~600 |
1500 |
170 |
||||||||||||||||
|
注:生产厂家为山东莱州市磁粉离合器厂,电话0535-2754132;北京古德高机电技术有限公司,电话010-85372140。 |
|||||||||||||||||||||||

