|
DLM、DLY、DLZ系列电磁离合器用电刷 |
|||||||||||||||||
|
|
|||||||||||||||||
|
电刷型号 |
电流 /A |
工作条件 |
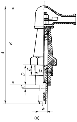
电刷头尺寸 /mm |
外 形 尺 寸 /mm |
示图 |
适用产品举例 |
|||||||||||
|
A |
B |
C |
D |
E |
G |
||||||||||||
|
DS-001 |
4 |
湿式 |
f 8 |
<100 |
78 |
3.5 |
19.5 |
10.5 |
M18×1.5 |
图a |
DLM0 DLM5(C)DLY0~25以上,DLM5~10以上 |
||||||
|
DS-002 |
3 |
湿式 |
f 6 |
<70 |
56 |
4 |
10 |
8 |
M16×1 |
图a |
DLY0~25以下, DLM5~10以下 |
||||||
|
DS-003 |
4 |
干式 |
f 8 |
<100 |
78 |
3.5 |
19.5 |
10.5 |
M18×1.5 |
图a |
DLM2 |
||||||
|
DS-004 |
4 |
湿式 |
f 8 |
<143 |
118 |
3 |
43 |
8 |
M18×1.5 |
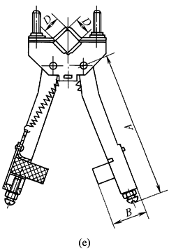
图c |
特殊订货 |
||||||
|
DS-005 |
3 |
湿式 |
f 6 |
<80 |
65 |
3 |
11 |
8 |
M18×1.5 |
图b |
DLM10A(EKE S) DLY5(EZE) |
||||||
|
DS-006 |
3 |
干式 |
f 6 |
<80 |
65 |
3 |
11 |
8 |
M18×1.5 |
图b |
DLM10A·G(EKE T) DLY5(EZE) |
||||||
|
DS-007 |
4 |
湿式 |
f 8 |
<110 |
90 |
3 |
22 |
8 |
M18×1.5 |
图c |
特殊订货 |
||||||
|
DS-008 |
10 |
湿式 |
6×10 |
42 |
16 |
|
10 |
15 |
|
图d |
特殊订货 |
||||||
|
DS-009 |
10 |
干式 |
8×10 |
80 |
20 |
|
10 |
15 |
|
图d |
特殊订货 |
||||||
|
DS-010 |
10 |
干式 |
8×12.5 |
112 |
26 |
|
17 |
|
|
图e |
DLD1 DLT1 DLZ1 |
||||||
|
电刷型号 |
DS-001 |
DS-002 |
DS-003 |
DS-004 |
DS-005 |
DS-006 |
DS-007 |
||||||||||
|
L/mm |
23 |
14 |
23 |
57 |
22 |
22 |
33 |
||||||||||
|
注:1.电刷为有滑环(线圈旋转)型电磁离合器用以接通电源,将电流引入线圈使离合器可靠运行。 2.电刷分湿式和干式两种,其中又分单头和双头(图e、图f)。湿式电刷头由磷铜丝网卷制而成,使用压力较大,干式电刷头由石墨和铜混合材料制成,使用压力较小。 3.安装单头电刷时,其中心线应垂直于接触点处离合器滑环外圆的切线,并通过离合器的中心,且相对于滑环的径向和轴向的倾斜度不大于2°(图h) 4.安装双头电刷时,电刷头长度方向的中心线应与离合器滑环外圆的切线垂直(图g)。 5.单滑环离合器,应将电源的正极接于电刷上。 6.使用双头电刷时,应将电刷安置于绝缘棒或带有绝缘层的金属棒上,且两电刷之间也须绝缘以免电源短路。 |
|||||||||||||||||








