|
磁粉离合器的原理及特性 |
|||
|
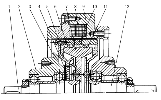
(1) 磁粉离合器的结构和工作原理 磁粉离合器是以磁粉为介质,借助磁粉间的结合力和磁粉与工作面间的摩擦力传递转矩的离合器。下图为无滑环磁粉离合器。从动转子7与从动轴1相连,以滚珠轴承支承回转。主动轴12与主动转子11相连一起回转。主动转子上嵌有激磁线圈8,在主动转子与从动转子间充填磁粉。当线圈8通电时,产生垂直于间隙的磁通,使松散的粉粒磁化结成磁粉链,产生磁连接力,并借助主、从动件与磁粉向摩擦力将动力传给从动件。断电后,磁粉恢复松散状态,并在离心力作用下,使磁粉贴靠主动转子内壁而与从动转子脱离,离合器脱开。 磁粉离合器主要用于接合频率高,要求接合平稳,需调节启动时间,自动调节转矩、转速或保持恒转矩运转,需过载保护的传动系统。离合器的工作条件:环境温度-5~40℃,空气最大相对湿度90%(平均温度为25℃时),海拔高度不超过2500m,周围介质无爆炸危险、无腐蚀、无油雾的场合。 |
|||
|
无滑环磁粉离合器 1—从动轴;2—从动轴支承盖;3—风扇;4—密封圈; 5—转子端盖;6—磁粉;7—从动转子;8—线圈;9—定 子;10—隔磁环;11—主动转子;12—主动轴 |
|||
|
(2) 磁粉离合器的工作特性及特点 |
|||
|
磁粉离合器的工作特性 |
|||
|
特性内容 |
特性曲线 |
说明 |
|
|
静特性—— 主动侧转速为常数,从动侧被制动时,激磁电流与转矩的关系 |
|
主动件转速n1=常数 从动件转速n2=0 I——激磁电流 T——负载转矩 |
除弱激磁的非线性区和强激磁的饱和区外,其余区基本上为线性区,但由于磁性材料有剩磁,断电后,有微小的空转转矩,从图可知磁滞回路线的宽度对公称转矩影响较小,即离合器有较宽的转矩线性调节范围 从图中可以看出,改变激磁电流可以控制转矩,且调节范围宽 |
|
力学特性—— 主动侧转速和激磁电流为常数时,从动侧转速和所能传递转矩的关系 |
|
主动件转速n1=常数 激磁电流I=常数 |
当负载转矩小于某一Tb值,主、从动侧同步转动;当负载转矩在Tb与Tc之间,离合器在有滑差下工作;当负载转矩大于Tc时,从动侧转速为零,离合器处于制动状态。此图表明在一定的范围内,从动侧转速不随转矩而变 |
|
调节特性—— 主动侧转速和传递转矩为常数时,从动侧转速与激磁电流之间的关系 |
|
主动件转速n1=常数 负载转矩T=常数 |
当激磁电流小于Ia时,从动侧不动,转速为零;当激磁电流大于Ia时,离合器从动侧开始转动,但有滑差;当激磁电流大于Ib时,离合器的主、从动侧同步转动。即表明从动侧的转速可调,但调节范围不大 |
|
动特性—— 主动侧转速和传递转矩为常数时,从动侧激磁电流、转速和转矩与时间的关系 |
|
t——时间 |
在激磁线圈中加上电压后,电流逐渐增加至一额定值,但力矩要经过响应时间td后才开始上升,而从动侧的转速n2则还要再经过一段时间才开始转动 |
|
磁粉离合器的特点如下。 ① 转矩与激磁电流呈线性关系,转矩调节范围广,精度高;传递转矩仅与激磁电流有关,转速改变时传递转矩基本不变; ② 可在主、从动件同步或稍有转速差下工作,过载打滑,有保护作用; ③ 接合平稳,响应快,易于实现自控和远控,控制功率小,且传递转矩大; ④ 从动部分转动惯量小,结构简单,噪声低。 |
|||





