|
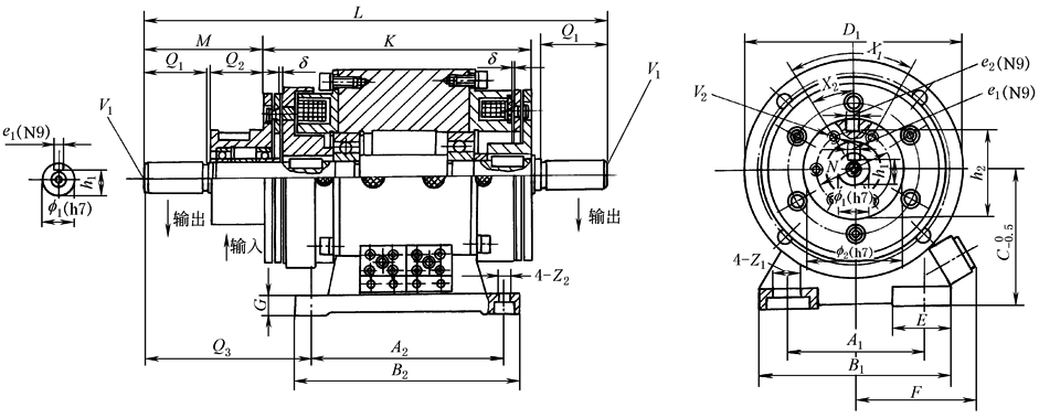
DLZ5系列电磁离合制动器 |
||||||||||||||||||||||||||||||||
|
|
||||||||||||||||||||||||||||||||
|
规 格 |
额定动转矩/N·m |
静转矩/N·m |
额定电压 (DC)/V |
线圈消耗功率(20℃)/W |
允许最高 转速 /r·min-1 |
|||||||||||||||||||||||||||
|
离合器 |
制动器 |
离合器 |
制动器 |
离合器 |
制动器 |
|||||||||||||||||||||||||||
|
1 |
10 |
10 |
11 |
11 |
24 |
16 |
16 |
4000 |
||||||||||||||||||||||||
|
8 |
80 |
80 |
90 |
90 |
36 |
38 |
3000 |
|||||||||||||||||||||||||
|
25 |
250 |
250 |
275 |
275 |
50 |
49 |
2000 |
|||||||||||||||||||||||||
|
规 格 |
A1 |
A2 |
B1 |
B2 |
C |
D1 |
E |
F |
G |
K |
L |
M |
N |
V1 |
V2 |
|||||||||||||||||
|
mm |
||||||||||||||||||||||||||||||||
|
1 |
65 |
90 |
90 |
105 |
65 |
100 |
27.5 |
58 |
10 |
126 |
217 |
57 |
37 |
M4深8 |
3-M4深6 |
|||||||||||||||||
|
8 |
135 |
160 |
175 |
185 |
112 |
190 |
42 |
97 |
15 |
221 |
399 |
113 |
62 |
M6深11 |
6-M5深8 |
|||||||||||||||||
|
25 |
180 |
225 |
225 |
255 |
160 |
280 |
45 |
126 |
20 |
315 |
611 |
179 |
100 |
M10深17 |
6-M6深12 |
|||||||||||||||||
|
规 格 |
X1 |
X2 |
Z1 |
Z2 |
f1 |
f2 |
Q1 |
Q2 |
Q3 |
h1 |
h2 |
e1 |
e2 |
δ |
||||||||||||||||||
|
mm |
||||||||||||||||||||||||||||||||
|
1 |
3-120° |
60° |
13.5 |
6.5 |
14 |
45 |
30 |
25 |
78.5 |
|
|
5 |
5 |
0.2 |
||||||||||||||||||
|
8 |
6-60° |
30° |
24 |
11 |
28 |
75 |
60 |
50 |
149 |
|
|
8 |
8 |
0.3 |
||||||||||||||||||
|
25 |
6-60° |
30° |
28 |
14 |
42 |
110 |
110 |
65 |
231 |
|
|
12 |
16 |
0.5 |
||||||||||||||||||
|
注:生产厂家为天津机床电器有限公司。 |
||||||||||||||||||||||||||||||||

